20-F 1 tm206499d1_20f.htm FORM 20-F

 

 

 

UNITED STATES

 

SECURITIES AND EXCHANGE COMMISSION

 

WASHINGTON, D.C. 20549

 

 

FORM 20-F

 

 

¨ REGISTRATION STATEMENT PURSUANT TO SECTION 12(b) OR (g) OF THE SECURITIES EXCHANGE ACT OF 1934

 

OR

 

x ANNUAL REPORT PURSUANT TO SECTION 13 OR 15(d) OF THE SECURITIES EXCHANGE ACT OF 1934

 

For the fiscal year ended December 31, 2019

 

OR

 

¨ TRANSITION REPORT PURSUANT TO SECTION 13 OR 15(d) OF THE SECURITIES EXCHANGE ACT OF 1934

 

OR

 

¨ SHELL COMPANY REPORT PURSUANT TO SECTION 13 OR 15(d) OF THE SECURITIES EXCHANGE ACT OF 1934

 

Date of event requiring this shell company report

 

For the transition period from to

 

Commission file number: 001-38734

 

Weidai Ltd.

 

(Exact name of Registrant as specified in its charter)

 

Cayman Islands

 

(Jurisdiction of incorporation or organization)

 

No. 9 Baiyun Road 

Shangcheng District 

Hangzhou, Zhejiang Province 

The People’s Republic of China 

(Address of principal executive offices)

 

Feng Chen, Chief Financial Officer 

Phone: +86-571-5697-9013

Email: chenfeng@wdai.com 

No. 9 Baiyun Road 

Shangcheng District 

Hangzhou, Zhejiang Province 

The People’s Republic of China

 

(Name, Telephone, E-mail and/or Facsimile number and Address of Company Contact Person)

 

 

Securities registered or to be registered pursuant to Section 12(b) of the Act.

 

Title of each class   Trading Symbol(s)   Name of each exchange on which registered
American depositary shares (one American
depositary share representing one Class A
ordinary share, par value US$0.000002 per share)
  WEI   New York Stock Exchange
Class A ordinary shares, par value US$0.000002 per share*       New York Stock Exchange

 

* Not for trading, but only in connection with the listing on the New York Stock Exchange of American depositary shares.

 

 

Securities registered or to be registered pursuant to Section 12(g) of the Act.

 

Not Applicable

 

(Title of Class)

 

Securities for which there is a reporting obligation pursuant to Section 15(d) of the Act.

 

Not Applicable

 

(Title of Class)

 

 

 

 

As of December 31, 2019, there were 70,461,455 ordinary shares outstanding, consisting of 35,390,055 Class A ordinary shares and 35,071,400 outstanding Class B ordinary shares, both with a par value of US$0.000002 per share.

 

Indicate by check mark if the registrant is a well-known seasoned issuer, as defined in Rule 405 of the Securities Act.Yes  ¨ No  x

 

If this report is an annual or transition report, indicate by check mark if the registrant is not required to file reports pursuant to Section 13 or 15(d) of the Securities Exchange Act of 1934.Yes  ¨ No  x

 

Note – Checking the box above will not relieve any registrant required to file reports pursuant to Section 13 or 15(d) of the Securities Exchange Act of 1934 from their obligations under those Sections.

 

Indicate by check mark whether the registrant (1) has filed all reports required to be filed by Section 13 or 15(d) of the Securities Exchange Act of 1934 during the preceding 12 months (or for such shorter period that the registrant was required to file such reports), and (2) has been subject to such filing requirements for the past 90 days.Yes  x No  ¨

 

Indicate by check mark whether the registrant has submitted electronically every Interactive Data File required to be submitted pursuant to Rule 405 of Regulation S-T (§ 229.405 of this chapter) during the preceding 12 months (or for such shorter period that the registrant was required to submit and post such files).Yes   x No  ¨

 

Indicate by check mark whether the registrant is a large accelerated filer, an accelerated filer, a non-accelerated filer or an emerging growth company. See the definitions of “large accelerated filer,” “accelerated filer,” and “emerging growth company” in Rule 12b-2 of the Exchange Act. (Check one):

 

Large accelerated filer  ¨ Accelerated filer  ¨ Non-accelerated filer  x Emerging growth company  x

 

If an emerging growth company that prepares its financial statements in accordance with U.S. GAAP, indicate by check mark if the registrant has elected not to use the extended transition period for complying with any new or revised financial accounting standards † provided pursuant to Section 13(a) of the Exchange Act.  ¨

 

† The term “new or revised financial accounting standard” refers to any update issued by the Financial Accounting Standards Board to its Accounting Standards Codification after April 5, 2012.

 

Indicate by check mark whether the registrant has filed a report on and attestation to its management’s assessment of the effectiveness of its internal control over financial reporting under Section 404(b) of the Sarbanes-Oxley Act (15 U.S.C. 7262(b)) by the registered public accounting firm that prepared or issued its audit report.  ¨

 

Indicate by check mark which basis of accounting the registrant has used to prepare the financial statements included in this filing:

 

U.S. GAAP  x  

International Financial Reporting Standards as issued

by the International Accounting Standards Board  ¨

  Other  ¨

 

 

If “Other” has been checked in response to the previous question, indicate by check mark which financial statement item the registrant has elected to follow. Item 17  ¨Item 18  ¨

 

If this is an annual report, indicate by check mark whether the registrant is a shell company (as defined in Rule 12b-2 of the Exchange Act).Yes  ¨ No  x

 

(APPLICABLE ONLY TO ISSUERS INVOLVED IN BANKRUPTCY PROCEEDINGS DURING THE PAST FIVE YEARS)

 

Indicate by check mark whether the registrant has filed all documents and reports required to be filed by Sections 12, 13 or 15(d) of the Securities Exchange Act of 1934 subsequent to the distribution of securities under a plan confirmed by a court. Yes  ¨ No  ¨

 

 

 

 

 

 

TABLE OF CONTENTS

 

INTRODUCTION 1
   
FORWARD-LOOKING STATEMENTS 3
   
PART I  
   
ITEM 1. IDENTITY OF DIRECTORS, SENIOR MANAGEMENT AND ADVISERS 4
     
ITEM 2. OFFER STATISTICS AND EXPECTED TIMETABLE 4
     
ITEM 3. KEY INFORMATION 4
     
ITEM 4. INFORMATION ON THE COMPANY 57
     
ITEM 4A. UNRESOLVED STAFF COMMENTS 101
     
ITEM 5. OPERATING AND FINANCIAL REVIEW AND PROSPECTS 101
     
ITEM 6. DIRECTORS, SENIOR MANAGEMENT AND EMPLOYEES 130
     
ITEM 7. MAJOR SHAREHOLDERS AND RELATED PARTY TRANSACTIONS 138
     
ITEM 8. FINANCIAL INFORMATION 140
     
ITEM 9. THE OFFER AND LISTING 141
     
ITEM 10. ADDITIONAL INFORMATION 142
     
ITEM 11. QUANTITATIVE AND QUALITATIVE DISCLOSURES ABOUT MARKET RISK 156
     
ITEM 12. DESCRIPTION OF SECURITIES OTHER THAN EQUITY SECURITIES 157
     
PART II  
   
ITEM 13. DEFAULTS, DIVIDEND ARREARAGES AND DELINQUENCIES 160
     
ITEM 14. MATERIAL MODIFICATIONS TO THE RIGHTS OF SECURITY HOLDERS AND USE OF PROCEEDS 160
     
ITEM 15. CONTROLS AND PROCEDURES 160
     
ITEM 16A. AUDIT COMMITTEE FINANCIAL EXPERT 162
     
ITEM 16B. CODE OF ETHICS 162
     
ITEM 16C. PRINCIPAL ACCOUNTANT FEES AND SERVICES 162
     
ITEM 16D. EXEMPTIONS FROM THE LISTING STANDARDS FOR AUDIT COMMITTEES 162

 

 

 

 

ITEM 16E. PURCHASES OF EQUITY SECURITIES BY THE ISSUER AND AFFILIATED PURCHASERS 162
     
ITEM 16F. CHANGE IN REGISTRANT’S CERTIFYING ACCOUNTANT 162
     
ITEM 16G. CORPORATE GOVERNANCE 164
     
ITEM 16H. MINE SAFETY DISCLOSURE 164
     
PART III  
   
ITEM 17. FINANCIAL STATEMENTS 165
     
ITEM 18. FINANCIAL STATEMENTS 165
     
ITEM 19. EXHIBITS 165
     
SIGNATURES 167

 

 

 

 

EXPLANATORY NOTE

 

Weidai Ltd., or the Company, is filing its annual report on Form 20-F for the fiscal year ended December 31, 2019, or the Annual Report, pursuant to the Securities and Exchange Commission, or SEC’s Order under Section 36 of the Securities Exchange Act of 1934 Granting Exemptions from Specified Provisions of the Exchange Act and Certain Rules Thereunder (SEC Release No. 34-88318) dated March 4, 2020, as amended, on March 25, 2020 (SEC Release No. 34-88465).

 

As set forth in the Company’s current report on Form 6-K as filed with the SEC on April 27, 2020, due to the outbreak of the coronavirus disease 2019, or COVID-19, the Company has been following the recommendations of local health authorities to minimize exposure risk for its employees, including the temporary closures of its offices, and having employees work remotely until mid-March, 2020. As a result, the Company’s books and records were not easily accessible, resulting in delay in preparation, compilation and completion of its annual financial statements, which prevented the Company from timely filing the Annual Report by its April 30, 2020 due date.

 

 

 

INTRODUCTION

 

Unless otherwise indicated or the context otherwise requires in this annual report on Form 20-F:

 

·“active borrower” refers to borrowers who have borrowed at least once on our platform during a specific period of time;

 

·“ADSs” refers to our American depositary shares, each of which represents one Class A ordinary share;

 

·“APRs” or “annual percentage rate” represents the annualized cost of borrowing over the term of a loan, which equals to the annualized amount of finance charges (including interest and service and other fees) generated from a loan, divided by the principal amount of the loan;

 

·“auto-backed loan” refers to secured loans using automobiles already owned by borrowers as collateral;

 

·“China” or the “PRC” refers to the People’s Republic of China, excluding, for the purposes of this annual report only, Hong Kong, Macau and Taiwan;

 

·“Class A ordinary shares” are to our Class A ordinary shares, par value US$0.000002 per share;

 

·“Class B ordinary shares” are to our Class B ordinary shares, par value US$0.000002 per share;

 

·“delinquency rate” refers to the loan principal and interest that were 15 to 30, 31 to 60, 61 to 90 and over 90 calendar days past due as a percentage of the total outstanding principal balance of loans on our platform as of a specific date. Loans that are charged-off and loan products that have been discontinued prior to the date of this annual report (including home equity loans, certain types of consumption loans and unsecured auto-financing loans offered to those who have taken out auto-financing loans from certain commercial banks) are not included in the delinquency rate calculation;

 

·“investors” refers to both online investors and institutional funding partners;

 

·“LTV ratio” refers to loan-to-value ratio;

 

·“M3+ Delinquency Rate by Vintage” refers to the total balance of outstanding principal of a vintage for which any payment of principal or interest is over 90 calendar days past due as of a particular date (adjusted to reflect total amount of past due payments for principal and interest that have been subsequently collected), divided by the total initial principal in such vintage. For purpose of this annual report, loans facilitated or originated during a specified time period are referred to as a vintage. Loan products that have been discontinued prior to the date of this annual report (including home equity loans, certain types of consumption loans and unsecured auto-financing loans offered to those who have taken out auto-financing loans from certain commercial banks) are not included in the calculation of M3+ Delinquency Rate by Vintage;

 

·“online investors” includes both individual investors and corporate investors, who invest in loans using our smart investing tools or through our investment programs. The term “online investors” does not include institutional funding partners;

 

·“ordinary shares” refers to our Class A and Class B ordinary shares, par value US$0.000002 per share;

 

·“repeat borrowers” refers to borrowers who have borrowed at least twice on our platform since our inception;

 

·“repeat online investors” refers to online investors who have invested at least twice on our platform since our inception;

 

 1 

 

 

·“RMB” and “Renminbi” refer to the legal currency of China;

 

·“small and micro enterprises” refers to businesses with annual revenues less than RMB20 million;

 

·“take rate” refers to the period end loan balance divided by the net revenue of a certain period.”

 

·“US$,” “U.S. dollars,” “$,” and “dollars” refer to the legal currency of the United States; and

 

·“we,” “us,” “our company,” “our” and “Weidai” refer to Weidai Ltd., its subsidiaries, variable interest entities and their subsidiaries.

 

Our reporting currency is the Renminbi. This annual report on Form 20-F also contains translations of certain foreign currency amounts into U.S. dollars for the convenience of the reader. Unless otherwise stated, all translations from Renminbi to U.S. dollars were made at RMB6.9618 to US$1.00, the noon buying rate on December 31, 2019 set forth in the H.10 statistical release of the U.S. Federal Reserve Board. We make no representation that the Renminbi or U.S. dollar amounts referred to in this annual report could have been or could be converted into U.S. dollars or Renminbi, as the case may be, at any particular rate or at all. The PRC government restricts or prohibits the conversion of Renminbi into foreign currency and foreign currency into Renminbi for certain types of transactions. On May 29, 2020, the noon buying rate set forth in the H.10 statistical release of the Federal Reserve Board was RMB7.1348 to US$1.00.

 

All of our share related numbers contained in this annual report, including but not limited to the numbers of authorized, issued and outstanding shares, have retroactively reflected the 50-for-1 share split that we effected in September 2018.

 

 2 

 

 

FORWARD-LOOKING STATEMENTS

 

This annual report on Form 20-F contains forward-looking statements that reflect our current expectations and views of future events. Known and unknown risks, uncertainties and other factors, including those listed under “Item 3. Key Information — D. Risk Factors,” may cause our actual results, performance or achievements to be materially different from those expressed or implied by the forward-looking statements. These statements are made under the “safe harbor” provisions of the U.S. Private Securities Litigations Reform Act of 1995.

 

You can identify some of these forward-looking statements by words or phrases such as “may,” “will,” “expect,” “anticipate,” “aim,” “estimate,” “intend,” “plan,” “believe,” “is/are likely to,” “potential,” “continue” or other similar expressions. We have based these forward-looking statements largely on our current expectations and projections about future events that we believe may affect our financial condition, results of operations, business strategy and financial needs. These forward-looking statements include statements relating to:

 

·our mission and strategies;

 

·our future business development, financial condition and results of operations;

 

·the expected growth of the auto-backed loan market and the marketplace lending industry in China;

 

·our expectations regarding demand for and market acceptance of our products and services;

 

·our expectations regarding our relationships with borrowers and investors;

 

·competition in the auto-backed loan market and the marketplace lending industry in China;

 

·general economic and business condition in China and elsewhere;

 

·relevant government policies and regulations relating to the marketplace lending industry in China;

 

·duration of the outbreak of COVID-19 and its impact on our business and results of operations.

 

These forward-looking statements involve various risks and uncertainties. Although we believe that our expectations expressed in these forward-looking statements are reasonable, our expectations may later be found to be incorrect. Our actual results could be materially different from our expectations. You should thoroughly read this annual report and the documents that we refer to with the understanding that our actual future results may be materially different from and worse than what we expect. We qualify all of our forward-looking statements by these cautionary statements.

 

This annual report contains certain data and information that we obtained from various government and private publications. Statistical data in these publications also include projections based on a number of assumptions. Our industry may not grow at the rate projected by market data, or at all. Failure of this market to grow at the projected rate may have material and adverse effect on our business and the market price of our ADSs. In addition, the rapidly changing nature of the marketplace lending industry results in significant uncertainties for any projections or estimates relating to the growth prospects or future condition of our market. Furthermore, if any one or more of the assumptions underlying the market data are later found to be incorrect, actual results may differ from the projections based on these assumptions. You should not place undue reliance on these forward-looking statements.

 

The forward-looking statements made in this annual report relate only to events or information as of the date on which the statements are made in this annual report. Except as required by law, we undertake no obligation to update or revise publicly any forward-looking statements, whether as a result of new information, future events or otherwise, after the date on which the statements are made or to reflect the occurrence of unanticipated events.

 

 3 

 

 

PART I

 

ITEM 1. IDENTITY OF DIRECTORS, SENIOR MANAGEMENT AND ADVISERS

 

Not applicable.

 

ITEM 2. OFFER STATISTICS AND EXPECTED TIMETABLE

 

Not applicable.

 

ITEM 3. KEY INFORMATION

 

A. Selected Financial Data

 

The following selected consolidated statements of comprehensive income data and selected consolidated cash flows data for the years ended December 31, 2017, 2018 and 2019, and selected consolidated balance sheets data as of December 31, 2018 and 2019 have been derived from our audited consolidated financial statements included elsewhere in this annual report beginning on page F-1. Our selected consolidated statements of comprehensive income data and selected consolidated cash flows data for the year ended December 31, 2016, and selected consolidated balance sheets data as of December 31, 2016 and 2017 have been derived from our audited consolidated financial statements not included in this annual report. Our consolidated financial statements are prepared and presented in accordance with U.S. GAAP. Our historical results do not necessarily indicate results expected for any future periods. You should read this Selected Financial Data section together with our consolidated financial statements and the related notes and “Item 5. Operating and Financial Review and Prospects” below.

 

The following table presents our selected consolidated statements of comprehensive income data for the years ended December 31, 2016, 2017, 2018 and 2019.

 

    Year Ended December 31,  
    2016     2017     2018     2019(1)  
    RMB     RMB     RMB     RMB     US$  
    (in thousands, except for share, per share and per ADS data)  
Selected Consolidated Statements of Comprehensive Income Data:                                        
Net revenues:                                        
Loan facilitation service fees:                                        
Auto-backed loans     1,396,102       2,529,980       2,857,298              
Other secured loans(2)     9,791       107,564       115,140              
Unsecured loans(3)     4,353       54,409       183,283              
      1,410,246       2,691,953       3,155,721              
                                         
Post facilitation service fees:                                        
Auto-backed loans     144,524       283,182       308,011              
Other secured loans(2)     1,044       10,958       12,793              
Unsecured loans(3)     483       6,045       21,248              
      146,051       300,185       342,052              
                                         
Loan service fee:                                        
Auto-backed loans                       2,046,907       294,019  
Other secured loans(2)                       86,959       12,491  
Unsecured loans(3)                       821,184       117,956  
                        2,955,050       424,466  
                                         
Other revenues     204,953       305,037       189,712       273,433       39,276  
Financing income     9,053       303,292       402,750       195,364       28,062  
Less: Funding costs     (2,439 )     (39,056 )     (156,138 )     (50,610 )     (7,270 )
Net financing income     6,614       264,236       246,612       144,754       20,792  
Total net revenues     1,761,380       3,545,430       3,913,474       3,357,494       482,273  
Provision for loans and advances     (144,617 )     (484,063 )     (751,572 )     (1,239,962 )     (178,109 )
Net revenues after provision for loans and advances     1,616,763       3,061,367       3,161,902       2,117,532       304,164  
                                         

 4 

 

                                         
Operating costs and expenses:                                        
Provision for financial guarantee liabilities                 (21,712 )     (19,206 )     (2,759 )
Origination and servicing expenses     (993,623 )     (1,784,914 )     (1,757,935 )     (1,388,640 )     (199,466 )
Sales and marketing expenses     (71,139 )     (273,838 )     (221,117 )     (138,068 )     (19,832 )
General and administrative expenses     (117,004 )     (316,772 )     (379,415 )     (281,956 )     (40,500 )
Research and development expenses     (56,142 )     (100,966 )     (139,318 )     (81,664 )     (11,730 )
Total operation costs and expenses     (1,237,908 )     (2,476,490 )     (2,519,497 )     (1,909,534 )     (274,287 )
                                         
Income from operations     378,855       584,877       642,405       207,998       29,877  
Net income before income taxes     396,159       668,024       764,259       368,485       52,929  
Income tax expenses     (105,130 )     (193,203 )     (159,629 )     (105,243 )     (15,117 )
Net income     291,029       474,821       604,630       263,242       37,812  
Net income attributable to noncontrolling interests                 (3,011 )     (9,632 )     (1,384 )
Net income attributable to Weidai Ltd.’s shareholders     291,029       474,821       601,619       253,610       36,428  
                                         
Dividends declared to preferred shareholders           (8,604 )                  
Modification of Series A, A+ and B preferred shares     (861 )                        
Accretion to redemption value of Series C redeemable convertible preferred shares     (120,000 )                        
Reversal of accretion on Series C preferred shares                 120,000              
Net income attributable to ordinary shareholders     170,168       466,217       721,619       253,610       36,428  
Earnings per share(4):                                        
Basic     2.60       7.25       10.93       3.60       0.52  
Diluted     2.60       7.25       10.93       3.60       0.52  
Shares used in earnings per share computation(4):                                        
Basic     48,392,050       48,392,050       50,954,061       70,449,524       70,449,524  
Diluted     48,392,050       51,466,450       50,954,061       70,449,524       70,449,524  
                                         
Other comprehensive (loss) income                                        
Foreign currency translation adjustment                 (2,700 )     190       27  
Comprehensive income     291,029       474,821       601,930       263,432       37,839  
Comprehensive income attributable to noncontrolling interests                 (3,011 )     (9,632 )     (1,384 )
Comprehensive income attributable to Weidai Ltd.’s shareholders     291,029       474,821       598,919       253,800       36,455  
Dividends declared to preferred shareholders           (8,604 )                  
Modification of Series A, A+ and B preferred shares     (861 )                        
Accretion to redemption value of Series C redeemable convertible preferred shares     (120,000 )                        
Reversal of accretion on Series C preferred shares                 120,000              
Comprehensive income attributable to ordinary shareholders     170,168       466,217       718,919       253,800       36,455  

 

 

 

(1) On January 1, 2019, we adopted new revenue guidance ASC Topic 606, “Revenue from Contracts with Customers,” using the modified retrospective method applied to those contracts which were not completed as of January 1, 2019. Results for reporting periods beginning after January 1, 2019 are presented under Topic 606, while prior period amounts are not adjusted and continue to be reported in accordance with our historic accounting method under Topic 605.

 

 5 

 

 

(2) Primarily including home equity loans and construction machinery loans. We ceased to offer home equity loans to new borrowers in the fourth quarter of 2017, the loan volume of which totaled RMB2.0 billion, RMB8.8 billion, RMB2.7 billion and RMB9.7 million (US$1.4 million) in 2016, 2017, 2018 and 2019, respectively.

 

(3)Primarily including professional credit loans and consumption loans. We ceased to offer certain types of consumption loans and unsecured auto-financing loans offered to those who have taken out auto-financing loans from certain commercial banks to new borrowers in the fourth quarter of 2017, the loan volume of which totaled RMB20.4 million, RMB3.8 billion, RMB1.2 billion and nil in 2016, 2017, 2018 and 2019, respectively.

 

(4) In September 2018, we effected a 50-for-1 share split, pursuant to which our authorized share capital of US$50,000 was divided into 25,000,000,000 shares with a par value of US$0.000002 each. For the purpose of calculating earnings per share and shares used in earnings per share computation, such share split has been retroactively reflected for all periods presented herein.

 

The following table presents our selected consolidated balance sheet data as of December 31, 2016 and 2017, 2018 and 2019.

 

   As of December 31, 
   2016   2017   2018   2019 
   RMB   RMB   RMB   RMB   US$ 
   (in thousands) 
                     
Selected Consolidated Balance Sheets Data:                         
Cash and cash equivalents    1,314,814    1,765,572    1,741,911    1,075,557    154,494 
Restricted cash        1,092,921    1,619,937    1,140,819    163,868 
Loans and advances, net (net of allowance of RMB67.5 million, RMB404.9million, RMB764.3 million and RMB1,257.8 million (US$180.7 million) as of December 31, 2016 and 2017, 2018 and 2019, respectively)    293,158    1,938,492    1,482,368    1,517,876    218,029 
Prepaid expenses and other assets    328,853    433,597    560,165    441,332    63,393 
Total current assets    2,011,025    5,248,250    5,430,278    4,199,636    603,239 
Restricted cash        4,000    19,368         
Loans and advances, net (net of allowance of nil, RMB1.4 million, RMB6.0 million and RMB1.8 million (US$0.3 million) as of December 31, 2016 and 2017, 2018 and 2019, respectively)        390,171    421,564    49,643    7,131 
Total non-current assets    94,465    1,019,551    886,210    827,330    118,838 
Total assets    2,105,490    6,267,801    6,316,488    5,026,966    722,077 
Payable to institutional funding partners and online investors    94,663    1,770,681    1,005,236    289,026    41,516 
Current account with online investors and borrowers    890,192    1,883,446    2,005,605    1,275,210    183,172 
Deferred revenue    13,196    12,330    11,962         
Contract liabilities                271,741    39,033 
Total current liabilities    1,360,563    4,633,990    3,623,649    2,499,535    359,035 
Payable to institutional funding partners and online investors        416,118    450,160    51,444    7,389 
Deferred revenue    1,100    887    11,343         
Contract liabilities                198,282    28,481 
Total non-current liabilities    9,433    457,724    475,613    249,726    35,870 
Total liabilities    1,369,996    5,091,714    4,099,262    2,749,261    394,905 
Total mezzanine equity    388,910    388,910             
Total shareholders’ equity    346,584    787,177    2,217,226    2,277,705    327,172 

  

 6 

 

 

The following table presents our selected consolidated cash flow data for the years ended December 31, 2016 and 2017, 2018 and 2019.

 

   Year ended December 31, 
   2016   2017   2018   2019 
   RMB   RMB   RMB   RMB   US$ 
   (in thousands) 
Selected Consolidated Cash Flow Data:                         
Net cash provided by operating activities    924,388    2,284,077    1,214,774    887,112    127,427 
Net cash used in investing activities    (337,051)   (2,941,921)   (6,468)   (922,049)   (132,445)
Net cash provided by (used in) financing activities    458,614    2,205,523    (686,883)   (1,130,093)   (162,328)
Net increase (decrease) in cash, cash equivalents and restricted cash    1,045,951    1,547,679    518,723    (1,164,840)   (167,319)
Cash, cash equivalents and restricted cash at the beginning of the year    268,863    1,314,814    2,862,493    3,381,216    485,681 
Cash, cash equivalents and restricted cash at the end of the year    1,314,814    2,862,493    3,381,216    2,216,376    318,362 

 

 7 

 

 

Non-GAAP Financial Measures

 

In evaluating our business, we consider and use adjusted net income, a non-GAAP measure, as supplemental measure to review and assess our operating performance. The presentation of the non-GAAP financial measure is not intended to be considered in isolation or as a substitute for the financial information prepared and presented in accordance with U.S. GAAP. We define adjusted net income as net income excluding share-based compensation expenses.

 

We present this non-GAAP financial measure because it is used by our management to evaluate our operating performance and formulate business plans. Adjusted net income enables our management to assess our operating results without considering the impact of share-based compensation expenses. We also believe that the use of this non-GAAP financial measure facilitates investors’ assessment of our operating performance.

 

This non-GAAP financial measure is not defined under U.S. GAAP and is not presented in accordance with U.S. GAAP. This non-GAAP financial measure has limitations as an analytical tool. One of the key limitations of using adjusted net income is that they do not reflect all items of income and expense that affect our operations. Share-based compensation expenses have been and may continue to be incurred in our business and are not reflected in the presentation of adjusted net income. Further, this non-GAAP financial measure may differ from the non-GAAP financial information used by other companies, including peer companies, and therefore their comparability may be limited.

 

We compensate for these limitations by reconciling the non-GAAP financial measure to the most directly comparable U.S. GAAP financial measure, which should be considered when evaluating our performance. We encourage you to review our financial information in its entirety and not rely on a single financial measure.

 

The following table presents our adjusted net income for the years ended December 31, 2016 and 2017, 2018 and 2019.

 

   Year ended December 31, 
   2016   2017   2018   2019 
   RMB   RMB   RMB   RMB   US$ 
   (in thousands) 
                     
Reconciliation of Net Income to Adjusted Net Income:                         
Net income    291,029    474,821    604,630    263,242    37,812 
Add:                         
Share-based compensation expenses    32,326    40,719    106,571    64,796    9,307 
Adjusted net income before related taxes    323,355    515,540    711,201    328,038    47,119 
Income tax expenses    (8,082)   (10,180)   (19,457)   (11,881)   (1,707)
Adjusted net income, net of taxes    315,273    505,360    691,744    316,157    45,412 

 

B. Capitalization and Indebtedness

 

Not applicable.

 

C. Reasons for the Offer and Use of Proceeds

 

Not applicable.

 

 8 

 

 

D. Risk Factors

 

Risks Related to Our Business and Our Industry

 

We operate in China’s marketplace lending industry, an emerging and evolving industry, which makes it difficult to evaluate our future prospects.

 

China’s marketplace lending industry is in a preliminary stage of development and evolving. The PRC regulatory regime governing the industry may change in ways that do not favor development of the industry and this may negatively affect our business. Prospective borrowers and investors may not be familiar with the industry and may have difficulty to distinguish our services from those of our competitors. In addition, borrowers may not view a default of credit obligation under the loans we facilitate as having the same consequences as a default of credit obligation under more traditional loans provided by banks or other financial institutions. Any default on borrowers’ payment obligations may adversely affect investors’ confidence in the loans we facilitate, which may lead to a reduction of capital available for loans and materially and adversely affect our business. Our ability to retain and attract investors is critical to us for maintaining and increasing the volume of loans we facilitate. Our past growth rates may not be indicative of our future growth.

 

You should consider our business and prospects in light of the risks and challenges we encounter or may encounter in this developing and rapidly evolving industry. These risks and challenges include our ability to, among others:

 

·navigate an evolving regulatory environment;

 

·expand the base of borrowers and investors served on our platform;

 

·broaden our loan and investment product offerings;

 

·efficiently operate our nationwide network of service centers;

 

·enhance our data analytical and risk management capabilities;

 

·continue to scale our technology infrastructure to support the growth of our platform and loan volume;

 

·operate without being adversely affected by the negative publicity about the industry in general and our company in particular;

 

·maintain the security of our platform and the confidentiality of the information provided and utilized across our platform;

 

·anticipate and adapt to changing market conditions, including government restrictions on automobile purchases and ownership and changes in the competitive landscape;

 

·attract, retain and motivate talent; and

 

·defend ourselves from any potential litigations, regulatory proceedings, or any other claims.

 

If China’s marketplace lending industry does not develop as we expect, or if we fail to educate prospective borrowers and investors about the value of our platform, products and services or address their needs, our reputation, business, financial condition and results of operations may be materially and adversely affected.

 

If any of our business practices is deemed to violate any laws or regulations governing the marketplace lending industry in China, our business, financial condition and results of operations will be materially and adversely affected.

 

The marketplace lending industry in China has a relatively short history and relevant laws and regulations are developing and evolving. Since mid-2015, the PRC government and relevant regulatory authorities have issued various laws and regulations governing the marketplace lending industry, which regulate the activities of online lending information intermediaries, online microcredit companies and those who collaborate with these entities in operating marketplace lending platforms. See “Item 4. Information on the Company — B. Business Overview — Regulation — Regulations on Online Lending Information Intermediaries” and “— Regulations on Microcredit Companies” for more details. There are uncertainties as to the interpretation of these PRC laws and regulations and their applicability to our business. If any aspect of our operations is deemed to have violated these laws or regulations, we may be required to modify or even suspend relevant operations and/or be subject to administrative penalties.

 

 9 

 

 

Recently-issued laws and regulations have imposed additional requirements and restrictions on the operations of marketplace lending platforms, which have adversely affected our business operations in 2018 and 2019. These regulatory requirements and restrictions may continue to adversely affect our business and results of operations in the future.

 

The Interim Measures on Administration of Business Activities of Online Lending Information Intermediaries, or the Interim Measures, which was issued in August 2016, introduced a record-filing and licensing regime, which requires online lending information intermediaries to (i) make relevant record-filing with local financial regulatory authorities for their online lending information services; (ii) apply for relevant telecommunication service license after the completion of record-filing with local financial regulatory authorities; and (iii) specify online lending information services in their business scope. In addition, the Notice on the Rectification and Inspection Acceptance of Risk of Online Lending Information Intermediaries, or Circular 57, which was issued in December 2017, further requires online lending information intermediaries to complete their record-filing with the local authorities by the end of June 2018 at the latest. The Notice on Launching Compliance Inspection on Peer-to-Peer Online Lending Information Intermediaries, or the Inspection Notice, requires online lending information intermediaries to complete compliance inspections (including self-inspection, inspection conducted by local and national Internet Finance Association and verification conducted by the rectification office in charge of online lending) by December 2018 pursuant to the Inspection Notice and the Compliance Checklist for Online Lending Information Intermediaries as specified in the Inspection Notice, or the Checklist. Based on the results of the compliance inspections, systems of online lending information intermediaries who are in compliance with the applicable rules and regulations can be integrated to the industry-wide information disclosure systems and product registration systems. Upon completion of such integration, the online lending information intermediaries will be able to submit filing applications for record-filings pursuant to detailed procedures to be issued by the competent regulatory authorities. However, it remains unclear when the detailed procedures for such system integrations and filing applications will be issued.

 

In December 2018, the relevant PRC regulatory authorities of the peer-to-peer lending industry issued the Circular on Making Efforts to Prevent Risk and Classify Online Lending Institutions, or Circular 175. Circular 175 classifies the online peer-to-peer lending marketplaces into six categories, and except for large-scale peer-to-peer direct lending marketplaces that have not demonstrated any high-risk characteristics, which are generally referred to as Normal Marketplaces, other marketplaces, including shell companies with no substantive operation, small-scale marketplaces, marketplaces with high risks and marketplaces on which investors are not fully repaid or that are otherwise unable to operate their businesses, shall exit the peer-to-peer lending industry or cease operation.

 

We are also under continual supervision of the local competent authority. In October 2018, competent authority of Shangcheng District, Hangzhou, conducted administrative onsite inspections on us in late October 2018, but we have not received any feedback from the competent authority, and there can be no assurance that we will ultimately be successful in passing these inspections.

 

In addition, we have been and may continue to be subject to additional local requirements throughout the inspection process. For example, in December 2018, Hangzhou Internet Finance Association published the Notice on Actively Cooperating with Risk Management Rectification on Online Lending Information Intermediaries of Hangzhou, or the Cooperating Notice. The Cooperation Notice sets forth specific requirements over online lending information intermediaries in Hangzhou, including us, which shall, among others, (i) ensure outstanding loan balance and number of borrowers do not increase, and will gradually decrease as requested by competent authorities; (ii) gradually reduce the outstanding balance of non-compliant loan products and eliminate such balance before June 2019; and (iii) stop establishing new branches.

 

The stringent regulatory actions on online lending information intermediaries have decimated online lending information intermediary service, including well-known listed companies such as Yiren Digital (NYSE: YRD) and China Rapid Finance (NYSE: XRF). As of December 31, 2019, more than 10 provincial government agencies or internet financing associations had announced their plans to exit online lending information intermediary business in their jurisdictions, among which provincial government agencies in Yunnan, Hebei, Sichuan, Chongqing, Henan, Shandong and Hunan have explicitly announced to clamp down all online lending information intermediary businesses. To our knowledge, none of the online lending information intermediaries in Zhejiang Province, including us, have been permitted to submit filing applications as of the date of this annual report.

 

 10 

 

 

Considering the regulatory environment on online lending information intermediaries, we ceased to offer new loans for online investors’ subscription since February 2020, including through our Premier Investment Program and X Investment Program, and as of the date of this annual report, we had released an announcement that we would exit online lending information intermediary business and cease to provide online lending information intermediary service before June 30, 2020 voluntarily. Investors of our then existing investment programs now directly fund the underlying loans they used to invest in through our investment programs and will receive repayment of principal when the respective underlying loans become due. In the future, we plan to use institutional funding partners as our primary funding sources and will also facilitate loans through our microcredit company. However, uncertainties still exist in relation to the interpretation and implementation of regulations relating to online lending information intermediaries, such as the Interim Measures and Circular 175, and there is a risk that regulatory authorities may interpret the regulations differently than we do, and we cannot assure you that the regulatory authorities will not require us to amend our business accordingly, our business, financial condition and results of operation might be materially and adversely affected.

 

As we have announced to exit online lending information intermediary business and will cease to provide online lending information intermediary service before June 30, 2020 voluntarily, we believe that it is no longer applicable for us to submit our filing application, however, considering our historical practice as an online lending information intermediary, there is still a risk that regulatory authorities may interpret the regulations differently than we do.

 

As of the date of this annual report, we have not been subject to any material fines or other penalties under any PRC laws or regulations, including those governing the marketplace lending industry. However, the growth in the popularity of the marketplace lending industry increases the likelihood that the PRC government will seek to further regulate this industry. We are unable to predict with certainty the impact, if any, of future laws or regulations governing the marketplace lending industry will have on our business, financial condition and results of operations.

 

Increasing restrictions on our custodian bank arrangement may require us to amend our custody account agreement with Xinwang Bank or seek an alternative qualified custodian bank.

 

We entered into a custody account arrangement with Sichuan Xinwang Bank Co., Ltd., or Xinwang Bank, the third privately-owned Internet bank in China, in August 2019, after our custodian agreement with Xiamen Bank had expired, under which investors’ and borrowers’ funds are deposited directly into and settled by their designated custody accounts at Xinwang Bank. Circular 57 requires online lending information intermediaries to set up custody accounts at qualified banks that have passed the National Online Lending Rectification Office’s tests and evaluations. According to the website of national Internet Finance Association, Xinwang Bank has passed such tests and evaluations. If Xinwang Bank fails to maintain such status, we may need to seek an alternative custodian bank to satisfy the relevant regulatory requirement, or in the event that any new laws, regulations or rules impose additional restrictions on our custody account arrangement with Xinwang Bank, we may need to amend our agreement with Xinwang Bank or seek an alternative qualified custodian bank, which may materially and adversely affect our business.

 

 11 

 

 

The aggregate amount extended to any borrower through our platform and other online lending information intermediaries may exceed the applicable borrowing limits.

 

The Interim Measures require that the aggregate amount of loans extended to any individual must not exceed RMB200,000 through a single online lending information intermediary or RMB1 million in aggregate through all online lending information intermediaries in the PRC. Furthermore, the aggregate amount of loans extended to any entity must not exceed RMB1 million through a single online lending information intermediary or RMB5 million in aggregate through all online lending information intermediaries in the PRC.

 

We, as an online lending information intermediary, currently do not facilitate loans to any individual in aggregate amount exceeding RMB200,000 or to any entity in aggregate amount exceeding RMB1 million. In addition, when assessing the creditworthiness of a prospective borrower, we determine whether he has outstanding loans through other marketplace lending platforms using proprietary and third-party databases. However, due to the lack of industry-wide information sharing arrangement, there can be no assurance that the aggregate amount extended to any borrower through our platform and other online lending information intermediaries does not exceed the applicable borrowing limits set out by the Interim Measures.

 

Our purchase of delinquent loans and provision of guarantees may be prohibited under the Interim Measures and Circular 57. If we are unable to procure alternative means of investor protection in a timely and cost-effective manner, our business and results of operations may be materially and adversely affected.

 

The Interim Measures prohibit online lending information intermediaries from providing any security interest or guarantee to investors as to the return of loan principal or interest. We used to voluntarily purchase delinquent loans from online investors in order to timely compensate them for default losses; we provided guarantees for certain of our consumption loan products. Since 2019, we have ceased to provide financial guarantees to online investors for consumption loans pursuant to regulatory requirements. We have ceased to offer consumption loans involving smaller loan amounts and shorter tenures starting from the fourth quarter of 2017; we provide guarantees to a portion of institutional funding partners and corporate investors in case of borrower defaults (the loan volume of which totaled RMB4.0 billion, RMB4.8 billion and RMB3.0 billion (US$427.8 million) in 2017, 2018 and 2019, respectively, accounting for 4.1%, 6.1% and 4.9% of our total loan volume in 2017, 2018 and 2019, respectively). We ceased to facilitate any new investment made by such corporate investors through our platform or provide guarantee to new corporate investors starting from the fourth quarter of 2017. Moreover, in order to reinforce investors’ confidence, in April 2020, we and Mr. Hong Yao, our chief executive officer and chairman of the board, have also voluntarily provided guarantees to our online investors who opt to participate in the asset management arrangement. For more information related to cancellation of investment programs, please see “Item 4. Information on the Company — B. Business Overview — Our Investors and Investment Products — Investment Products and Services Offered to Online Investors — Investment Programs.” These historical and current practices may be deemed as providing guarantees to investors as to the return of loan principal or interest, which is prohibited under the Interim Measures and Circular 57.

 

We are in ongoing discussion with third-party insurance companies, asset management companies and other financial institutions to provide alternative means of investor protection. In November 2019, we entered into an agreement with a financial guarantee company, according to which the financial guarantee company agreed to provide guarantees for loans funded by a bank we cooperate with. However, if we are unable to procure alternative means of investor protection in a timely and cost-effective manner, investors may reduce their investment on our platform and our business operations may be materially and adversely affected.

 

The operations of our online microcredit company are exposed to regulatory uncertainties.

 

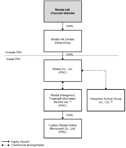
We, through Fuzhou Weidai Online Microcredit Co., Ltd, or Fuzhou Online Microcredit, a subsidiary of our variable interest entity incorporated in Fuzhou, Jiangxi Province, offered borrowers advances once their loan applications on our platform were approved and the loans were listed for investors to subscribe to. Borrowers typically took such advances and subsequently used loan proceeds received from investors to repay the advances. We cannot assure you that such historical practice will not be deemed by PRC authorities as “self-financing through our platform”, which is prohibited under the Interim Measures and the Inspection Notice.

 

 12 

 

 

Fuzhou Online Microcredit has obtained the establishment approval and business license as an online microcredit company to provide loans up to three times of its registered capital, or RMB600 million. However, it has not obtained the operating certificate as of the date of this annual report. Fuzhou Online Microcredit was in the process of applying for the operating certificate when the approval process for all online microcredit companies’ applications for licenses, permits and certificates was suspended as a result of a number of regulations issued by the RPC regulatory authorities in November and December 2017. This industry-wide suspension of regulatory approval was implemented with an aim to strengthen the regulatory compliance of the online microcredit industry, which is relatively new and rapidly developing.

 

As of the date of this annual report, we have not received any updates from the competent regulatory authorities, and we cannot assure you that Fuzhou Online Microcredit is able to obtain the operating certificate in due course or at all. It remains unclear when the regulatory authorities will resume the approval process and whether they will conduct any onsite inspections of Fuzhou Online Microcredit. However, in the event that an inspection is conducted by the relevant authorities and Fuzhou Online Microcredit fails to rectify any non-compliance identified during such inspection, its future application for the operating certificate could be denied and its business operations could be suspended. As of the date of this annual report, Fuzhou Online Microcredit has not been subject to any administrative or other penalties due to the lack of operating certificate. We believe that Fuzhou Online Microcredit is in compliance with the applicable requirements for the issuance of operating certificate, and plan to re-apply for such certificate as soon as the regulatory approval process is resumed.

 

Fuzhou Online Microcredit has not been, and is not expected to be, our major funding source, and we have acquired a financial leasing company which will allow us to provide funding to borrowers in the form of financial leasing. However, if Fuzhou Online Microcredit is unable to obtain the operating certificate or obtain, maintain or renew any other requisite approvals applicable to its business, we may not be able to provide advances to borrowers through Fuzhou Online Microcredit in the future, and borrower experience on our platform may be adversely affected.

 

In addition, Chinese regulators are encouraging marketplace lending platforms to transform into online microcredit companies. In the late November 2019, the Head Office for Special Rectification of Online Finance Risk and the Head Office for Special Rectification of Peer-to-Peer Online Lending jointly issued Circular 83, which provides detailed guidelines for the transformation of marketplace lending platforms into microcredit companies. In response to this, we are in the process of applying for an online microcredit company license in China, in an effort to further diversify our business. However, we cannot guarantee you that we will be able to receive one given the complicated and evolving regulatory environment in the marketplace lending industry.

 

Some of the loans we facilitate may be deemed as loans with no designated purposes and we may be required to track the actual use of these loans or cease facilitating these loans and our business, financial condition and results of operations may be materially and adversely affected.

 

The Notice on Regulating and Rectifying “Cash Loan” Business, or Circular 141, prohibits online lending information intermediaries from facilitating loans with no designated purpose. It is unclear whether some of the loans we facilitate, such as professional credit loans and consumption loans, would be deemed as loans with no designated purpose, and if they were, we would need to take necessary measures to track the actual use of these loans, which could cause us to incur substantial additional expenses. If we were unable to effectively implement the foregoing or other rectification measures, we might need to reduce or even cease facilitating these loans, and our business, financial condition and results of operations may be materially and adversely affected.

 

 13 

 

 

Our historical practice of deducting interests and fees upfront may be deemed to have violated Circular 141, Circular 56 or the Inspection Notice and we may be subject to fines, penalties or other liabilities.

 

Circular 141 and the Inspection Notice prohibit online lending information intermediaries from deducting interests, commissions, management fees or margins from investors’ loan disbursements to borrowers. In addition, pursuant to the Notice on Specific Rectification Implementation Measures for Risk of Online Microcredit Businesses of Microcredit Companies, or Circular 56, third-party institutions cooperating with microcredit companies are prohibited from collecting any interests or fees from borrowers. Historically, we deducted service fees payable to us from online investors’ loan disbursements to borrowers. We have ceased such practice since early 2017. From early 2017 to late October 2018, we, through Fuzhou Online Microcredit, offered borrowers advances while their loans were being listed for investors to subscribe to. Borrowers typically took such advances, and subsequently repaid such advances using the loan proceeds received from online investors. Fuzhou Online Microcredit ceased to offer such advances in late October 2018. Historically, Fuzhou Online Microcredit, pursuant to the borrowers’ authorization, deducted relevant fees payable to us directly from the advances. Starting in the first half of 2018, we have implemented a new fee structure for loans facilitated through our platform and stopped deducting relevant fees payable to us from the advances. Under the current fee structure, borrowers receive full amounts of the loan proceeds for loans facilitated through our platform, and pay service fees to us and principal and interest to online investors on a monthly basis, with the first payment due one month from the time of loan disbursement. See “Item 4. Information on the Company — B. Business Overview — Our Borrowers and Loan Products — Loan Products and Services Offered to Borrowers” and “— Our Transaction Process” for more details. However, we cannot assure you that our historical practices will not be deemed by the PRC authorities to have violated Circular 141, Circular 56 or other PRC laws and regulations, in which case we may be subject to fines, penalties or other liabilities.

 

Our cooperation with institutional funding partners exposes us to regulatory uncertainties faced by those partners, and we may be required to obtain government approval or license due to our cooperating with those partners, which requirement will impose negative impacts on our business and results of operations.

 

Our cooperation with institutional funding partners (who funded 1.5%, 4.1% and 5.5% of our total loan volume in 2017, 2018 and 2019, respectively) has exposed us to, and may continue to expose us to, regulatory uncertainties faced by such institutional funding partners. We are obligated to compensate a portion of our institutional funding partners for delinquent principal and interest payments in the event of borrower defaults. We cannot assure you that the business operations of our institutional funding partners or our cooperation with these institutional funding partners are, or will continue to be in compliance with the relevant laws and regulations. For instance, Circular 141 requires that financial institutions cooperating with third parties to engage in lending businesses (i) not to outsource any core lending business (including credit assessment and risk control), (ii) not to accept any credit enhancement provided by third parties with no guarantee approval or license, whether or not in a disguised form (including commitment to absorbing default risks), and (iii) to ensure that no interests or fees are collected from borrowers by such third parties. Furthermore, Circular 141 prohibits online lending information intermediaries from facilitating financial institutions’ participation in online lending services. Our cooperation with institutional funding partners may need to be modified, suspended or terminated, which may be time consuming and lead to insufficient funding supply on our platform and materially or adversely affect our business.

 

Pursuant to the Regulations on the Administration of Financing Guarantee Companies promulgated by the State Council on August 2, 2017, or the Financing Guarantee Rules, entities operating “financing guarantee business” are required to obtain approval from the local regulatory authorities. If any entity operates financing guarantee business without an approval, it may be subject to penalties, including termination or suspension of business, fines ranging from RMB500,000 to RMB1,000,000, confiscation of illegal gains, and if the violation constitutes a criminal offense, criminal liabilities. Although the Financing Guarantee Rules have indicated that financing guarantee is an activity whereby guarantors provide guarantee for fund borrowing, bond issuance and other debt financing to guaranteed parties, the Financing Guarantee Rules have not defined what constitutes as operating “financing guarantee business”. It is uncertain whether our cooperation with institutional funding partners would be deemed as operating financing guarantee business. As of the date of this annual report, we have not been subject to any fines or other penalties with regard to operating financing guarantee business. However, given the evolving regulatory environment of the financing guarantee business, we cannot assure you that we will not be required by the relevant governmental authorities to obtain approval or license for operating financing guarantee business in the future.

 

We have been and may continue to rectify our business to ensure full compliance with laws and regulations governing the marketplace lending industry.

 

We have rectified certain aspects of our business operations to ensure full compliance with laws and regulations governing the marketplace lending industry and may need to do so continuously as laws and regulations develop.

 

 14 

 

 

For instance, following an onsite inspection in May 2017 of our variable interest entity Weidai Financial Information conducted by the Hangzhou branch of the Office of Leading Group on Special Rectification of Risks in the Internet Finance Sector, or the Hangzhou Rectification Office, and several other regulatory authorities, and an onsite inspection in November 2017 of Weidai Financial Information conducted by the financial service office of Zhejiang province, the Hangzhou Rectification Office issued two rectification notices in August 2017 and December 2017, respectively, to Weidai Financial Information. These rectification notices identified certain issues in Weidai Financial Information’s business operations which were deemed not to be in full compliance with applicable laws and regulations governing online lending information intermediaries, which include, among others, (i) offering loans with interest rates that exceed the statutory limit of 36%; (ii) holding investors’ funds; (iii) conducting offline marketing activities for its loan products; (iv) lack of anti-fraud mechanism; (v) lack of risk assessment and investor management; (vi) lack of periodic audits for key business segments, security evaluation and compliance issues; (vii) insufficient risk disclosure to investors; (viii) insufficient information disclosure; and (ix) conducting misleading advertisements.

 

We have implemented various measures in response to the above alleged non-compliance, including, (i) discontinuation of loan products with interest rates that exceeded the statutory limit. Since the first half of 2018, we have ceased offering new loans with APR exceeding 36%, the loan volume of which totaled RMB17.1 billion in 2017 and accounted for 17.7% of our total loan volume in 2017, and loan applications with APRs exceeding 36% will be automatically rejected by our system; (ii) setting up custody accounts with a qualified bank and separating investors’ funds from our own funds; (iii) discontinuation of conducting offline marketing activities for our loan products; (iv) adoption of anti-fraud mechanism; (v) implementation of risk assessment and investor management; (vi) improving periodic audits for key business segments, security evaluation and compliance issues; (vii) improving risk disclosure to investors; (viii) improving information disclosure; and (ix) discontinuation of misleading advertisements. We have completed these rectifications as of the date of this annual report. However, it is uncertain whether our rectification measures will be sufficient to ensure full compliance with the regulatory requirements due to the lack of detailed interpretation and implementation of these requirements. As of the date of this annual report, we have not received final clearance from the local financial authorities that our rectification efforts were sufficient, and there can be no assurance that we will be able to receive such final clearance.

 

As the PRC laws and regulations for online lending information intermediaries, including their interpretation and implementation, continue to evolve, further regulations regarding the marketplace lending industry may be implemented, which may require us to make further rectifications.

 

We used to offer X Investment Program which may be deemed to violate Circular 57, the Inspection Notice and the Checklist, in which case we may subject to fines or other penalties.

 

Even though Circular 57 permits online lending information intermediaries to provide infrequent loan transfers between investors for liquidity purposes, it expressly prohibits certain transfers, including transfer of loans that will result in the investment period to be inconsistent with the tenures of underlying individual loans. Circular 57 also prohibits online lending information intermediaries from facilitating investors to pledge their creditors’ rights to borrow loans. In addition, pursuant to the Checklist, loan transfers at the end of the investment period may be deemed as splitting the terms of the loans which is prohibited under the Interim Measures, unless the investor has been informed about the liquidity risk and has provided prior written confirmation, and the name of the loan product has indicated that such loan is transferrable after a certain period of time.

 

 15 

 

 

We used to offer X Investment Program to our online investors. The duration of our X Investment Program might be different from the tenures of the underlying individual loans, and we allowed online investors that participated in our X Investment Program to transfer the underlying individual loans that had tenures different from the duration of the program to other online investors on our platform at the end of such program. We have voluntarily ceased to offer new X Investment Program to our online investors and have cancelled all existing X Investment Program since February 2020. Our existing X Investment Program investors now directly fund the underlying loans they used to invest in through our X Investment Program. We had informed investors about the liquidity risk associated with our X Investment Program, however, due to the lack of detailed implementations to Circular 57 and the Inspection Notice, we cannot assure you that our historical practices will be deemed to be in full compliance with Circular 57, the Inspection Notice and the Checklist. If such practices is deemed to violate Circular 57, the Inspection Notice or other applicable PRC laws or regulations, we may be subject to fines or other penalties.

 

If we are unable to retain existing borrowers or investors or attract new ones, or maintain or increase the volume of loans facilitated through our platform in a cost-effective manner, our business and results of operations will be adversely affected.

 

Our business involves matching borrowers and investors through our platform. The growth and success of our future operations depend on the availability of adequate lending capital to meet borrowers’ demand for loans on our platform. In order to grow our business, we must continuously increase the volume of loans facilitated through our platform by retaining existing and attracting new borrowers and investors.

 

The volume of loans facilitated through our platform may be affected by a number of factors, including our brand recognition and reputation, interest rates offered and service rates charged to borrowers and investors, the effectiveness of our risk management, the default rate of borrowers on our platform, the operating efficiency of our platform and the macroeconomic environment. We may not be able to attract a sufficient number of borrowers or investors or obtain sufficient investor commitments, in which case our business and results of operations may be adversely affected.

 

·Insufficient number of borrowers

 

We may not be able to attract a sufficient number of qualified borrowers due to a variety of reasons. For example, we currently acquire borrowers through our own channels as well as third-party online and offline sales channels. If any of our borrower acquisition channels become less effective, if we are unable to continue to use any of these channels or if we are not successful in developing new channels, we may not be able to attract new borrowers in a cost-effective manner and may even lose existing borrowers to our competitors. If there are insufficient number of borrowers, investors may not be able to deploy their capital in a timely or efficient manner and may seek alternative investment options.

 

In addition, in connection with the introduction of new loan products or in response to changing economic conditions, we have imposed, and may continue to impose more stringent requirements on borrowers. For example, as a result of our more stringent requirements, the average amount of auto-backed loans we facilitated was reduced from RMB63,888 in 2017 to RMB61,389 in 2018, and further reduced to RMB59,615 in 2019. More stringent requirements may negatively affect borrower experience on our platform and growth of the volume of loans facilitated through our platform. If we do not increase the volume of loans facilitated through our platform, our business and results of operations may be adversely affected.

 

·Insufficient investor commitments

 

Our platform may not be able to attract sufficient investor commitments due to a variety of reasons. For example, changes in market conditions or decrease in investment returns may result in investors seeking other investment options such as equities, bonds and bank savings.

 

 16 

 

 

Since 2017, we have expanded our funding sources to include institutional funding partners. In 2017, 2018 and 2019, RMB1.5 billion, RMB3.2 billion and RMB3.4 billion, or 1.5%, 4.1% and 5.5% of our total loan volume, was funded by institutional funding partners, respectively. These institutional funding partners agree to provide funding to borrowers referred by us who meet their predetermined criteria and pass their internal loan approval. While our borrowers’ loans are generally approved by the institutional funding partners if they fall within such institutional funding partners’ predetermined criteria, the institutional funding partner may decline to fund the loans, which is outside of our control. There is no assurance that our institutional funding partners will continue to provide reliable, sustainable and adequate funding to support borrowers’ financial needs. In addition, if PRC laws and regulations impose more restrictions regarding cooperation with institutional funding partners, these institutional funding partners may become more selective in choosing cooperation partners, which may drive up the funding costs and increase competition. Any of the above reasons may materially increase our funding costs, which may adversely affect our results of operations and profitability.

 

We used to attract funds from online investors. In response to the increasingly stringent regulatory environment and deteriorating macro-economy, we have ceased to offer new investment products to online investors since February 2020. We have informed all online investors on our platforms and will repay principals to our existing online investors when the loans they used to fund through our investment programs become due. We plan to use institutional funding partners as our primary funding source and will also facilitate loans through our microcredit company. As of March 31, 2020, our institutional funding partners had committed funding of up to RMB4.0 billion (US$574.6 million) for loans to borrowers referred by us, subject to their internal approval procedures. However, we cannot guarantee that funds from our institutional funding partners and our microcredit company will be sufficient to meet all the demands from our borrowers. If there are insufficient investor commitments, borrowers may not be able to obtain capital through our platform and may turn to other sources for their borrowing needs, and the volume of loans facilitated through our platform may be significantly impacted. To the extent that it is necessary to obtain additional lending capital from investors, such lending capital may not be available to our platform on acceptable terms or at all. If our platform is unable to provide prospective borrowers with loans or fund the loans on a timely basis due to insufficient lending capital, we may experience a loss of market share or slower than expected growth, which would harm our business, financial condition and results of operations.

 

If our existing and new loan and investment products do not achieve sufficient market acceptance, our financial results and competitive position may be harmed.

 

We have devoted significant resources to, and will continue to place an emphasis on, upgrading and marketing our existing loan and investment products and enhancing their market awareness. We also incur expenses and expend resources to develop and market new loan products and investment products that may incorporate new features, improved functionalities or otherwise make our platform more desirable to borrowers and investors. New loan products and investment products must achieve high levels of market acceptance in order for us to recoup our development costs.

 

Our existing and new loan products and investment products could fail to attain sufficient market acceptance for many reasons, including:

 

·borrowers may not find terms of our products, such as costs and credit limit of our loan products, competitive or appealing;

 

·our failure to predict market demand accurately and offer products that meet borrowers’ demand in a timely fashion;

 

·borrowers and investors using our platform may not like, find useful or accept, any changes we make;

 

·there may be negative publicity about our loan products or our platform’s performance or effectiveness; and

 

·there may be competing products introduced by our competitors.

 

If our existing and new loan and investment products do not achieve sufficient market acceptance, our competitive position, results of operations and financial condition may be harmed.

 

 17 

 

 

We may not be able to effectively operate our service centers, which could harm our business, results of operations and growth potential.

 

We have rapidly expanded our service center network over the past few years. As of December 31, 2019, we operated 375 service centers across 30 of the 32 provinces, municipalities and autonomous regions in China. We cannot assure you that our managerial, financial, operational, technological and other resources will be adequate to effectively operate this nationwide service center network. For example, we may not be able to continue to attract and retain a sufficient number of qualified personnel at reasonable costs or to train these personnel to provide high-quality services in accordance with our operating and risk management procedures and protocols. Moreover, if we fail to adequately predict borrower demand or otherwise optimize our service center network, it could result in excess or insufficient service center capacity.

 

We operated 115 service centers through service center operation partners as of December 31, 2019. If we are unable to effectively address risks associated with the partner-operated service center business model, our reputation and results of operations may be materially and adversely affected:

 

·Our control over our service center operation partners is based on cooperation agreements, which may not be as effective as direct ownership. If our service center operation partners fail to maintain service standards we have set up, our revenues may be negatively affected. In addition, deterioration in business operations of our partner-operated service centers can result in, among other things, delayed or reduced payments to us.

 

·Our service center operation partners are responsible for hiring and managing employees for the respective service centers. In the event of any unsatisfactory performance or illegal actions by these employees or any incidents or operational issues at our partner-operated service centers, we may suffer reputational or financial damage.

 

·Our cooperation agreements with service center operation partners may be suspended or terminated for various reasons, including our service center operation partners’ serious violation of our operating protocols, or our service center operation partners’ failure to maintain requisite approvals, licenses or permits or to comply with other governmental regulations, which may negatively impact our brand image. We may not be able to find replacement service center operation partners in a timely manner or at all. Any resulting service disruption could materially and adversely affect our brand image, reputation and financial performance.

 

In addition, pursuant to the Regulation on the Administration of Commercial Franchises, companies that engage in franchise business shall make filings with local regulatory authorities within 15 days after execution of the franchise agreements. Companies that fail to make such filings may be subject to penalties, including remedy measures, imposition of fines that range from RMB10,000 to RMB50,000, and companies that fail to make remedy measures in a timely manner may be subject to fines that range from RMB50,000 to RMB100,000 and public announcements. We intend to make filings with local regulatory authorities with respect to the cooperation agreements entered into as soon as practical. However, failure to make such filing may subject us to fines.

 

Our business, financial condition and results of operations may be negatively affected as a result of our management having to devote significant time and attention to administrative inspections, thereby diverting management’s attention from our day-to-day operations.

 

We were notified by the competent authority that administrative inspections of online lending information intermediaries in Hangzhou have commenced. To assist with the inspection process, the competent authority has set forth certain requirements for all online lending information intermediaries that are subject to such inspections, including providing complete, detailed and accurate information as to the contents of the self-inspection report, reporting realistic near-term plans and operational objectives, retaining documents and records, refraining from shutting down websites or mobile apps without prior authorization, refraining from making any changes to the company’s business address or major shareholders, and requiring the company’s legal representative and controlling persons, as well as the company’s directors, executive officers and members of senior management in supervisory roles, to devote their full support to and cooperate with the inspections, and that the company’s chairman and legal representative must participate in person and onsite throughout the inspection process. Since our chairman cannot travel during this inspection process, we may suffer losses of business that could have a negative impact on our financial condition and results of operations.

 

 18 

 

 

We may also become subject to additional requirements throughout the inspection process. There can be no assurance as to how long any of the foregoing or additional requirements will continue to be imposed, or when they will be lifted. Similar or more onerous inspection processes may be imposed at the provincial or national levels. We do not know if and when such further inspection processes may commence, or when they would be completed. Furthermore, there can be no assurance that our company ultimately will be successful in passing each inspection by competent authorities. Each such administrative inspection will cause our management to devote significant time and attention to the inspection process, thereby diverting management’s attention from our day-to-day operations, which could harm our business, financial condition and results of operations.

 

Our current level of fee rates may decline in the future. Any material reduction in our fee rates could reduce our profitability.

 

We generate revenues primarily from fees charged to borrowers and investors for our services in matching them with investors and for other services that we provide over the life of the loans. Prior to February 2020, we charged fees to online investors for facilitating their investments via our platform and the transfer of their investments on our secondary loan market. These fee rates may change over time due to competition in the marketplace lending industry, the different types of products and services we may offer in the future, competition, regulatory environment and macroeconomic factors. Any material reduction in our fee rates could have a material adverse effect on our business, results of operations and financial condition.

 

Changes in PRC regulations relating to interest rates and fees for marketplace lending platforms and microcredit lending could have a material adverse effect on our business.

 

The interest rate permitted to be charged on loans facilitated through our platform is subject to limitations set forth in the Provisions on Several Issues Concerning Laws Applicable to Trials of Private Lending Cases issued by the Supreme People’s Court in August 2015 and effective in September 2015. The Private Lending Judicial Interpretations provide that (i) when the interest rate agreed between the borrower and investor does not exceed an annual interest rate of 24%, the People’s Court will uphold the interest rate charged by the investor, and (ii) when the interest rate agreed between the borrower and investor exceeds an annual interest rate of 36%, the portion in excess of 36% is void and the People’s Court will uphold a borrower’s claim for return of the excess portion to the borrower. For loans with interest rates per annum between 24% and 36%, if the interest on the loans has already been paid to the funding sources, and so long as such payment has not damaged the interest of the state, the community or any third parties, the courts will likely not enforce a borrower’s demand for the return of such interest payment.

 

Fuzhou Online Microcredit is subject to regulations applicable to microcredit companies. See “Item 4. Information on the Company — B. Business Overview — Regulation — Regulations on Microcredit Companies” for more details. These regulations provide that “integrated real interest” (namely the aggregated borrowing costs charged to borrowers in the forms of interest and various fees) shall be subject to the limit on interest rate of private lending set forth in the Private Lending Judicial Interpretations issued by the Supreme People’s Court. The loans facilitated through our platform and the advances made by Fuzhou Online Microcredit will be subject to the aforementioned interest rate restrictions, which could affect our platform’s to facilitate loans for certain borrowers and may have a material adverse effect on our business.

 

Certain Opinions Regarding Further Strengthening the Financial Judgment Work issued by the Supreme People’s Court in August 2017, or the Opinions for Financial Judgment Work, provides more detailed rules on the legal limits of interest and fees charged in connection with a loan and specifies that the information intermediary service fees charged by an online lending information intermediary to circumvent the legal limit of interest of private lending shall be invalid. Circular 141 further clarifies that the total amount of interest and fees charged to borrowers must be within the limit set forth in the Private Lending Judicial Interpretations. Moreover, the Checklist provides that interest and fees collected by third parties in collaboration with online lending information intermediaries or charged offline shall also be included in the calculation of interest and fees charged to borrowers. See “Item 4. Information on the Company — B. Business Overview — Regulation — Regulations on Online Lending Information Services”, “— Regulations on Online Lending Information Intermediaries” and “— Regulations on Loans and Intermediation” for more details.

 

 19 

 

 

As of the date of this annual report, loans facilitated through our platform do not have annual interest rate exceeding 36%, however, certain loans facilitated through our platform have overall borrowing costs over 24% per annum. We may continue to facilitate loans at or above the borrowing costs of 24% but no more than 36% per annum. In the event that any of such loans become delinquent, we may not be able to collect the part of borrowing costs that exceed 24% per annum through PRC judicial enforcement. Furthermore, though we believe our current service fees and various other fees charged to borrowers are reasonable and in compliance with relevant requirements under the Opinions for Financial Judgment Work, if the method of calculation of the costs used by the PRC governmental authorities or the PRC courts is different from us and thus the overall borrowing costs of some of our loan products are deemed as exceeding 36% per annum, the parts of the borrowing costs exceeding 36% per annum may be ruled as invalid, and we may face, among others, regulatory warning, correction order, condemnation, fines and criminal liability and we may be required to reduce fees and annual interest rate we charge to our borrowers. Moreover, on July 23, 2019, the Supreme People’s Court, the Supreme People’s Procuratorate, the Ministry of Public Security and the Ministry of Justice jointly issued the Opinions on Several Issues in Handling Criminal Cases of Illegal Lending, which reiterated and emphasized the prohibition of collecting loans through intentional injury, illegal detention, insult, intimidation, threat, harassment and other illegal means. If such situations were to occur, our business, financial condition, results of operations and prospects would be materially and adversely affected.

 

We may need to adapt our business model as China’s auto-backed loan market develops.

 

China’s auto-backed loan market is currently in a preliminary stage of development and features a small number of players. As the market continues to develop and borrowers become increasingly inclined to secure funding using automobiles as collateral, our existing business model and product offerings may face increasing competition and challenges. For example, we currently facilitate auto-backed loans using automobiles with clean title as collateral. However, as auto-backed loans become more prevalent and an increasing number of auto-backed loan providers emerge, automobiles may become more commonly used as collateral to secure funding and the same automobile may even be used as collateral to secure funding from multiple auto-backed loan providers, which may potentially increase the default rate of auto-backed loans we facilitate. For example, a borrower of auto-backed loans facilitated through our platform may take out auto-backed loans from other auto-backed loan providers using the same automobile as collateral, which will increase default risks to us. To reduce the default risks, we may need to modify our existing business practice to lower our loan-to-value ratio, or LTV ratio, or require additional collateral from borrowers, which could incur additional costs, reduce the attractiveness of our platform or otherwise materially and adversely affect our business, financial condition and results of operations.

 

Our risk management system may not be adequate and may adversely affect the reliability of our platform, and in turn damage our reputation, business and results of operations.

 

We have adopted stringent risk management protocols to assess loan applicants’ creditworthiness and appraise the value of automobiles. Due to the lack of a nationwide centralized credit reporting system in China, we conduct credit assessment of loan applicants and appraise the value of automobiles using data aggregated from various data sources, including our own proprietary database and third-party data service providers and credit scoring service providers’ databases. However, these risk management measures may not always be adequate or effective. For example, our risk management system may contain errors or defects that prevent us from effectively identifying fraudulent information supplied by borrowers. When there is indication of fraud, our risk management team’s further diligence and verification, such as site visits, may not completely eliminate the risk of fraud. In addition, the information and data in our own database or third-party databases may be inaccurate, incomplete or outdated. Any of these could prevent us from effectively detecting fraud, accurately determining the creditworthiness of loan applicants or appraise the value of automobiles, and our platform’s default rate may significantly increase. As a result, investors may lose confidence in our platform and our reputation, business and results of operations may be adversely affected.

 

 20 

 

 

Significant decrease in value of automobile used as loan collateral may lower our recoverability upon any default, which may adversely affect our results of operations.

 

We primarily facilitate auto-backed loans, which involves borrowers using their automobiles as collateral. We have implemented various measures in order to accurately determine the value of automobiles used as collateral, including our proprietary automobile appraisal system, third-party automobile appraisal systems, our own automobile appraisers and qualified third-party automobile appraisers. However, we may not be able to capture all factors that may affect the value of automobiles used as collateral. Changes in the value of automobiles may affect the recoverability of any outstanding balance if default incurs. The value of automobiles may fluctuate due to many reasons, including the market value of new and used automobiles. The historical restrictions on inter-city or inter-province transfer of used automobiles that were imposed by various local government authorities in China may also result in lower value of automobiles that are transferred to such cities with local transfer restrictions. Although the PRC government has recently issued several official opinions and circulars to prohibit such local restrictions and market segregation, certain transfer restrictions are still in practice, such as different emission standards imposed by various local government authorities. The deterioration of the condition of automobiles and decrease in popularity of specific automobile models may also decrease the value of the automobiles. Thus, if there is any significant decrease in value of borrowers’ automobiles used as collateral, we may not be able to cash out all delinquent principal and interest when borrowers default, which may adversely affect our business, financial condition and results of operations.

 

We have obligations to verify information relating to borrowers and detecting fraud. If we fail to perform such obligations to meet the requirements of relevant laws and regulations, we may be subject to liabilities.

 

Our business of connecting investors and borrowers constitutes an intermediary service, and our contracts with investors and borrowers are intermediation contracts under the PRC Contract Law. Under the PRC Contract Law, an intermediary that intentionally conceals any material information or provides false information in connection with the conclusion of an intermediation contract, which results in harm to the client’s interests may not claim for any service fee for its intermediary services, and is liable for any damage incurred by the client. Therefore, if we fail to provide material information to investors and are found to be at fault, for failure to exercise proper care, or failure to conduct adequate information verification or supervision, we could be subject to liabilities as an intermediary under the PRC Contract Law. In addition, the Interim Measures and the Inspection Notice have imposed additional obligations on online lending information intermediaries to verify the truthfulness of the information provided by or in relation to loan applicants, actively detect fraud, conduct risk evaluation of lenders, make hierarchy management of lenders and disclose borrowers’ credit risk related information to lenders. In September 2019, the Head Office for Special Rectification of Peer-to-Peer Online Lending and the Head Office for Special Rectification of Online Finance Risk jointly issued the Circular of Strengthening the Construction of Credit Support System of Online Lending, or the Circular of Construction of Credit Support System, which stipulates that local financial authorities should command all online lending information intermediaries facilitating peer-to-peer lending to connect to designated credit database, including the financial credit information database operated by the People’s Bank of China. The Circular of Construction of Credit Support System also provides that these online lending information intermediaries should legally collect and report relevant credit information to the designated credit database. We have established corporation with Baihang Credit and are in negotiation with another credit data service company to facilitate our credit investigation and loan collection. We leverage a large database of past fraud cases, which is updated regularly, and sophisticated rule-based technologies, in detecting loan applicants’ fraudulent behaviors. As the Interim Measures and other applicable PRC laws and regulations are relatively new, it is still unclear to what extent online lending information intermediaries should exercise the duty of care in detecting fraud. Although we believe that, as an information intermediary, we should not bear the credit risk for investors as long as we take reasonable measures to detect fraudulent behaviors, we cannot assure you that we would not be subject to any liabilities under the Interim Measures if we fail to detect any fraudulent behavior. If that were to occur, our results of operations and financial condition could be materially and adversely affected.

 

 21 

 

 

Broader macro, political and socio-economic factors affecting market conditions can materially and adversely affect our business and operating results.

 

General economic, macro, political and socio-economic factors beyond our control may deter borrowers’ from seeking loans through our platform or investors attempting to lend through our platform. Such factors include the general interest rate ecosystem, unemployment rates, residential home values and availability of other investment opportunities. If any of these risk factors should materialize, the volume of loans facilitated through our platform may decline and our revenues and operating results may be adversely affected. For example, the fluctuation of interest rates may affect the demand for loan services on our platform, a decrease in interest rates may cause potential borrowers to seek lower-priced loans from other channels and a high interest rate environment may lead to an increase in competing investment options and dampen investors’ desire to invest on our platform. If we fail to respond to the fluctuations in interest rates in a timely manner and adjust our loan product offerings, potential and existing investors may delay or reduce their investments through our platform, and potential and existing borrowers may show less interest in our loan products and platform. As a result, fluctuations in the interest rate environment may discourage investors and borrowers from participating on our platform, which may adversely affect our business.

 

In addition, our business is subject to the credit cycle associated with the volatility of the general economy. If economic conditions deteriorate, we may face increased risk of default, which will result in lower returns or losses to investors. In the event that the creditworthiness of our borrowers deteriorates or we cannot track the deterioration of their creditworthiness, the criteria we use for the analysis of borrower credit profiles may be rendered inaccurate, rendering our risk management system ineffective. This in turn may lead to higher default rates and adverse impacts on our reputation, business, results of operations and financial positions.

 

We cannot guarantee that economic conditions will remain favorable for our business or industry and that demand and supply for loans we facilitate will continue to be met at current levels. If demand or supply reduces, or if the default rate increases, our growth and revenue will be negatively impacted.

 

We face risks related to natural disasters, health epidemics, civil and social disruption and other outbreaks, especially COVID-19, which could significantly disrupt our operations.

 

We are vulnerable to social and natural catastrophic events that are beyond our control, such as natural disasters, health epidemics, and other catastrophes, which may materially and adversely affect our business. Since December 2019, there has been an outbreak of respiratory illness caused by a novel strain of coronavirus, or COVID-19, in China and around the world. COVID-19 is considered to be highly contagious and poses a serious public health threat. The World Health Organization labeled the COVID-19 a pandemic on March 11, 2020, given its threat beyond a public health emergency of international concern that the organization had declared on January 30, 2020. In response to this pandemic, China, Italy, the United States and many other countries and jurisdictions have taken, and may adopt additional, restrictive measures to contain the virus’ spread, such as quarantines, travel restrictions and home office policies. These measures could slow down the development of the Chinese economy and adversely affect the global economic conditions and financial markets.

 

Substantially all of our operations are located in China and all of our revenue is sourced from China. Since the outbreak of COVID-19, our business and operation have been adversely affected. For example, due to the home office and quarantine measures ordered by PRC government, our headquarters and service centers across China were forced to close and some of our employees were unable to return to work until mid-March, 2020. As a result, our auto-backed loan application process, which requires physical inspection of automobiles, was significantly impeded, which in turn adversely affected our loan volume. The business of banks, institutional funding partners and offline channel partners we cooperate with are also adversely impacted, which also adversely affects the credit approval process and our borrower acquisition process. Our collection activities are also significantly limited due to various temporary measures introduced by Chinese central government and local governments, such as extension of the Lunar New Year holiday, travel restrictions and community quarantine, which has temporarily restrained our ability and efficiency in the collection of overdue loans. Moreover, most of our borrowers are small and micro enterprise owners, who are vulnerable in the face of economic depression. If their financial situation deteriorate, it may be difficult for them to repay loans on our platform. In addition, our business operations could be disrupted if any of our employees is suspected of contracting the COVID-19 or any other epidemic disease, since our employees could be quarantined and/or our offices be shut down for disinfection.

 

 22 

 

 

The COVID-19 has caused wide-ranging business disruptions and traffic declines in China in the first quarter of 2020, and with its growing spread globally, the virus’ adverse impact on business activities and travels in China and other parts of the world is expected to continue in the foreseeable future. The potential downturn brought by and the duration of the COVID-19 is difficult to assess or predict and actual effects will depend on many factors beyond our control, including the increased world-wide spread of COVID-19 and the relevant governments’ actions to contain COVID-19 or treat its impact. The extent to which the COVID-19 impacts our results remains uncertain, and we are closely monitoring its impact on us. Our business, results of operations, financial conditions and prospects could be adversely affected directly, as well as to the extent that the COVID-19 or any other epidemic harms the Chinese economy in general.

 

We do not prohibit our borrowers from incurring other debt or impose financial covenants on borrowers during the term of a loan, which will increase the risk of default.

 

Subsequent to a loan disbursement, a borrower may:

 

·become delinquent in payment obligations;

 

·default on a pre-existing debt obligation;

 

·commit to further indebtedness; and/or

 

·experience events bringing about adverse financial effects.

 

We do not prohibit our borrowers from incurring additional indebtedness, nor do we impose any financial covenants on borrowers during the term of a loan. Furthermore, we may not be able to ascertain whether a loan applicant has outstanding loans on other marketplace lending platforms. We are faced with the risk that borrowers borrow money through our platform to pay off loans on other marketplace lending platforms, creating a snowball effect of debt. Any additional indebtedness may impair a borrower’s ability to observe his or her payment obligations on the loans we facilitated, and therefore adversely affect the relevant investor’s returns. If a borrower becomes insolvent or bankrupt or otherwise runs into financial distress, any unsecured loan (including those obtained through our platform) will rank pari passu to each other and our investor may suffer losses.

 

If we are unable to effectively maintain the quality of our loan portfolio, our business, financial conditions and results of operations may be materially and adversely affected.

 

Our financial condition and results of operations are affected by our ability to effectively maintain the quality of our loan portfolio. If we are unable to effectively maintain and manage the quality of our loan portfolio due to any reason, the delinquency rates of our loan portfolio may increase. We are also obliged to compensate a portion of our institutional funding partners and corporate investors for their default losses, any deterioration in the quality of our loan portfolio or increase in our delinquency rate may materially and adversely affect our results of operations. Moreover, our borrowers, primarily small and micro enterprise owners, may have difficulties in repaying loans on our platform as a result of the COVID-19 outbreak or the resulting economic downturn, which could significantly deteriorate our loan portfolio and adversely impact of financial and operational results.

 

If our ability to collect delinquent loans is impaired, our business and results of operations might be materially and adversely affected.

 

We rely on both our in-house collection team and third-party collection service providers to collect delinquent loans. Our existing collection methods, such as phone calls, in-person visits and taking automobiles into custody, may not be as effective in the future. As we provide guarantees to a portion of our institutional funding partners, corporate investors and online investors who opt for alternative repayment arrangement, failure to collect these loans may also have a material adverse effect on our business, financial condition and results of operations.

 

 23 

 

 

We follow standardized procedures and protocols to collect delinquent loans and closely monitor our risk management personnel’s collection activities to ensure compliance with these procedures and protocols. Our post-loan risk management personnel are required to undertake, among others, (i) to strictly adhere to our standardized procedures and protocols to collect delinquent loans, (ii) to speak in a well-mannered tone and act civil and polite toward the borrowers and avoid any conversations or interactions that may lead to heated arguments, (iii) to contact the borrowers at reasonable hours, and refrain from making constant collection calls or visits that may be seen as harassment, (iv) in the event of conflicts with borrowers, to take the initiative to contact the police, and (v) not to engage in any practice or take any action during loan collection in violation of any applicable laws or regulations. However, we cannot assure you that our risk management personnel will comply with such undertakings at all times. In addition, these collection methods may be viewed by borrowers or regulatory authorities as harassments, threats or even criminal conducts, and we may be subject to lawsuits initiated by borrowers or prohibited by the regulatory authorities from using certain collection methods. If any of these were to happen and we fail to adopt alternative collection methods in a timely manner, or if the alternative collection methods are less effective, our ability in collecting delinquent loans may be impaired, and investors’ confidence and loan volume on our platform may decrease. Our risk management personnel’s collection practices, if deemed improper or illegal, may also compromise our reputation and harm our business. For further details, please see “— Any negative publicity with respect to us, our employees, the marketplace lending industry in general or our business partners may materially and adversely affect our business and results of operations.” Due to the outbreak of the COVID-19, our collection activities are significantly limited due to various temporary measures introduced by Chinese central government and local governments, such as extension of the Lunar New Year holiday, travel restrictions and community quarantine, which has temporarily restrained our ability and efficiency in the collection of overdue loans.

 

In addition, we place the automobiles we have taken into custody in parking lots or parking spaces we rent from third parties in close proximity to our service centers. We may not be able to properly store these automobiles before they are redeemed by borrowers or disposed of. For example, the automobiles we have taken into custody may be stolen, vandalized or suffer weather related damages. Even if the automobiles were stored properly, we cannot assure you that disposal value of the automobiles can fully cover the delinquent principal and interest. Furthermore, borrowers may dispute how we take into custody or dispose of the collaterals and our handling of proceeds from such disposal. If any of these were to occur, we may suffer losses and our brand image and relationship with borrowers may be harmed.

 

For certain auto-backed loans facilitated through our platform, investors’ rights to the automobile collateral have not been registered with the local automobile administrative offices. In the event that an automobile collateral for such loans is also used as collateral to secure another loan elsewhere and a third-party lender’s right to such automobile was registered with the local automobile administrative offices, the third-party lender will have priority to claim his rights to the automobile collateral over the investor on our platform if the borrower fails to repay the loans. As a result, the rights of investors on our platform may be negatively affected and our business and results of operations could be materially and adversely affected.

 

Our failure to compete effectively could adversely affect our results of operations and market share.

 

We face competition in auto-backed loan market in China. We compete directly with other auto-backed loan providers for both borrowers and investors, such as touna.cn and rrjc.com. As we focus on providing financial solutions to small and micro enterprise owners, we also compete with traditional financing channels and other marketplace lending platforms which provide loans to small and micro enterprise owners. In addition, we compete with other marketplace lending platforms for investors. Our competitors may operate with different business models, have different cost structures or participate selectively in different market segments. They may be more successful or more adaptable to new regulatory, technological and other developments. Some of our current and potential competitors have significantly more financial, technical, marketing and other resources than we do and may be able to devote greater resources to the development, promotion, sale and support of their business. Our competitors may also have more extensive borrower or investor bases, greater brand recognition and brand loyalty and broader partner relationships than us. Additionally, our current or potential competitors may acquire or form strategic alliances with one or more of our competitors, which could adversely affect our business, results of operations, financial condition and future growth.

 

 24 

 

 

In addition, our competitors may be better at developing new products, responding faster to new technologies and undertaking more extensive marketing campaigns. When new competitors seek to enter our target market, or when existing market participants seek to increase their market share, they sometimes undercut the pricing and/or terms prevalent in that market, which could adversely affect our market share or our ability to exploit new market opportunities. Our pricing and terms could deteriorate if we fail to act to meet these competitive challenges. If we are unable to compete with such companies and meet the need for innovation in our industry, the demand for our platform could stagnate or substantially decline, we could experience reduced revenues or our platform could fail to achieve or maintain more widespread market acceptance, any of which could harm our business and results of operations.

 

We experienced fluctuations in our revenue growth historically, and we may not be able to deliver rapid growth in the future.

 

We experienced fluctuations in our revenues and net income growth historically. Our net revenues increased by 10.4% from RMB3,545.4 million in 2017 to RMB3,913.5 million in 2018, while our net revenues decreased by 14.2% to RMB3,357.5 million (US$482.3 million) in 2019. Our net income increased by 27.3% from RMB474.8 million in 2017 to RMB604.6 million in 2018, while our net income decreased by 56.5% to RMB263.2 million (US$37.8 million) in 2019. The decrease in our net revenues and net income in 2019 was primarily due to (i) a downturn of China’s marketplace lending industry due to various regulatory and economic factors, which caused decreases in our loan volume and loan balance, and (ii) a decrease in auto-backed loans’ fee rates, as we adjusted the fee rates of auto-backed loans downward in the first half of 2018 to improve the competitiveness of our loan products. Decreases in net revenues was also due to an increase in delinquency rates, which primarily resulted from the industry-wide turmoil, and macroeconomic headwinds that negatively impacted small and micro enterprises. If we are not successful in managing our growth or executing our strategies effectively, our business, results of operations, financial condition and future growth may be materially and adversely affected.

 

Starting in January 2020, the outbreak of COVID-19 has significantly impacted the Chinese economy. The government measures designed to control the spread of the virus have also resulted in a decline in economic activities in China. In particular, we expect the decrease in automobile purchases and the rise in unemployment rates to result in a decrease in the volume of loans we facilitate and a rise in delinquency rates of our outstanding loans. The outbreak of COVID-19 is expected to continue to have a material adverse impact on our business, results of operations and financial condition beyond the first quarter of 2020. As a result, there can be no assurance that we will be able to successfully implement our growth strategies.

 

Any negative publicity with respect to us, our employees, the marketplace lending industry in general or our business partners may materially and adversely affect our business and results of operations.

 

The reputation of our brand is critical to our business and competitiveness. Factors that are vital to our reputation include, but are not limited to, our ability to:

 

·maintain the quality and reliability of our platform;

 

·provide borrowers and investors with a superior experience on our platform;

 

·enhance and improve our risk management system;

 

·effectively manage and resolve borrower and investor complaints; and

 

·effectively protect personal information and privacy of borrowers and investors.

 

Any malicious or negative allegation made by the media or other parties about the foregoing or other aspects of our company, including, but not limited to, our management, employees, business, compliance with law, financial condition or prospects, whether with merit or not, could severely compromise our reputation and harm our business and operating results.

 

 25 

 

 

As China’s marketplace lending industry is new and the regulatory framework for this industry is also evolving, negative publicity about this industry may arise from time to time. Negative publicity about China’s marketplace lending industry in general may also have a negative impact on our reputation, regardless of whether we have engaged in any inappropriate activities. The PRC government has recently instituted specific rules to develop a more transparent regulatory environment for the marketplace lending industry. See “Item 4. Information on the Company — B. Business Overview — Regulation — Regulations on Online Lending Information Services” and “— Regulations on Microcredit Companies” for more details. Any players in China’s marketplace lending industry who do not comply with these regulations may adversely impact the reputation of the industry as a whole. Furthermore, any negative development in, or negative perception of, the marketplace lending industry as a whole, even if factually incorrect or based on isolated incidents, could compromise our image, undermine the trust and credibility we have established and imposed a negative impact on our ability to attract new borrowers and investors. Negative developments in the marketplace lending industry, such as widespread borrower defaults, fraudulent behavior and/or the closure of other marketplace lending platforms, may also lead to tightened regulatory scrutiny of the sector and limit the scope of permissible business activities that may be conducted by marketplace lending platforms like us. For instance, since the second quarter of 2018, there has been an increasing number of business failures of, or accusations of fraud and unfair dealing against, companies in the marketplace lending industry in China. In late 2018, there were increased media coverage of marketplace lending platforms’ business failures. If borrowers and investors associate us with these failed companies, our reputation may be harmed and investor confidence on our platform may be adversely affected. If this were to happen, we may be forced to offer more favorable terms to investors, such as higher investment return, in order to ensure that there is sufficient investment commitment on our platform, which in turn may adversely affect our business and results of operations and impair our ability to grow our business.

 

In addition, negative publicity about our business partners, such as negative publicity about their loan collection practices, any failure by them to adequately protect the information of our borrowers and investors, or to otherwise meet required quality and service standards, could harm our reputation and materially and adversely affect our business and results of operations.

 

If we fail to promote and maintain our brand in a cost-efficient way, our business and results of operations may be harmed.

 

We believe that effectively developing and maintaining awareness of our brand is critical to attracting and retaining borrowers and investors on our platform. This depends largely on the effectiveness of our marketing efforts and the success of the channels we use to promote our platform. If any of our current marketing channels become less effective, if we are unable to continue to use any of these channels, if the cost of using these channels were to significantly increase or if we are not successful in generating new channels, we may not be able to attract new borrowers and investors in a cost-effective manner or convert prospective borrowers and investors into active borrowers and investors on our platform.

 

Our efforts to build our brand have caused us to incur significant expenses, and it is likely that our future marketing efforts will require us to incur significant additional expenses. These efforts may not result in increased revenues in the immediate future or at all and, any increases in revenues may not offset the expenses incurred. If we fail to successfully promote and maintain our brand while incurring substantial expenses, our results of operations and financial condition would be adversely affected, which may impair our ability to grow our business.

 

Loss of or failure to maintain the relationship with our business partners may materially and adversely affect our business and results of operations.

 

We currently rely on a range of business partners in various aspects of our business. We work with online and offline channel partners, such as third-party mobile apps, websites and financial service providers for borrower and investor acquisition. We rely on our service center operation partners in operating our partner-operated service centers. Furthermore, we collaborate with a variety of third-party service providers to conduct our business, including data service providers and credit scoring service providers for data aggregation, collection service providers for post-loan collections and payment service providers for the transfer of funds between borrowers and investors.

 

 26 

 

 

Pursuing, establishing and maintaining relationships with our business partners requires significant time and resources. If we cannot successfully pursue, establish or maintain relationships with our business partners, our business operations may be adversely affected. In addition, our agreements with our business partners generally do not prohibit them from working with our competitors or offering competing services. Our competitors may be more effective in providing incentives to our business partners, which may cause our business partners to favor business relationship with them over their relationship with us and devote more resources toward our competitors. Moreover, our business partners may devote more resources to support their own competing businesses, which may compete with our business and adversely affect our business relationship with these business partners. Furthermore, if our business partners fail to perform their obligations under our agreements with them, we may have disagreements or disputes with them or suspend or terminate our business relationship, which could adversely affect our business operations and brand image. If our relationship with any of our existing business partners is suspended or terminated, we may not be able to find replacement business partners in a timely and cost-effective manner or at all, which could negatively impact our business, financial condition and results of operations.

 

Misconduct, errors and failure to comply with applicable laws and regulations by our employees or business partners could harm our business and reputation.

 

We are exposed to many types of operational risks, including the risk of misconduct and errors by our employees and our business partners. Our business depends on our employees and our business partners to interact with borrowers and investors, process large amounts of data and transactions and support the loan collection process. We may not be able to identify and deter misconduct or errors by our employees or our business partners at all times, and the precautions we take to detect and prevent these activities may not be effective. If transactions are redirected, misappropriated or otherwise improperly executed, if personal information are disclosed to unintended recipients or if an operational breakdown or failure during the process of transactions occurs, whether as a result of human error, or purposeful sabotage or fraudulent manipulation of our operations or systems, our business operations and reputation could be materially adversely affected. For example:

 

·The manner in which we interact with borrowers and investors and store and use their personal information through our platform is governed by various PRC laws. If any of our employees or business partners fails to follow our protocols when interacting with borrowers and investors, or takes, converts or misuses borrowers’ or investors’ funds, documents or personal information, we could be liable for damages suffered by borrowers or investors and become subject to regulatory actions and penalties. We could also be perceived to have facilitated or participated in the illegal misappropriation of funds, documents or personal information, and therefore be subject to civil or criminal liability. For instance, our third-party data service providers may provide us with personal information of borrowers that is illegally obtained, which may subject us to liabilities;

 

·We rely on both our in-house collection team and third-party collection service providers for loan collection. Any aggressive practice or misconduct by our employees or third-party service providers during loan collection process could damage our reputation; and

 

·Although we have formulated policies and procedures aimed at preventing money laundering and terrorism financing, we cannot assure you that these policies and procedures will be effective to prevent our employees from engaging in money laundering or terrorism financing activities. In addition, third-party payment service providers are required to have in place appropriate anti-money laundering policies and procedures under applicable anti-money laundering laws and regulations issued by the PBOC. If any of our third-party service providers fails to comply with the applicable anti-money laundering laws and regulations, our reputation could suffer and we could become subject to regulatory intervention.

 

Any of these occurrences could result in our diminished ability to operate our business, potential liability to borrowers and investors, inability to attract borrowers and investors, reputational damage, regulatory intervention and financial harm, which could negatively impact our reputation, business, financial condition and results of operations.

 

 27 

 

 

If we fail to implement and maintain an effective system of internal controls over financial reporting, we may be unable to accurately and timely report our results of operations, meet our reporting obligations or prevent fraud, and investor confidence, and the market price of our ADSs may be materially and adversely affected.

 

We are subject to reporting obligations under the U.S. securities laws. The SEC, as required by Section 404 of the Sarbanes-Oxley Act of 2002, adopted rules requiring every public company to include a management report on such company’s internal control over financial reporting in its annual report, which contains management’s assessment of the effectiveness of our internal control over financial reporting. However, we were not subject to the requirement to provide attestation by our independent registered public accounting firm on effectiveness of internal control over financial reporting for the year ended December 31, 2019 as we qualified as an “emerging growth company,” as defined in the JOBS Act, as of December 31, 2019. Once we cease to be an “emerging growth company,” our independent registered public accounting firm must attest to and report on the effectiveness of our internal control over financial reporting, unless we qualify for other exemptions.

 

Our management, with the participation of our chief executive officer and chief financial officer, has performed an evaluation of the effectiveness of our disclosure controls and procedures (as defined in Rule 13a-15(e) under the Exchange Act) as of the end of the period covered by this report, as required by Rule 13a-15(b) under the Exchange Act. Based upon that evaluation, our management has concluded that our internal control over financial reporting was ineffective as of December 31, 2019 due to one material weakness in our internal control over financial reporting and other control deficiencies. As defined in standards established by the United States Public Company Accounting Oversight Board, or the PCAOB, a “material weakness” is a deficiency, or a combination of deficiencies, in internal control over financial reporting, such that there is a reasonable possibility that a material misstatement of the company’s annual or interim financial statements will not be prevented or detected on a timely basis. The material weakness identified is the insufficient number of financial reporting personnel with appropriate level of knowledge and experience in application of U.S. GAAP and SEC rules and regulations commensurate with our reporting requirements. Following the identification of the material weakness and other control deficiencies, we have taken measures and plan to continue to take measures to remediate timely these deficiencies. For details about remediation, refer to “Item 15. Controls and Procedures” for more details. However, the implementation of these measures may not fully address the material weakness and deficiencies in our internal control over financial reporting, and we will be unable to conclude that they have been remediated. Our failure to correct the material weakness and control deficiencies or our failure to discover and address any other material weakness or control deficiencies could result in inaccuracies in our financial statements and could also impair our ability to comply with applicable financial reporting requirements and related regulatory filings on a timely basis. As a result, our business, financial condition, results of operations and prospects, as well as the trading price of our ADSs, may be materially and adversely affected. Moreover, ineffective internal control over financial reporting significantly hinders our ability to prevent fraud.

 

In addition, once we cease to be an “emerging growth company” as such term is defined in the JOBS Act, our independent registered public accounting firm must attest to and report on the effectiveness of our internal control over financial reporting. Even if our management concludes that our internal control over financial reporting is effective, our independent registered public accounting firm, after conducting its own independent testing, may issue an adverse opinion if it is not satisfied with our internal controls or the level at which our controls are documented, designed, operated or reviewed, or if it interprets the relevant requirements differently from us. In addition, our reporting obligations may place a significant strain on our management, operational and financial resources and systems for the foreseeable future. We may be unable to timely complete our evaluation testing and any required remediation.

 

During the course of documenting and testing our internal control procedures, in order to satisfy the requirements of Section 404, we may identify other weaknesses and deficiencies in our internal control over financial reporting. In addition, if we fail to maintain the adequacy of our internal control over financial reporting, as these standards are modified, supplemented or amended from time to time, we may not be able to conclude on an ongoing basis that we have effective internal control over financial reporting in accordance with Section 404. Moreover, our internal control over financial reporting may not prevent or detect all errors and fraud. A control system, no matter how well it is designed and operated, it cannot provide absolute assurance that misstatements due to error or fraud will not occur or that all control issues and instances of fraud will be detected. If we fail to achieve and maintain an effective internal control environment, we could suffer material misstatements in our financial statements and fail to meet our reporting obligations, which would likely cause investors to lose confidence in our reported financial information. This could in turn limit our access to capital markets, harm our results of operations, and lead to a decline in the trading price of our ADSs. Additionally, ineffective internal control over financial reporting could expose us to increased risk of fraud or misuse of corporate assets and subject us to potential delisting from the stock exchange on which we list, regulatory investigations and civil or criminal sanctions. We may also be required to restate our financial statements from prior periods.

 

 28 

 

 

Any significant service disruptions or outages on our platform, in our computer systems or our business partners’ computer systems could prevent us from facilitating loans through our platform, reduce the attractiveness of our platform or result in a loss of borrowers or investors.

 

The satisfactory performance, reliability and availability of our platform and computer systems are critical to our operations, customer service, reputation and our ability to retain existing and attract new borrowers and investors. There is no assurance that we will be able to protect our platform and computer systems against, among others, damage or interruption from natural disasters, power or telecommunications failures, air quality issues, environmental conditions, software errors, bugs or defects, configuration errors, computer viruses, security breaches, hacking attempts or criminal acts at all times. Our business partners’ computer systems may also be vulnerable to such errors, bugs, defects or breaches. In the event of any service disruption or outage of the computer systems of our company or those of our business partners, our ability to facilitate loans may be adversely affected. For example, we may experience temporary service disruptions or data losses during data migrations between old and new systems or system upgrades. We may not be able to recover all data and services in the event of a service disruption or outage. Additionally, our insurance policies may not adequately compensate us for any losses that we may incur during service disruptions or outages.

 

Any interruption or delays in our services, whether as a result of third-party or our error, natural disasters or security breaches, whether accidental or willful, could harm our relationships with our borrowers and investors and our reputation, subject us to liabilities and cause borrowers and investors to abandon our platform, any of which could adversely affect our business, financial condition and results of operations.

 

Cyber-attacks, computer viruses, physical or electronic break-ins or other unauthorized access to our or our business partners’ computer systems could result in misuse of confidential information and misappropriation of funds of our borrowers and investors, subject us to liabilities, cause reputational harm and adversely impact our results of operations and financial condition.

 

Our platform collects, stores and processes certain personal information and other sensitive data from our borrowers and investors. The massive data that we have processed and stored makes us and our server hosting service providers the targets of, and potentially vulnerable to, cyber-attacks, computer viruses, physical or electronic break-ins or other unauthorized access. While we have not experienced any material business or reputational harm as a result of such breach in the past, there can be no assurance that our security measures to protect borrowers and investors’ confidential information and funds will not be breached in the future. Because techniques used to sabotage or obtain unauthorized access into systems change frequently and generally are not recognized until they are launched against a target, we may be unable to anticipate these techniques or to implement adequate preventative measures. Any accidental or willful security breaches or other unauthorized access to our or our server hosting service providers’ systems could cause confidential borrower and investor information to be stolen and used for criminal purposes. As personally identifiable and other confidential information is subject to legislation and regulations in numerous domestic and international jurisdictions, inability to protect confidential information of our borrowers and investors could result in additional cost and liability for us, damage our reputation, inhibit the use of our platform and harm our business. The Administrative Measures for the Security of the International Network of Computer Information Network, issued in December 1997 and amended in January 2011, requires us to report any data or security breaches to the local offices of the PRC Ministry of Public Security within 24 hours of any such breach. The Cyber Security Law of the PRC, issued in June 2017, requires us to take immediate remedial measures when we discover that our products or services are subject to risks, such as security defects or bugs. Such remedial measures include, informing our borrowers and investors of the specific risks and reporting such risks to the relevant competent departments.

 

 29 

 

 

We also face indirect technology and cybersecurity risks relating to our business partners, including our third-party payment service providers which manage the transfer of borrower and investor funds and our custodian bank which provides custodian services for our borrowers’ and investors’ funds. As a result of increasing consolidation and interdependence of computer systems, a technology failure, cyber-attack or other information or security breach that significantly compromises the systems of one entity could have a material impact on its business partners. Although our agreements with third-party payment service providers and custodian bank provide that each party is responsible for the cybersecurity of its own systems, any cyber-attacks, computer viruses, physical or electronic break-ins or similar disruptions of such third-party payment service providers and custodian bank could, among other things, adversely affect our ability to serve our borrowers and investors, and could even result in misappropriation of funds of our borrowers and investors. If that were to occur, our third-party payment service providers, custodian bank and us could be held liable to borrowers and investors who suffer losses from the misappropriation.

 

Our future growth depends on the acceptance of the internet as an effective platform for financial products and content.

 

The internet, including the mobile internet, has gained increased popularity in China as a platform for financial products and content in recent years. However, certain borrowers and investors have limited experience in handling financial products and content online and may have reservations about using online platforms. For example, borrowers may not find online content to be a reliable source of financial product information and investors may not believe online platforms are secure for risk assessment. If we fail to educate prospective borrowers and investors about the value of our platform and our products and services, our growth will be limited and our business, financial performance and prospects may be materially and adversely affected. The further acceptance of the internet as an effective and efficient platform for financial products and content is also affected by factors beyond our control, including negative publicity around online and mobile lending and restrictive regulatory measures taken by the PRC government. If we do not achieve adequate acceptance in the market, our growth prospects, results of operations and financial condition could be harmed.

 

We may be held liable for information or content displayed on, retrieved from or linked to our website or mobile apps, which may materially and adversely affect our business and operating results.

 

The PRC government has adopted regulations governing internet access and distribution of information over the internet. Under these regulations, internet content providers and internet publishers are prohibited from posting on the internet content that, violates PRC laws and regulations, impairs the national dignity of China, contains terrorism, extremism, content of force or brutality, or is reactionary, obscene, superstitious, fraudulent or defamatory. Failure to comply with these requirements may result in the revocation of licenses to provide internet content and other licenses, the closure of the concerned websites and criminal liabilities. In the past, failure to comply with these requirements has resulted in the closure of certain websites. The website operator may also be held liable for the censored information displayed on or linked to the website.

 

In particular, the Ministry of Industry and Information Technology, or the MIIT, has published regulations that place website operators with liability for content displayed on their websites and actions of users of their systems, that are deemed to be socially destabilizing. The Ministry of Public Security has the authority to order any local internet service provider to block any internet website at its sole discretion. From time to time, the Ministry of Public Security has stopped the dissemination over the internet of information which it believes to be socially destabilizing. The State Secrecy Bureau is also authorized to block any website it deems to be leaking state secrets or failing to meet the relevant regulations relating to the protection of state secrets. Furthermore, we are required to report any suspicious content to relevant governmental authorities, and to undergo computer security inspections. If we fail to implement the relevant safeguards against security breaches, our websites may be shut down and our business and ICP licenses may be revoked.

 

In addition to our website, we also facilitate loans through our mobile apps, which are regulated by the Regulations for Administration on Mobile Internet Applications Information Services, or the MIAIS Regulations, promulgated by the Cyberspace Administration of China, or the CAC, in June 2016 and became effective on in August 2016. According to the MIAIS Regulations, the providers of mobile apps shall not create, copy, publish or distribute information and content that is prohibited by laws and regulations. We have implemented internal control procedures screening the information and content on our mobile apps to ensure their compliance with the MIAIS Regulations. However, we cannot assure that all the information or content displayed on, retrieved from or linked to our mobile apps complies with the requirements of the applicable laws and regulations, including MIAIS Regulations at all times. Failure to identify and prevent illegal or inappropriate content from being displayed on our platform may result in legal and administrative liabilities, government sanctions, loss of licenses and/or permits, or reputational harm. If the PRC regulatory authorities find any incompliant content displayed on our platform, they may require us to limit or eliminate the dissemination of such content on our platform, and if our mobile apps were found to be violating the MIAIS Regulations, we may be subject to administrative penalties, including warning, service suspension or removal of our mobile apps from the relevant app stores, which may materially and adversely affect our business and operating results.

 

 30 

 

 

We may from time to time be subject to claims, controversies, lawsuits and legal proceedings, which could have a material adverse effect on our financial condition, results of operations, cash flows and reputation.

 

We have been, and may from time to time in the future, become subject to or involved in various claims, controversies, lawsuits, and legal proceedings. For example, we have ceased to offer investment programs to our online investors and cancelled all existing investment programs since February 2020. Our existing investment programs investors now directly fund the underlying loans they used to invest in through our investment programs. We have informed all online investors on our platforms of this business change and have offered all our online investors an alternative repayment arrangement until June 9, 2020. After that, we may offer remaining online investors who have not opted in the alternative repayment arrangement a supplement repayment arrangement, according to which, online investors may not be able to receive interest and may incur principal loss. Although we are dedicated to ensuring a smooth and safe transition process for all of our existing online investors, some online investors may not be satisfied with our arrangement and may brought lawsuits against us. For more information related to cancellation of investment programs and alternative repayment arrangement, please see “Item 4. Information on the Company — B. Business Overview — Our Investors and Investment Products — Investment Products and Services Offered to Online Investors — Investment Programs.” Lawsuits and litigations may cause us to incur defense costs, utilize a significant portion of our resources and divert management’s attention from our day-to-day operations, any of which could harm our business. Any settlements or judgments against us could have a material adverse impact on our financial condition, results of operations and cash flows. In addition, negative publicity regarding claims or judgments made against us may damage our reputation and may result in material adverse impact on us.

 

We may not be able to prevent others from unauthorized use of our intellectual property, which could harm our business and competitive position.

 

We regard our trademarks, domain names, know how, proprietary technologies and similar intellectual property as critical to our success, and we rely on a combination of intellectual property laws and contractual arrangements, including confidentiality, invention assignment and non-compete agreements with our employees and others to protect our proprietary rights. See also “Item 4. Information on the Company — B. Business Overview — Intellectual Property.” Despite these measures, any of our intellectual property rights could be challenged, invalidated, circumvented, preempted or misappropriated, or such intellectual property may not be sufficient to provide us with competitive advantages. We cannot assure you that the measures we have taken will be sufficient to prevent any misappropriation of our intellectual properties.

 

It is often difficult to maintain and enforce intellectual property rights in China. Statutory laws and regulations are subject to judicial interpretation and enforcement and may not be applied consistently due to the lack of clear guidance on statutory interpretation. Confidentiality, invention assignment and non-compete agreements may be breached by counterparties, and there may not be adequate remedies available to us for any such breach. Accordingly, we may not be able to effectively protect our intellectual property rights or to enforce our contractual rights in China. Preventing any unauthorized use of our intellectual property is difficult and costly and the steps we take may be inadequate to prevent the misappropriation of our intellectual property. In the event that we resort to litigation to enforce our intellectual property rights, such litigation could result in substantial costs and a diversion of our managerial and financial resources. We can provide no assurance that we will prevail in such litigation. In addition, our trade secrets may be leaked or otherwise become available to, or be independently discovered by, our competitors. To the extent that our employees or business partners use intellectual property owned by others in their work for us, disputes may arise as to the rights in related know how and inventions. Any failure in protecting or enforcing our intellectual property rights could have a material adverse effect on our business, financial condition and results of operations.

 

 31 

 

 

 

We rely on licensing arrangements with our affiliate, Hangzhou Ruituo, to use the trademark “  ” and any failure to protect these trademark rights could adversely affect our business and financial condition.

 

Our rights to our trade names and trademarks are among the most important factor in marketing our services and operating our business. The trademark “   ”, is owned by our affiliate, Hangzhou Ruituo, and we have obtained the exclusive right to use this trademark under a licensing agreement with Hangzhou Ruituo, so long as the trademark is valid. We have paid nominal fees to Hangzhou Ruituo Technology Co., Ltd., or Hangzhou Ruituo, for this trademark license.

 

If we are no longer able to use the “  ” trademark due to any dispute with Hangzhou Ruituo or for any other reasons, our reputation, business and results of operations could be materially and adversely affected. In addition, Hangzhou Ruituo may be subject to infringement claims with regard to these trademarks and any failure in defending themselves against such claims could have a material adverse effect on our business, financial condition and results of operations.

 

We may be subject to intellectual property infringement claims, which may be expensive to defend and may disrupt our business and operations.

 

We cannot be certain that our operations or any aspects of our business do not or will not infringe upon or otherwise violate trademarks, patents, copyrights, know-how or other intellectual property rights held by third parties. We may be from time to time, in the future, become subject to legal proceedings and claims relating to the intellectual property rights of others. In addition, there may be third-party trademarks, patents, copyrights, know-how or other intellectual property rights that are infringed by our products, services or other aspects of our business without our awareness. Holders of such intellectual property rights may seek to enforce such intellectual property rights against us in China, the United States or other jurisdictions. If any third-party infringement claims are brought against us, we may be forced to divert management’s time and other resources from our business and operations to defend against these claims, regardless of their merits.

 

Additionally, the application and interpretation of China’s intellectual property right laws and the procedures and standards for granting trademarks, patents, copyrights, know-how or other intellectual property rights in China are still evolving and are uncertain, and we cannot assure you that PRC courts or regulatory authorities would agree with our analysis. If we were found to have violated the intellectual property rights of others, we may be subject to liability for our infringement activities or may be prohibited from using such intellectual property, and we may incur licensing fees or be forced to develop alternatives of our own. As a result, our business and results of operations may be materially and adversely affected.

 

We may not be able to obtain additional capital on favorable terms or at all.

 

We anticipate that our current cash and cash equivalents and anticipated cash flows from operating activities will be sufficient to meet our current and anticipated needs for general corporate purposes for at least the next 12 months. However, we need to make continued investments in various aspects of our business operations in order to remain competitive. Due to the unpredictable nature of the capital markets and our industry, we cannot assure you that we will be able to raise additional capital on terms favorable to us, or at all, if and when required, especially if we experience disappointing operating results. If adequate capital is not available to us as required, our ability to fund our operations, take advantage of unanticipated opportunities, develop or enhance our infrastructure or respond to competitive pressures could be significantly limited, which would adversely affect our business, financial condition and results of operations. If we do raise additional funds through the issuance of equity or convertible debt securities, the ownership interests of our shareholders could be significantly diluted. These newly issued securities may have rights, preferences or privileges senior to those of existing shareholders.

 

Our business is subject to the risks associated with international operations.

 

As part of our business development plan, we have expanded and will continue to expand our business to the overseas markets. Expanding our business internationally exposes us to a number of risks, including:

 

 32 

 

 

·fluctuations in currency exchange rates;

 

·our ability to select the appropriate geographical regions for international expansion;

 

·difficulty in identifying appropriate partners and establishing and maintaining good cooperative relationships with them;

 

·difficulty in understanding local markets and culture;

 

·challenges due to our unfamiliarity with local laws, regulations and policies,

 

·increased costs associated with doing business in foreign jurisdictions;

 

·lack of significant operating experience in local market,

 

·increased cost associated with establishment of overseas operations and maintaining a multi-national organizational structure; and

 

·various other risks that are beyond our control.

 

The industry we operate in is heavily regulated, and our overseas operations need to comply with different local laws and regulations governing marketplace lending platforms. Due to our limited experience in doing business in the overseas markets, we are unfamiliar with those local laws, regulation and policies. Our failure to obtain the required approvals, permits, licenses or filings, to comply with the conditions associated therewith, or otherwise comply with local laws and regulations could result in fines, sanctions, suspension, revocation or non-renewal of approvals, permits or licenses, or even criminal penalties, which could have a material adverse effect on our business, financial condition and results of operations.

 

As we enter into new markets in different jurisdictions, we will also face different business environments and industry conditions, and we may spend substantial resources familiarizing ourselves with the new environment and conditions. To the extent that our business operations are affected by unexpected and adverse economic, regulatory, social and political conditions in the new markets we are expanding into, we may experience operation disruptions, loss of customers, reputation harm and other indirect losses that could adversely affect our business, financial condition and results of operations. We cannot guarantee that our overseas expansion will be successful and profitable, if not, our financial condition and operating results also could be significantly affected and we may not be able to recover those investments.

 

Furthermore, we have implemented policies and procedures designed to facilitate compliance with laws and regulations in foreign jurisdictions applicable to us, but there can be no assurance that our employees or business partners will not violate such laws and regulations or our policies. Any such violations could individually or in the aggregate materially and adversely affect our financial condition or operating results.

 

From time to time we may evaluate and potentially consummate strategic investments or acquisitions, which could require significant management attention, disrupt our business and adversely affect our financial results.

 

We may evaluate and consider strategic investments, combinations, acquisitions or alliances to further increase the value of our platform and better serve borrowers and investors. These transactions could be material to our financial condition and results of operations if consummated. If we are able to identify an appropriate business opportunity, we may not be able to successfully consummate the transaction and, even if we do consummate such a transaction, we may be unable to obtain the benefits or avoid the difficulties and risks of such transaction.

 

Strategic investments or acquisitions will involve risks commonly encountered in business relationships, including difficulties in integrating the operations, systems, data, technologies and products and services of the acquired business, difficulties in retaining, training, motivating and integrating key personnel and retaining relationships with customers, employees and suppliers of the acquired business, difficulties in maintaining uniform standards, controls, procedures and policies within the combined organizations, assumption of hidden liabilities for activities of the acquired business before the acquisition, diversion of our management’s time and resources and potential disruptions to our business operations. We may not make any investments or acquisitions, or any future investments or acquisitions may not be successful, may not benefit our business strategy, may not generate sufficient revenues to offset the associated acquisition costs or may not otherwise result in the intended benefits.

 

 33 

 

 

Our business depends on the continued efforts of our senior management. If one or more of our key executives were unable or unwilling to continue in their present positions, our business may be severely disrupted.

 

Our business operations depend on the continued services of our senior management, particularly the executive officers named in this annual report. While we have provided different incentives to our management, we cannot assure you that we can continue to retain their services. If one or more of our key executives were unable or unwilling to continue in their present positions, we may not be able to replace them easily or at all, our future growth may be constrained, our business may be severely disrupted and our financial condition and results of operations may be materially and adversely affected. We may incur additional expenses to recruit, train and retain qualified personnel. In addition, although we have entered into confidentiality and non-competition agreements with our management, there is no assurance that any member of our management team will not join our competitors or form a competing business. If any dispute arises between our current or former officers and us, we may have to incur substantial costs and expenses in order to enforce such agreements in China or we may be unable to enforce them at all.

 

Competition for employees is intense, and we may not be able to attract and retain the qualified and skilled employees needed to support our business.

 

We believe our success depends on the efforts and talent of our employees, including our operations, risk management, sales and marketing, technology and other personnel. Our future success depends on our continued ability to attract, develop, motivate and retain qualified and skilled employees. Competition for skilled and experienced personnel is extremely intense. We may not be able to hire and retain these personnel at compensation levels consistent with our existing compensation and salary structure. Some of our competitors may have greater resources and may be able to offer more attractive terms of employment.

 

In addition, we invest significant time and expenses in training our employees, which increases their value to our competitors, who may seek to recruit them. If we fail to retain our employees, we could incur significant expenses in hiring and training new employees, and the quality of our services and our ability to serve borrowers and investors could diminish, resulting in a material adverse effect to our business.

 

Increases in labor costs in the PRC may adversely affect our business and results of operations.

 

The economy in China has experienced increases in inflation and labor costs in recent years. As a result, average wages in the PRC are expected to continue to increase. In addition, we are required by PRC laws and regulations to pay various statutory employee benefits, including pension, housing fund, medical insurance, work-related injury insurance, unemployment insurance and maternity insurance to designated government agencies for the benefit of our employees. We expect that our labor costs, including wages and employee benefits, will continue to increase. Unless we are able to control our labor costs or pass on these increased labor costs to our borrowers and investors by increasing the fees of our services, our financial condition and results of operations may be adversely affected.

 

We have limited insurance coverage which could expose us to significant costs and business disruption.

 

The insurance industry in China is still in an early stage of development, and insurance companies in China currently offer limited business-related insurance products. We do not maintain any business interruption insurance or general third-party liability insurance. We consider our insurance coverage to be reasonable in light of the nature of our business and the insurance products that are available in China and in line with the practices of other companies in the same industry of similar size in China, but we cannot assure you that our insurance coverage is sufficient to prevent us from any loss or that we will be able to successfully claim our losses under our current insurance policies on a timely basis, or at all. If we incur any loss that is not covered by our insurance policies, or the compensated amount is significantly less than our actual loss, our business, financial condition and results of operations could be materially and adversely affected.

 

 34 

 

 

Risks Related to Our Corporate Structure

 

If the PRC government deems that the contractual arrangements in relation to our variable interest entities do not comply with PRC regulatory restrictions on foreign investment in the relevant industries, or if these regulations or the interpretation of existing regulations change in the future, we could be subject to severe penalties or be forced to relinquish our interests in those operations.

 

Foreign ownership of internet-based businesses, such as distribution of online information and other value-added telecommunication services, are subject to restrictions under current PRC laws and regulations. For example, foreign investors are generally not allowed to own more than 50% of the equity interests in a value-added telecommunication service provider and any such foreign investor must have experience in providing value-added telecommunications services overseas and maintain a good track record in accordance with the Guidance Catalog of Industries for Foreign Investment promulgated in 2007, as amended in 2011, 2015 and 2017, and other applicable laws and regulations.

 

We are a Cayman Islands company and Weidai Co., Ltd., our PRC subsidiary, is considered a foreign invested enterprise. To comply with PRC laws and regulations, we conduct our operations in China through a series of contractual arrangements entered into among Weidai Co., Ltd., Weidai Financial Information, and the shareholders of Weidai Financial Information. In addition, another series of contractual arrangements have been entered into among Weidai Co., Ltd., Hangzhou Yuntuo Group Co., Ltd., or Yuntuo, and the shareholders of Yuntuo. As a result of these contractual arrangements, we exert control over Weidai Financial Information and Yuntuo and consolidate their operating results in our financial statements under U.S. GAAP. Weidai Financial Information has been operating our business, including, among others, operations of our www.weidai.com.cn website since its incorporation. See “Item 4. Information on the Company — C. Organizational Structure —  Contractual Arrangements with Our Variable Interest Entities — Contractual Arrangements with Weidai Financial Information” for more details. Weidai Financial Information has obtained a value-added telecommunications service license for operations of internet content service from the Zhejiang Administration of Telecommunications in August 2016, which will remain valid until August 2021, and a value-added telecommunications service license for operation of domestic call center service from MIIT in August 2017, which will remain valid until August 2022.

 

We believe that our corporate structure and contractual arrangements comply with the current applicable PRC laws and regulations. Our PRC legal counsel, CM Law Firm, based on its understanding of the relevant laws and regulations, is of the opinion that each of the contracts among Weidai Co., Ltd., Weidai Financial Information and its shareholders, and each of the contracts among Weidai Co., Ltd., Yuntuo and its shareholders are valid, binding and enforceable in accordance with their terms. However, as there are substantial uncertainties regarding the interpretation and application of PRC laws and regulations, including the Regulations on Mergers and Acquisitions of Domestic Enterprises by Foreign Investors, or the M&A Rules, and the Telecommunications Regulations and the relevant regulatory measures concerning the telecommunications industry, there can be no assurance that the PRC government authorities, such as the Ministry of Commerce, or the MOC, the MIIT, or other authorities that regulate the telecommunications industry, would agree that our corporate structure or any of the above contractual arrangements comply with PRC licensing, registration or other regulatory requirements, with existing policies or with requirements or policies that may be adopted in the future. PRC laws and regulations governing the validity of these contractual arrangements are uncertain and the relevant government authorities have broad discretion in interpreting these laws and regulations.

 

If our corporate structure and contractual arrangements are deemed by the MIIT or the MOC or other regulators having competent authority as illegal, either in whole or in part, we may lose control of our variable interest entities and have to modify such structure to comply with regulatory requirements. However, there can be no assurance that we can achieve this without material disruption to our business. Further, if our corporate structure and contractual arrangements are found to be in violation of any existing or future PRC laws or regulations, the relevant regulatory authorities would have broad discretion in dealing with such violations, including:

 

 35 

 

 

·revoking our business and operating licenses;

 

·levying fines on us;

 

·confiscating any of our income that they deem to be obtained through illegal operations;

 

·shutting down our services;

 

·discontinuing or restricting our operations in China;

 

·imposing conditions or requirements with which we may not be able to comply;

 

·requiring us to change our corporate structure and contractual arrangements;

 

·restricting or prohibiting our use of the proceeds from our initial public offering to finance the business and operations of our variable interest entities; and

 

·taking other regulatory or enforcement actions that could be harmful to our business.

 

It is uncertain whether any new PRC laws, regulations or rules relating to the “variable interest entity” structure will be adopted or if adopted, what they would provide. In particular, on March 15, 2019, the National People’s Congress promulgated the PRC Foreign Investment Law, which became effective on January 1, 2020 and replace the existing laws regulating foreign investment in China, namely, the PRC Equity Joint Venture Law, the PRC Cooperative Joint Venture Law and the Wholly Foreign-owned Enterprise Law, together with their implementation rules and ancillary regulations. The approved Foreign Investment Law does not touch upon the relevant concepts and regulatory regimes that were historically suggested relating to the regulating of VIE structures, and thus whether variable interest entities are foreign invested enterprises remains unclear under the PRC Foreign Investment Law. Since the PRC Foreign Investment Law is newly published, there is still uncertainties in relation to its interpretation and implementation and it is still possibility that variable interest entities will be deemed as foreign invested enterprises and be subject to restrictions in the future. If the ownership structure, contractual arrangements and business of our company, our PRC subsidiary or our variable interest entities are found to be in violation of any existing or future PRC laws or regulations, or we fail to obtain or maintain any of the required permits or approvals, the relevant governmental authorities would have broad discretion in dealing with such violation, including levying fines, confiscating our income or the income of our PRC subsidiary, Weidai Financial Information or Yuntuo, revoking the business licenses or operating licenses of our PRC subsidiary, Weidai Financial Information or Yuntuo, shutting down our servers or blocking our online platform, discontinuing or placing restrictions or onerous conditions on our operations, requiring us to undergo a costly and disruptive restructuring, restricting or prohibiting our use of proceeds from our initial public offering to finance our business and operations in China, and taking other regulatory or enforcement actions that could be harmful to our business. Any of these actions could cause significant disruption to our business operations and severely damage our reputation, which would in turn materially and adversely affect our business, financial condition and results of operations. If any of these occurrences results in our inability to direct the activities of Weidai Financial Information and Yuntuo, and/or our failure to receive economic benefits from Weidai Financial Information and Yuntuo, we may not be able to consolidate their results into our consolidated financial statements in accordance with U.S. GAAP.

 

We rely on contractual arrangements with our variable interest entities and their respective shareholders for a significant portion of our business operations, which may not be as effective as direct ownership in providing operational control.

 

We have relied and expect to continue to rely on contractual arrangements with Weidai Financial Information and its shareholders to operate our website, www.weidai.com.cn, as well as certain other complementary businesses. See “Item 4. Information on the Company — C. Organizational Structure —  Contractual Arrangements with Our Variable Interest Entities — Contractual Arrangements with Weidai Financial Information” for more details. In addition, in January 2019, we entered into another set of contractual agreements between Weidai Co., Ltd., Yuntuo, and the shareholders of Yuntuo. These contractual arrangements may not be as effective as direct ownership in providing us with control over Weidai Financial Information and Yuntuo. For example, Weidai Financial Information, Yuntuo and their respective shareholders may fail to fulfill their contractual obligations with us, such as failure to maintain our website and use the domain names and trademarks in a manner as stipulated in the contractual arrangements, or taking other actions that are detrimental to our interests.

 

 36 

 

 

If we had direct ownership of Weidai Financial Information and Yuntuo, we would be able to exercise our rights as a shareholder to effect changes in the board of directors of Weidai Financial Information and Yuntuo, which in turn could implement changes, subject to any applicable fiduciary obligations, at the management and operational level. However, under the current contractual arrangements, we rely on the performance by Weidai Financial Information, Yuntuo and their respective shareholders of their obligations under these contracts. The shareholders of Weidai Financial Information or Yuntuo may not act in the best interests of our company or may not perform their obligations under these contracts. Such risks exist throughout the period in which we intend to operate our business through the contractual arrangements with Weidai Financial Information and Yuntuo. Although we have the right to replace any shareholder of Weidai Financial Information or Yuntuo under the contractual arrangements, if any shareholder is uncooperative or any dispute relating to these contracts remains unresolved, we will have to enforce our rights under these contracts through the operations of PRC laws and arbitration, litigation and other legal proceedings, the outcome of which will be subject to uncertainties. See “— Any failure by our variable interest entities or their respective shareholders to perform their obligations under our contractual arrangements with them would have a material adverse effect on our business.” Therefore, our contractual arrangements with Weidai Financial Information and Yuntuo may not be as effective in ensuring our control over the relevant portion of our business operations as direct ownership would be.

 

Any failure by our variable interest entities or their respective shareholders to perform their obligations under our contractual arrangements with them would have a material adverse effect on our business.

 

If Weidai Financial Information, Yuntuo or their respective shareholders fail to perform their respective obligations under the contractual arrangements, we may have to incur substantial costs and expend additional resources to enforce such arrangements. We may also have to rely on legal remedies under PRC laws, including seeking specific performance or injunctive relief, and claiming damages, which we cannot assure you will be effective under PRC laws. For example, if the shareholders of Weidai Financial Information or Yuntuo were to refuse to transfer their equity interest in Weidai Financial Information or Yuntuo to us or our designee if we exercise the purchase option pursuant to these contractual arrangements, or if they were otherwise to act in bad faith toward us, then we may have to take legal actions to compel them to perform their contractual obligations.

 

All the agreements under our contractual arrangements are governed by PRC laws and provide for the resolution of disputes through arbitration in China. Accordingly, these contracts would be interpreted in accordance with PRC laws and any disputes would be resolved in accordance with PRC legal procedures, although these disputes do not include claims arising under the United States federal securities laws and thus do not prevent you from pursuing claims under the United States federal securities laws. The legal system in the PRC is not as developed as in some other jurisdictions, such as the United States. As a result, uncertainties in the PRC legal system could limit our ability to enforce these contractual arrangements. Meanwhile, there are very few precedents and little formal guidance as to how contractual arrangements in the context of a variable interest entity should be interpreted or enforced under PRC laws. There remain significant uncertainties regarding the ultimate outcome of such arbitration should legal action become necessary. In addition, under PRC laws, rulings by arbitrators are final and parties cannot appeal arbitration results in court unless such rulings are revoked or determined unenforceable by a competent court. If the losing parties fail to carry out the arbitration awards within a prescribed time limit, the prevailing parties may only enforce the arbitration awards in PRC courts through arbitration award recognition proceedings, which would require additional expenses and delay. In the event that we are unable to enforce these contractual arrangements, or if we suffer significant delay or other obstacles in the process of enforcing these contractual arrangements, we may not be able to exert effective control over Weidai Financial Information or Yuntuo and our ability to conduct our business may be negatively affected. See “— Risks Related to Doing Business in China  —  Uncertainties in the interpretation and enforcement of PRC laws and regulations could limit the legal protections available to us.”

 

 37 

 

 

The respective shareholders of our variable interest entities may have potential conflicts of interest with us, which may materially and adversely affect our business and financial condition.

 

The respective shareholders of Weidai Financial Information or Yuntuo may have potential conflicts of interest with us. These shareholders may breach, or cause Weidai Financial Information or Yuntuo to breach, the existing contractual arrangements we have with them and Weidai Financial Information or Yuntuo, which would have a material adverse effect on our ability to effectively control Weidai Financial Information and Yuntuo and receive economic benefits from them. For example, the shareholders may be able to cause our agreements with Weidai Financial Information and Yuntuo to be performed in a manner adverse to us by, among other things, failing to remit payments due under the contractual arrangements to us on a timely basis. We cannot assure you that when conflicts of interest arise, any or all of these shareholders will act in the best interests of our company or such conflicts will be resolved in our favor.

 

Currently, we do not have any arrangements to address potential conflicts of interest between these shareholders and our company, except that we could exercise our purchase option under the exclusive call option agreement with these shareholders to request them to transfer all of their equity interests in Weidai Financial Information and Yuntuo to a PRC entity or individual designated by us, to the extent permitted by PRC laws. If we cannot resolve any conflict of interest or dispute between us and the shareholders of Weidai Financial Information or the shareholders of Yuntuo, we would have to rely on legal proceedings, which could result in the disruption of our business and subject us to substantial uncertainty as to the outcome of any such legal proceedings.

 

Contractual arrangements in relation to our variable interest entities may be subject to scrutiny by the PRC tax authorities and they may determine that we or our PRC variable interest entities owe additional taxes, which could negatively affect our financial condition and the price of our ADSs.

 

Under applicable PRC laws and regulations, arrangements and transactions among related parties may be subject to audit or challenge by the PRC tax authorities within ten years after the taxable year when the transactions are conducted. The PRC Enterprise Income Tax Law requires every enterprise in China to submit its annual enterprise income tax return together with a report on transactions with its related parties to the relevant tax authorities. The tax authorities may impose reasonable adjustments on taxation if they have identified any related party transactions that are inconsistent with arm’s length principles. We may face material and adverse tax consequences if the PRC tax authorities determine that (i) the contractual arrangements between Weidai Co., Ltd., our wholly owned subsidiary in China, Weidai Financial Information, our variable interest entity in China, and the shareholders of Weidai Financial Information, or (ii) the contractual arrangements between Weidai Co., Ltd., our wholly owned subsidiary in China, Yuntuo, our variable interest entity in China, and the shareholders of Yuntuo were not entered into on an arm’s length basis in such a way as to result in an impermissible reduction in taxes under applicable PRC laws, rules and regulations, and adjust Weidai Co., Ltd.’s and our variable interest entities’ income in the form of a transfer pricing adjustment. A transfer pricing adjustment could, among other things, result in a reduction of expense deductions recorded by Weidai Financial Information or Yuntuo for PRC tax purposes, which could in turn increase their tax liabilities without reducing Weidai Co., Ltd.’s tax expenses. In addition, if Weidai Co., Ltd. requests the respective shareholders of Weidai Financial Information and Yuntuo to transfer their equity interests in Weidai Financial Information or Yuntuo at nominal or no value pursuant to these contractual arrangements, such transfer could be viewed as a gift and subject Weidai Co., Ltd. to PRC income tax. Furthermore, the PRC tax authorities may impose late payment fees and other penalties on Weidai Financial Information and Yuntuo for the adjusted but unpaid taxes according to the applicable regulations. Our financial position could be materially and adversely affected if the tax liabilities of our variable interest entities increase or if it is required to pay late payment fees and other penalties.

 

We may lose the ability to use and enjoy assets held by our variable interest entities that are material to the operation of our business if the entities go bankrupt or become subject to a dissolution or liquidation proceeding.

 

Our variable interest entities, Weidai Financial Information and Yuntuo, hold certain assets that are material to the operation of our business, including domain names and an ICP license. Under the contractual arrangements, Weidai Financial Information and Yuntuo may not and their respective shareholders may not cause them to, in any manner, sell, transfer, mortgage or dispose of their assets or their legal or beneficial interests in the business without our prior consent. However, in the event that the shareholders of Weidai Financial Information or Yuntuo breach these contractual arrangements and voluntarily liquidate Weidai Financial Information or Yuntuo, or if Weidai Financial Information or Yuntuo declares bankruptcy and all or part of their assets become subject to liens or rights of third-party creditors, or are otherwise disposed of without our consent, we may be unable to continue some or all of our business activities, which could materially and adversely affect our business, financial condition and results of operations. If Weidai Financial Information or Yuntuo undergoes a voluntary or involuntary liquidation proceeding, independent third-party creditors may claim rights to some or all of these assets, thereby hindering our ability to operate our business, which could materially and adversely affect our business, financial condition and results of operations.

 

 38 

 

 

Risks Related to Doing Business in China

 

We are subject to many of the economic and political risks associated with emerging markets due to our operations in China. Changes in China’s economic, political or social conditions or government policies could have a material adverse effect on our business and results of operations.

 

Substantially all of our operations are located in and all of our revenue is sourced from China, the world’s largest emerging market. In light of our operations in an emerging market, we may be subject to risks and uncertainties including fluctuations in GDP, unfavorable or unpredictable treatment in relation to tax matters, expropriation of private assets, exchange controls, restrictions affecting our ability to make cross-border transfer of funds, regulatory proceedings, inflation, currency fluctuations or the absence of, or unexpected changes in, regulations and unforeseeable operational risks. Accordingly, our business, prospects, financial condition and results of operations may be influenced to a significant degree by political, economic and social conditions in China generally and by continued economic growth in China as a whole.

 

The Chinese economy differs from the economies of most developed countries in many respects, including the amount of government involvement, level of development, growth rate, control of foreign exchange and allocation of resources. Although the Chinese government has implemented measures emphasizing the utilization of market forces for economic reform, the reduction of state ownership of productive assets and the establishment of improved corporate governance in business enterprises, a substantial portion of productive assets in China is still owned by the government. In addition, the Chinese government continues to play a significant role in regulating industry development by imposing industrial policies. The Chinese government also exercises significant control over China’s economic growth through allocating resources, controlling payment of foreign currency-denominated obligations, setting monetary policy, and providing preferential treatment to particular industries or companies.

 

The economies of emerging markets are typically more vulnerable to market downturns and economic slowdowns elsewhere in the world. While the Chinese economy has experienced significant growth over the past decades, growth has been uneven, both geographically and among various sectors of the economy. The Chinese government has implemented various measures to encourage economic growth and guide the allocation of resources. Some of these measures may benefit the overall Chinese economy, but may have a negative effect on us. For example, our financial condition and results of operations may be adversely affected by government control over capital investments or changes in tax regulations. In addition, in the past the Chinese government has implemented certain measures, including interest rate increases, to control the pace of economic growth. These measures may cause decreased economic activity in China, and since 2012, the Chinese economy has slowed down. Any prolonged slowdown in the Chinese economy may reduce the demand for our products and services and materially and adversely affect our business and results of operations.

 

A downturn in the Chinese or global economy could reduce the demand for consumer loans and investments, which could materially and adversely affect our business and financial condition.

 

The global financial markets have experienced significant disruptions since 2008 and the United States, Europe and other economies have experienced periods of recession. The recovery from the lows of 2008 and 2009 has been uneven and is facing new challenges, including the escalation of the European sovereign debt crisis from 2011, the slowdown of the Chinese economy since 2012, sanctions against Russia over the Ukraine crisis since 2014, shadows of international terrorism spread by Islamic State of Iraq and al-Sham, which has been particularly intensified since the Paris terror attacks in November 2015, the impact of the election of Donald Trump as President of the United States and the tax reform that he subsequently signed into law, the trade war between the United States and China and the Syrian airstrike in 2018, and the tension between the United States and Iran in 2019, and the impact associated with the United Kingdom leaving the European Union in 2020. In addition, the Chinese economy has been adversely affected by the outbreak of the novel coronavirus, or the COVID-19, which was declared by World Health Organization as a Public Health Emergency of International Concern on January 31, 2020. The impact of the COVID-19 outbreak is unknown at this time. The potential downturn brought by and the duration of the COVID-19 may be difficult to assess or predict where actual effects will depend on many factors beyond our control. It is unclear whether the Chinese economy will resume its high growth rate. There is considerable uncertainty over the long-term effects of the expansionary monetary and fiscal policies adopted by the central banks and financial authorities of some of the world’s leading economies, including the United States and China. There have also been concerns over unrest in Ukraine, the Middle East and Africa, which have resulted in volatility in financial and other markets. There have also been concerns about the economic effect of the tensions in the relationship between China and surrounding Asian countries. Economic conditions in China are sensitive to global economic conditions. Any prolonged slowdown in the global or Chinese economy may reduce the demand for consumer loans and investments and have a negative impact on our business, results of operations and financial condition. Additionally, continued turbulence in the international markets may adversely affect our ability to access the capital markets to meet liquidity needs.

 

 39 

 

 

Uncertainties in the interpretation and enforcement of PRC laws and regulations could limit the legal protections available to us.

 

The PRC legal system is based on written statutes and prior court decisions have limited value as precedents. Since these laws and regulations are relatively new and the PRC legal system continues to rapidly evolve, the interpretations of many laws, regulations and rules are not always uniform and enforcement of these laws, regulations and rules involves uncertainties.

 

In particular, PRC laws and regulations concerning the marketplace lending industry are developing and evolving. Although we have taken measures to comply with the laws and regulations that are applicable to our business operations, including the regulatory principles raised by the CBRC, and avoid conducting any non-compliant activities under the applicable laws and regulations, such as illegal fund-raising, forming capital pool or providing guarantee to investors, the PRC government authority may promulgate new laws and regulations regulating the marketplace lending industry in the future. We cannot assure you that our practice would not be deemed to violate any new PRC laws or regulations relating to the marketplace lending industry. Moreover, developments in the marketplace lending industry may lead to changes in PRC laws, regulations and policies or in the interpretation and application of existing laws, regulations and policies that may limit or restrict s like us, which could materially and adversely affect our business and operations. Furthermore, we cannot rule out the possibility that the PRC government will institute a licensing regime covering our industry at some point in the future. If such a licensing regime were introduced, we cannot assure you that we would be able to obtain any newly required license in a timely manner, or at all, which could materially and adversely affect our business and impede our ability to continue our operations.

 

From time to time, we may have to resort to administrative and court proceedings to enforce our legal rights. However, since PRC administrative and court authorities have significant discretion in interpreting and implementing statutory and contractual terms, it may be more difficult to evaluate the outcome of administrative and court proceedings and the level of legal protection we enjoy than in more developed legal systems. Furthermore, the PRC legal system is based in part on government policies and internal rules (some of which are not published in a timely manner or at all) that may have retroactive effect. As a result, we may not be aware of our violation of these policies and rules until sometime after the violation. Such uncertainties, including uncertainty over the scope and effect of our contractual, property (including intellectual property) and procedural rights, could materially and adversely affect our business and impede our ability to continue our operations.

 

Uncertainties exist with respect to the interpretation and implementation of PRC Foreign Investment Law and how it may impact the viability of our current corporate structure, corporate governance and business operations.

 

The National People’s Congress approved the Foreign Investment Law on March 15, 2019 and the State Council approved the Regulation on Implementing the Foreign Investment Law, or the Implementation Regulations on December 12, 2019, effective from January 1, 2020, to replace the trio of existing laws regulating foreign investment in China, namely, the PRC Equity Joint Venture Law, the PRC Cooperative Joint Venture Law and the Wholly Foreign-owned Enterprise Law, together with their implementation rules and ancillary regulations. The Foreign Investment Law embodies an expected PRC regulatory trend to rationalize its foreign investment regulatory regime in line with prevailing international practice and the legislative efforts to unify the corporate legal requirements for both foreign and domestic investments. However, since it is relatively new, uncertainties still exist in relation to its interpretation and implementation. For instance, under the Foreign Investment Law, “foreign investment” refers to the investment activities directly or indirectly conducted by foreign individuals, enterprises or other entities in China. Though it does not explicitly classify contractual arrangements as a form of foreign investment, there is no assurance that foreign investment via contractual arrangement would not be interpreted as a type of indirect foreign investment activities under the definition in the future. In addition, the definition contains a catch-all provision which includes investments made by foreign investors through means stipulated in laws or administrative regulations or other methods prescribed by the State Council. Therefore, it still leaves leeway for future laws, administrative regulations or provisions promulgated by the State Council to provide for contractual arrangements as a form of foreign investment. In any of these cases, it will be uncertain whether our contractual arrangements will be deemed to be in violation of the market access requirements for foreign investment under the PRC laws and regulations. Furthermore, if future laws, administrative regulations or provisions prescribed by the State Council mandate further actions to be taken by companies with respect to existing contractual arrangements, we may face substantial uncertainties as to whether we can complete such actions in a timely manner, or at all. Failure to take timely and appropriate measures to cope with any of these or similar regulatory compliance challenges could materially and adversely affect our current corporate structure, corporate governance and business operations.

 

 40 

 

 

We may be adversely affected by the complexity, uncertainties and changes in PRC regulation of internet-related businesses and companies, and any lack of requisite approvals, licenses or permits applicable to our business may have a material adverse effect on our business and results of operations.

 

The PRC government extensively regulates the internet industry, including foreign ownership of, and the licensing and permit requirements pertaining to, companies in the internet industry. These internet-related laws and regulations are relatively new and evolving, and their interpretation and enforcement involve significant uncertainties. As a result, in certain circumstances it may be difficult to determine what actions or omissions may be deemed to be in violation of applicable laws and regulations.

 

We only have contractual control over our website or mobile apps. We do not directly own the website or mobile apps due to the restriction of foreign investment in businesses providing value-added telecommunication services in China, including internet information provision services. This may significantly disrupt our business, subject us to sanctions, compromise enforceability of related contractual arrangements, or have other harmful effects on us.

 

The evolving PRC regulatory system for the internet industry may lead to the establishment of new regulatory agencies. For example, in May 2011, the State Council announced the establishment of a new department, the State Internet Information Office (with the involvement of the State Council Information Office, the MIIT, and the Ministry of Public Security). The primary role of this new agency is to facilitate the policy-making and legislative development in this field, to direct and coordinate with the relevant departments in connection with online content administration and to deal with cross-ministry regulatory matters in relation to the internet industry.

 

Our online platform, operated by Weidai Financial Information, may be deemed to be providing value-added telecommunication services, which would require Weidai Financial Information to obtain certain value-added telecommunications business licenses. See “Item 4. Information on the Company — B. Business Overview — Regulation — Regulations on Internet Companies  —  Regulations on Value-Added Telecommunication Services” for more details. Weidai Financial Information has obtained a value-added telecommunications service license for operations of internet content service from the Zhejiang Administration of Telecommunications in August 2016, which will remain valid until August 2021, and a value-added telecommunications service license for operation of domestic call center service from MIIT in August 2017, which will remain valid until August 2022. However, given the evolving regulatory environment of the value-added telecommunications business, we cannot assure you that we will not be required in the future by the relevant governmental authorities to obtain any other approval or license to continue our business. If such approval or license were required, we cannot assure you that we will be able to obtain such approval or license in a timely manner, or at all, which could materially and adversely affect our business and impede our ability to continue our operations.

 

 41 

 

 

We facilitate certain auto-financing loans through our platform under both direct lease and sale-and-lease back models for the purchase of new and used automobiles. According to the Administrative Measures of Supervision on Financing Lease Enterprises, or the Financing Lease Measures promulgated by the Ministry of Commerce on September 18, 2013, entities operating “financing lease business” shall be subject to approval by Ministry of Commerce or its local branches. The Financing Lease Measures has not defined what constitutes operating “financing lease business”. It is uncertain whether our business operations would be deemed as operating “financing lease business” due to the auto-financing loans we facilitate. As of the date of this annual report, we have not been subject to any fines or other penalties under any PRC laws or regulations related to financing lease business. However, given the evolving regulatory environment of the financing lease business, we cannot assure you that we will not be required in the future by the relevant governmental authorities to obtain approval or license for financing lease business. If we were required to obtain such approval or license, we cannot assure you that we would be able to obtain such approval or license in a timely manner, or at all, which could materially and adversely affect our business and impede our ability to continue our operations.

 

According to the Measures for the Administration of Auctions, a company that conducts auction activities is required to have the word “auction” in its legal name, obtain approval from the local regulatory authorities, and obtain an auction business permit. Any company that engages in commercial auction activities without an auction permit shall terminate its business operations. The business conducted through our mobile app Weichepai, operated by Horgos Weichepai Information Technology Co., Ltd., which was a wholly owned subsidiary of Weidai Financial Information, may be deemed as engaging in commercial auction business of second-hand automobiles. As of the date of this annual report, we have not obtained an auction business permit, nor have we been subject to any fines or other penalties with regard to commercial auction business. Though we have stopped conducting auction activities through Weichepai since the end of 2018, however, given the evolving regulatory environment of the auction business, we cannot assure you that such practice will not be deemed by the PRC authorities as violating relevant provisions of the Measures for the Administration of Auctions or any other applicable laws and regulations, nor can we assure you that we will not be required by the relevant governmental authorities to obtain license or permit for auction business if we want to continue conducting our business through Weichepai in the future. We may not obtain such approval or license in a timely manner, or at all, which could materially and adversely affect our business and impede our ability to continue our operations.

 

The interpretation and application of existing PRC laws, regulations and policies and possible new laws, regulations or policies relating to the internet industry have created substantial uncertainties regarding the legality of existing and future foreign investments in, and the businesses and activities of, internet businesses in China, including our business. We cannot assure you that we have obtained all the permits or licenses required for conducting our business in China or will be able to maintain our existing licenses or obtain new ones. If the PRC government considers that we were operating without the proper approvals, licenses or permits or promulgates new laws and regulations that require additional approvals or licenses or imposes additional restrictions on the operation of any part of our business, it has the power, among other things, to levy fines, confiscate our income, revoke our business licenses, and require us to discontinue our relevant business or impose restrictions on the affected portion of our business. Any of these actions by the PRC government may have a material adverse effect on our business and results of operations.

 

The facilitation of loans on our platform could give rise to liabilities under PRC laws and regulations that prohibit illegal fundraising and unauthorized public offerings.

 

PRC laws and regulations prohibit persons and companies from raising funds by advertising to the public a promise to repay premium or interest payments over time through payments in cash or in kind except with the prior approval of the applicable government authorities. Failure to comply with these laws and regulations may result in penalties imposed by the PBOC, the State Administration for Market Regulation, formerly known as the State Industry and Commerce, or the SAIC, and other governmental authorities, and can lead to civil or criminal lawsuits.

 

We have taken measures to avoid conducting any activities that are prohibited under the illegal-funding related laws and regulations. We act as intermediaries for borrowers and online investors. In addition, we do not directly receive any funds from online investors in our own accounts as funds from online investors are deposited into and settled by a third-party custody account managed by Xinwang Bank. To date, our platform has not been subject to any fines or other penalties under any PRC laws and regulations that prohibit illegal fundraising. Nevertheless, considerable uncertainties exist with respect to the PBOC, the SAIC and other governmental authorities’ interpretations of the fundraising-related laws and regulations. Therefore, we cannot guarantee you that our current services provided to investors will not be deemed to violate illegal fundraising laws and regulations in the future.

 

 42 

 

 

The PRC Securities Law prohibits the issuance of securities for public offering without obtaining prior approval in accordance with the provisions of the law. The following offerings are deemed to be public offerings under the PRC Securities Law: (i) offering of securities to non-specific targets; (ii) offering of securities to more than 200 specific targets (however, the number of employees who participate in employee stock ownership plans implemented in accordance with laws shall not be counted in); and (iii) other offerings provided by the laws and administrative regulations. Additionally, private offerings of securities may not be carried out through advertising, open solicitation and disguised publicity campaigns. If any transaction between a borrower and multiple online investors is identified as a public offering by PRC government authorities, we may be subject to sanctions under PRC laws and our business may be adversely affected.

 

We rely on dividends and other distributions on equity paid by our PRC subsidiary to fund any cash and financing requirements we may have, and any limitation on the ability of our PRC subsidiary to make payments to us could have a material adverse effect on our ability to conduct our business.

 

We are a holding company, and we rely on dividends and other distributions on equity paid by our PRC subsidiary for our cash and financing requirements, including the funds necessary to pay dividends and other cash distributions to our shareholders and service any debt we may incur. If our PRC subsidiary incurs debt on its own behalf in the future, the instruments governing the debt may restrict their ability to pay dividends or make other distributions to us. In addition, the PRC tax authorities may require our PRC subsidiary to adjust its taxable income under the contractual arrangements it currently has in place with Weidai Financial Information and its shareholders, and Yuntuo and its shareholders in a manner that would materially and adversely affect their ability to pay dividends and other distributions to us. See “— Risks Related to Our Corporate Structure — Contractual arrangements in relation to our variable interest entities may be subject to scrutiny by the PRC tax authorities and they may determine that we or our PRC variable interest entities owe additional taxes, which could negatively affect our financial condition and the price of our ADSs.”

 

Under PRC laws and regulations, our PRC subsidiary, as a wholly foreign-owned enterprise in China, may pay dividends only out of its accumulated after-tax profits as determined in accordance with PRC accounting standards and regulations. In addition, a wholly foreign-owned enterprise is required to set aside at least 10% of its accumulated after-tax profits each year, if any, to fund certain statutory reserve funds, until the aggregate amount of such funds reaches 50% of its registered capital. At its discretion, a wholly foreign-owned enterprise may allocate a portion of its after-tax profits based on PRC accounting standards to staff welfare and bonus funds. These reserve funds and staff welfare and bonus funds are not distributable as cash dividends.

 

In response to the persistent capital outflow and RMB’s depreciation against U.S. dollar in the fourth quarter of 2016, the PBOC and the State Administration of Foreign Exchange, or SAFE, have implemented a series of capital control measures over recent months, including stricter vetting procedures for China-based companies to remit foreign currency for overseas acquisitions, dividend payments and shareholder loan repayments. For instance, the PBOC issued the Circular on Further Clarification of Relevant Matters Relating to Offshore RMB Loans Provided by Domestic Enterprises, or the PBOC Circular 306, on November 22, 2016, which provides that offshore RMB loans provided by a domestic enterprise to offshore enterprises that it holds equity interests in shall not exceed 30% of such equity interests. The PBOC Circular 306 may constrain our PRC subsidiary’s ability to provide offshore loans to us. The PRC government may continue to strengthen its capital controls and our PRC subsidiary’s dividends and other distributions may be subjected to tighter scrutiny in the future. Any limitation on the ability of our PRC subsidiary to pay dividends or make other distributions to us could materially and adversely limit our ability to grow, make investments or acquisitions that could be beneficial to our business, pay dividends, or otherwise fund and conduct our business. See also “— If we are classified as a PRC resident enterprise for PRC income tax purposes, such classification could result in unfavorable tax consequences to us and our non-PRC shareholders or ADS holders.”

 

 43 

 

 

PRC regulation of loans to and direct investment in PRC entities by offshore holding companies and governmental control of currency conversion may delay or prevent us from using the proceeds of our initial public offering to make loans to or make additional capital contributions to our PRC subsidiary, which could materially and adversely affect our liquidity and our ability to fund and expand our business.

 

Any funds we transfer to our PRC subsidiary, either as a shareholder loan or as an increase in registered capital, are subject to approval by or registration with relevant governmental authorities in China. According to the relevant PRC regulations on foreign-invested enterprises in China, capital contributions to our PRC subsidiary are subject to the requirement of making necessary filings in the Foreign Investment Comprehensive Management Information System, or FICMIS, and registration with other governmental authorities in China. In addition, (a) any foreign loan procured by our PRC subsidiary is required to be registered with SAFE, or its local branches, and (b) our PRC subsidiary may not procure loans which exceed the statutory limitation. Any medium or long term loan to be provided by us to a variable interest entity of our company must be recorded and registered by the National Development and Reform Committee and the SAFE or its local branches. We may not complete such recording or registrations on a timely basis, if at all, with respect to future capital contributions or foreign loans by us to our PRC subsidiary. If we fail to complete such recording or registration, our ability to use the proceeds of our initial public offering and to capitalize our PRC operations may be negatively affected, which could adversely affect our liquidity and our ability to fund and expand our business.

 

In 2008, the SAFE promulgated the Circular on the Relevant Operating Issues Concerning the Improvement of the Administration of the Payment and Settlement of Foreign Currency Capital of Foreign-Invested Enterprises, or SAFE Circular 142, which used to regulate the conversion by foreign-invested enterprises of foreign currency into Renminbi by restricting the usage of converted Renminbi. On March 30, 2015, the SAFE promulgated the Circular on Reforming the Management Approach Regarding the Foreign Exchange Capital Settlement of Foreign-Invested Enterprises, or SAFE Circular 19. SAFE Circular 19 took effect as of June 1, 2015 and superseded SAFE Circular 142 on the same date. SAFE Circular 19 launched a nationwide reform of the administration of the settlement of the foreign exchange capitals of foreign-invested enterprises and allows foreign-invested enterprises to settle their foreign exchange capital at their discretion, but continues to prohibit foreign-invested enterprises from using the Renminbi fund converted from their foreign exchange capitals for expenditures beyond their business scopes. On June 9, 2016, the SAFE promulgated the Circular on Reforming and Standardizing the Administrative Provisions on Capital Account Foreign Exchange, or SAFE Circular 16. SAFE Circular 19 and SAFE Circular 16 continue to prohibit foreign-invested enterprises from, among other things, using RMB fund converted from its foreign exchange capitals for expenditure beyond its business scope, investment and financing (except for security investment or guarantee products issued by bank), providing loans to non-affiliated enterprises or constructing or purchasing real estate not for self-use. SAFE Circular 19 and SAFE Circular 16 may significantly limit our ability to transfer to and use in China the proceeds we receive from our offshore financing activities, which may adversely affect our business, financial condition and results of operations.

 

Fluctuations in exchange rates could have a material adverse effect on our results of operations and the price of our ADSs.

 

The value of the Renminbi against the U.S. dollar and other currencies may fluctuate and is affected by, among other things, changes in political and economic conditions in China and by China’s foreign exchange policies. On July 21, 2005, the PRC government changed its decade-old policy of pegging the value of the Renminbi to the U.S. dollar, and the Renminbi appreciated more than 20% against the U.S. dollar over the following three years. Between July 2008 and June 2010, this appreciation halted and the exchange rate between the Renminbi and the U.S. dollar remained within a narrow band. Since June 2010, the Renminbi has fluctuated against the U.S. dollar, at times significantly and unpredictably. On November 30, 2015, the Executive Board of the International Monetary Fund (IMF) completed the regular five-year review of the basket of currencies that make up the Special Drawing Right, or the SDR, and decided that with effect from October 1, 2016, Renminbi is determined to be a freely usable currency and will be included in the SDR basket as a fifth currency, along with the U.S. dollar, the Euro, the Japanese yen and the British pound. In the fourth quarter of 2016 and second half of 2018, the RMB depreciated significantly in the backdrop of a surging U.S. dollar and persistent capital outflows of China, while in the second half of 2017, Renminbi appreciated against U.S. dollar significantly. With the development of the foreign exchange market and progress towards interest rate liberalization and Renminbi internationalization, the PRC government may in the future announce further changes to the exchange rate system and we cannot assure you that the Renminbi will not appreciate or depreciate significantly in value against the U.S. dollar in the future. It is difficult to predict how market forces or PRC or U.S. government policy may impact the exchange rate between the Renminbi and the U.S. dollar in the future.

 

 44 

 

 

All of our revenue and substantially all of our costs are denominated in Renminbi. We are a holding company and we rely on dividends paid by our operating subsidiaries in China for our cash needs. Any significant revaluation of the Renminbi may have a material and adverse effect on your investment. For example, to the extent that we need to convert U.S. dollars we receive from our initial public offering into Renminbi for our operations, appreciation of the Renminbi against the U.S. dollar would have an adverse effect on the Renminbi amount we would receive from the conversion. Conversely, if we decide to convert our Renminbi into U.S. dollars for the purpose of making payments for dividends on our ordinary shares or ADSs or for other business purposes, appreciation of the U.S. dollar against the Renminbi would have a negative effect on the U.S. dollar amount available to us.

 

Governmental control of currency conversion may limit our ability to utilize our net revenues effectively and affect the price of our ADSs.

 

The PRC government imposes controls on the convertibility of the RMB into foreign currencies and, in certain cases, the remittance of currency out of China. We receive substantially all of our net revenues in RMB. Under our current corporate structure, our company in the Cayman Islands relies on dividend payments from our PRC subsidiary to fund any cash and financing requirements we may have. Under existing PRC foreign exchange regulations, payments of current account items, such as profit distributions and trade and service-related foreign exchange transactions, can be made in foreign currencies without prior approval from the SAFE by complying with certain procedural requirements. Therefore, our PRC subsidiary is able to pay dividends in foreign currencies to us without prior approval from the SAFE, subject to the condition that the remittance of such dividends outside of the PRC complies with certain procedures under PRC foreign exchange regulation, such as the overseas investment registrations by the beneficial owners of our company who are PRC residents. But approval from or registration with appropriate government authorities is required where RMB is to be converted into foreign currency and remitted out of China to pay capital expenses such as the repayment of loans denominated in foreign currencies.

 

In light of the flood of capital outflows of China in 2016 due to the weakening RMB, the PRC government has imposed more restrictive foreign exchange policies and stepped up scrutiny of major outbound capital movement. More restrictions and substantial vetting process are put in place by SAFE to regulate cross-border transactions falling under the capital account. The PRC government may at its discretion further restrict access in the future to foreign currencies for current account transactions. If the foreign exchange control system prevents us from obtaining sufficient foreign currencies to satisfy our foreign currency demands, we may not be able to pay dividends in foreign currencies to our shareholders, including holders of our ADSs.

 

Failure to make adequate contributions to various employee benefit plans and withhold individual income tax on employees’ salaries as required by PRC regulations may subject us to penalties.

 

Companies operating in China are required to participate in various government sponsored employee benefit plans, including certain social insurance, housing funds and other welfare-oriented payment obligations, and contribute to the plans in amounts equal to certain percentages of salaries, including bonuses and allowances, of our employees up to a maximum amount specified by the local government from time to time at locations where we operate our businesses. The requirement of employee benefit plans has not been implemented consistently by the local governments in China given the different levels of economic development in different locations. Companies operating in China are also required to withhold individual income tax on employees’ salaries based on the actual salary of each employee upon payment. We have not made adequate employee benefit payments. Neither have we fully withheld the individual income tax in accordance with the relevant PRC laws and regulations. With respect to the underpaid employee benefits, we may be required to make up the contributions for these plans as well as to pay late fees and fines; with respect to the underwithheld individual income tax, we may be required to make up sufficient withholding and pay late fees and fines. If we are subject to late fees or fines in relation to the underpaid employee benefits and underwithheld individual income tax, our financial condition and results of operations may be adversely affected.

 

 45 

 

 

 

The M&A Rules and certain other PRC regulations establish complex procedures for some acquisitions of Chinese companies by foreign investors, which could make it more difficult for us to pursue growth through acquisitions in China.

 

The M&A Rules discussed in the preceding risk factor and some other regulations and rules concerning mergers and acquisitions established additional procedures and requirements that could make merger and acquisition activities by foreign investors more time consuming and complex. including requirements in some instances that the MOC be notified in advance of any change-of-control transaction in which a foreign investor takes control of a PRC domestic enterprise. For example, the M&A rules require that the MOC be notified in advance of any change-of-control transaction in which a foreign investor takes control of a PRC domestic enterprise if  (i) any important industry is concerned, (ii) such transaction involves factors that have or may have impact on the national economic security, or (iii) such transaction will lead to a change in control of a domestic enterprise which holds a famous trademark or PRC time-honored brand. The approval from the MOC shall be obtained in circumstances where overseas companies established or controlled by PRC enterprises or residents acquire affiliated domestic companies. Mergers, acquisitions or contractual arrangements that allow one market player to take control of or to exert decisive impact on another market player must also be notified in advance to the MOC when the threshold under the Provisions on Thresholds for Prior Notification of Concentrations of Undertakings, or the Prior Notification Rules, issued by the State Council in August 2008 is triggered. In addition, the security review rules issued by the MOC that became effective in September 2011 specify that mergers and acquisitions by foreign investors that raise “national defense and security” concerns and mergers and acquisitions through which foreign investors may acquire de facto control over domestic enterprises that raise “national security” concerns are subject to strict review by the MOC, and the rules prohibit any activities attempting to bypass a security review, including by structuring the transaction through a proxy or contractual control arrangement. In the future, we may grow our business by acquiring complementary businesses. Complying with the requirements of the above-mentioned regulations and other relevant rules to complete such transactions could be time consuming, and any required approval processes, including obtaining approval from the MOC or its local counterparts may delay or inhibit our ability to complete such transactions, which could affect our ability to expand our business or maintain our market share.

 

PRC regulations relating to offshore investment activities by PRC residents may limit our PRC subsidiary’s ability to increase their registered capital or distribute profits to us or otherwise expose us or our PRC resident beneficial owners to liability and penalties under PRC law.

 

The SAFE promulgated the Circular on Relevant Issues Relating to PRC Resident’s Investment and Financing and Roundtrip Investment through Special Purpose Vehicles, or SAFE Circular 37, in July 2014 that requires PRC residents or entities to register with SAFE or its local branch in connection with their establishment or control of an offshore entity established for the purpose of overseas investment or financing. In addition, such PRC residents or entities must update their SAFE registrations when the offshore special purpose vehicle undergoes material events relating to any change of basic information (including change of such PRC residents or entities, name and operation term), increases or decreases in investment amount, transfers or exchanges of shares, or mergers or divisions.

 

SAFE Circular 37 is issued to replace the Circular on Relevant Issues Concerning Foreign Exchange Administration for PRC Residents Engaging in Financing and Roundtrip Investments through Overseas Special Purpose Vehicles, or SAFE Circular 75.

 

If our shareholders who are PRC residents or entities do not complete their registration with the local SAFE branches, our PRC subsidiary may be prohibited from distributing their profits and proceeds from any reduction in capital, share transfer or liquidation to us, and we may be restricted in our ability to contribute additional capital to our PRC subsidiary. Moreover, failure to comply with the SAFE registration described above could result in liability under PRC laws for evasion of applicable foreign exchange restrictions.

 

Our founder, Mr. Hong Yao, and a number of our directors, officers and shareholders who we know are PRC residents, have completed the foreign exchange registrations in 2018 in accordance with SAFE Circular 37.

 

 46 

 

 

However, we may not be informed of the identities of all the PRC residents or entities holding direct or indirect interest in our company, nor can we compel our beneficial owners to comply with the requirements of SAFE Circular 37 or other applicable laws and regulations. As a result, we cannot assure you that all of our shareholders or beneficial owners who are PRC residents or entities have complied with, and will in the future make or obtain any applicable registrations or approvals required by, SAFE Circular 37 or other applicable laws and regulations. Failure by such shareholders or beneficial owners to comply with SAFE Circular 37, other related regulations or failure by us to amend the foreign exchange registrations of our PRC subsidiary, could subject us to fines or legal sanctions, restrict our overseas or cross-border investment activities, limit our PRC subsidiary’s ability to make distributions or pay dividends to us or affect our ownership structure, which could adversely affect our business and prospects.

 

Any failure to comply with PRC regulations regarding the registration requirements for employee share incentive plans may subject the PRC plan participants or us to fines and other legal or administrative sanctions.

 

Pursuant to SAFE Circular 37, PRC residents who participate in share incentive plans in overseas non-publicly-listed companies may submit applications to SAFE or its local branches for the foreign exchange registration with respect to offshore special purpose vehicles. In the meantime, our directors, executive officers and other employees who are PRC citizens, subject to limited exceptions, and who have been granted share incentive awards by us, may follow the Notice on Issues Concerning the Foreign Exchange Administration for Domestic Individuals Participating in Share Incentive Plan of Companies Listed Overseas, promulgated by the SAFE in 2012, or the 2012 SAFE Notice. Pursuant to the 2012 SAFE Notice, PRC citizens and non-PRC citizens who reside in China for a continuous period of not less than one year who participate in any share incentive plan of an overseas publicly listed company, subject to a few exceptions, are required to register with SAFE through a domestic qualified agent, which could be the PRC subsidiaries of such overseas listed company, and complete certain other procedures. In addition, an overseas entrusted institution must be retained to handle matters in connection with the exercise or sale of share incentive awards and the purchase or sale of shares and interests. As a public company listed on NYSE, we and grantees of our share incentive awards who are PRC citizens or who reside in the PRC for a continuous period of no less than one year will be subject to these regulations. Failure to complete the SAFE registrations may subject the grantees of share incentive awards to fines and legal sanctions, and may also limit our ability to contribute additional capital into our PRC subsidiaries and limit our PRC subsidiaries’ ability to distribute dividends to us. We also face regulatory uncertainties that could restrict our ability to adopt additional share incentive plans for our directors, executive officers and employees under PRC law. See “Item 4. Information on the Company — B. Business Overview — Regulations — Regulations on Employee Share Incentive Plans of Overseas Publicly-Listed Company” for more details.

 

If we are classified as a PRC resident enterprise for PRC income tax purposes, such classification could result in unfavorable tax consequences to us and our non-PRC shareholders or ADS holders.

 

Under the PRC Enterprise Income Tax Law and its implementation rules, an enterprise established outside of the PRC with a “de facto management body” within the PRC is considered a resident enterprise and will be subject to the enterprise income tax on its global income at the rate of 25%. The implementation rules define the term “de facto management body” as the body that exercises full and substantial control over and overall management of the business, productions, personnel, accounts and properties of an enterprise. In April 2009, the State Administration of Taxation (“SAT”) issued a circular, known as Circular 82, which provides certain specific criteria for determining whether the “de facto management body” of a PRC-controlled enterprise that is incorporated offshore is located in China. Although this circular only applies to offshore enterprises controlled by PRC enterprises or PRC enterprise groups, not those controlled by PRC individuals or foreigners like us, the criteria set forth in the circular may reflect the SAT’s general position on how the “de facto management body” test should be applied in determining the tax resident status of all offshore enterprises. According to Circular 82, an offshore incorporated enterprise controlled by a PRC enterprise or a PRC enterprise group will be regarded as a PRC tax resident by virtue of having its “de facto management body” in China and will be subject to PRC enterprise income tax on its global income only if all of the following conditions are met: (i) the primary location of the day-to-day operational management is in the PRC; (ii) decisions relating to the enterprise’s financial and human resource matters are made or are subject to approval by organizations or personnel in the PRC; (iii) the enterprise’s primary assets, accounting books and records, company seals, and board and shareholder resolutions, are located or maintained in the PRC; and (iv) at least 50% of voting board members or senior executives habitually reside in the PRC.

 

 47 

 

 

We believe none of our entities outside of China is a PRC resident enterprise for PRC tax purposes. See “Item 10. Additional Information — E. Taxation — People’s Republic of China Taxation” for more details. However, the tax resident status of an enterprise is subject to determination by the PRC tax authorities and uncertainties remain with respect to the interpretation of the term “de facto management body.” As substantially all of our management members are based in China, it remains unclear how the tax residency rule will apply to our case. If the PRC tax authorities determine that Weidai Ltd. or any of our subsidiaries outside of China is a PRC resident enterprise for PRC enterprise income tax purposes, then Weidai Ltd. or such subsidiary could be subject to PRC tax at a rate of 25% on its worldwide income, which could materially reduce our net income. In addition, we will also be subject to PRC enterprise income tax reporting obligations. Furthermore, as described in the risk factor immediately below, if the PRC tax authorities determine that we are a PRC resident enterprise for enterprise income tax purposes, gains realized on the sale or other disposition of our ADSs or ordinary shares may be subject to PRC tax, and it is unclear whether non-PRC shareholders of our company would be able to claim the benefits of any tax treaties between their country of tax residence and the PRC in the event that we are treated as a PRC resident enterprise. Any such tax may reduce the returns on the investment in our ADSs or ordinary shares.

 

Dividends payable to our foreign investors and gains on the sale of our ADSs or ordinary shares by our foreign investors may become subject to PRC tax.

 

Under the PRC Enterprise Income Tax Law and its implementation regulations issued by the State Council, a 10% PRC withholding tax is applicable to dividends payable to investors that are non-resident enterprises, which do not have an establishment or place of business in the PRC or which have such establishment or place of business but the dividends are not effectively connected with such establishment or place of business, subject to any reduction or exemption set forth in applicable tax treaties or under applicable tax arrangements between jurisdictions, to the extent such dividends are derived from sources within the PRC. Similarly, any gain realized on the transfer of ADSs or ordinary shares by such investors is also subject to PRC tax at a current rate of 10%, subject to any reduction or exemption set forth in applicable tax treaties or under applicable tax arrangements between jurisdictions, if such gain is regarded as income derived from sources within the PRC. If we are deemed a PRC resident enterprise, dividends paid on our ordinary shares or ADSs, and any gain realized from the transfer of our ordinary shares or ADSs, may be treated as income derived from sources within the PRC and may as a result be subject to PRC taxation. Furthermore, if we are deemed a PRC resident enterprise, dividends payable to individual investors who are non-PRC residents and any gain realized on the transfer of ADSs or ordinary shares by such investors may be subject to PRC tax at a current rate of 20%, subject to any reduction or exemption set forth in applicable tax treaties or under applicable tax arrangements between jurisdictions, if such dividends or gains are deemed to be from PRC sources. If we or any of our subsidiaries established outside China are considered a PRC resident enterprise, it is unclear whether holders of our ADSs or ordinary shares would be able to claim the benefit of income tax treaties or agreements entered into between China and other countries or areas. If dividends payable to our non-PRC investors, or gains from the transfer of our ADSs or ordinary shares by such investors, are deemed as income derived from sources within the PRC and thus are subject to PRC tax, the value of your investment in our ADSs or ordinary shares may decline significantly.

 

 48 

 

 

We and our shareholders face uncertainties with respect to indirect transfers of equity interests in PRC resident enterprises or other assets attributed to a Chinese establishment of a non-Chinese company, or immovable properties located in China owned by non-Chinese companies.

 

On February 3, 2015, the SAT issued the Several Issues Concerning the Enterprise Income Tax on Indirect Property Transfer by Non-Resident Enterprises, or Circular 7, which partially replaced and supplemented previous rules under the Notice on Strengthening Administration of Enterprise Income Tax for Share Transfers by Non-PRC Resident Enterprises, or SAT Circular 698, issued by the SAT on December 10, 2009. Pursuant to this Circular 7, an “indirect transfer” of assets, including equity interests in a PRC resident enterprise, by non-PRC resident enterprises may be re-characterized and treated as a direct transfer of PRC taxable assets, if such arrangement does not have a reasonable commercial purpose and was established for the purpose of avoiding payment of PRC enterprise income tax. As a result, gains derived from such indirect transfer may be subject to PRC enterprise income tax. According to Circular 7, “PRC taxable assets” include assets attributed to an establishment in China, immovable properties located in China, and equity investments in PRC resident enterprises, in respect of which gains from their transfer by a direct holder, being a non-PRC resident enterprise, would be subject to PRC enterprise income taxes. When determining whether there is a “reasonable commercial purpose” of the transaction arrangement, features to be taken into consideration include: whether the main value of the equity interest of the relevant offshore enterprise derives from PRC taxable assets; whether the assets of the relevant offshore enterprise mainly consists of direct or indirect investment in China or if its income mainly derives from China; whether the offshore enterprise and its subsidiaries directly or indirectly holding PRC taxable assets have real commercial nature which is evidenced by their actual function and risk exposure; the duration of existence of the business model and organizational structure; the replicability of the transaction by direct transfer of PRC taxable assets; and the tax situation of such indirect transfer and applicable tax treaties or similar arrangements. In respect of an indirect offshore transfer of assets of a PRC establishment, the resulting gain is to be included with the enterprise income tax filing of the PRC establishment or place of business being transferred, and would consequently be subject to PRC enterprise income tax at a rate of 25%. Where the underlying transfer relates to the immovable properties located in China or to equity investments in a PRC resident enterprise, which is not related to a PRC establishment or place of business of a non-resident enterprise, a PRC enterprise income tax of 10% would apply, subject to available preferential tax treatment under applicable tax treaties or similar arrangements, and the party who is obligated to make the transfer payments has the withholding obligation. Where the payor fails to withhold any or sufficient tax, the transferor is required to declare and pay such tax to the tax authority by itself within the statutory time limit. Late payment of applicable tax will subject the transferor to default interest. Circular 7 does not apply to transactions of sale of shares by investors through a public stock exchange where such shares were acquired from a transaction through a public stock exchange. On October 17, 2017, the SAT promulgated the Bulletin of SAT on Issues Concerning the Withholding of Non-resident Enterprise Income Tax at Source (“Bulletin 37”), which became effective on December 1, 2017, and SAT Circular 698 then was repealed with effect from December 1, 2017. Bulletin 37, among other things, simplified procedures of withholding and payment of income tax levied on non-resident enterprises.

 

There is uncertainty as to the application of Circular 7 and Bulletin 37. We face uncertainties as to the reporting and other implications of certain past and future transactions where PRC taxable assets are involved, such as offshore restructuring, sale of the shares in our offshore subsidiaries or investments. Our company may be subject to filing obligations or taxed if our company is transferor in such transactions, and may be subject to withholding obligations if our company is transferee in such transactions under Circular 7 or Bulletin 37. For transfer of shares in our company by investors that are non-PRC resident enterprises, our PRC subsidiary may be requested to assist in the filing under Circular 7 or Bulletin 37. As a result, we may be required to expend valuable resources to comply with Circular 7 or Bulletin 37 or to request the relevant transferors from whom we purchase taxable assets to comply with Circular 7 and Bulletin 37, or to establish that our company should not be taxed under Circular 7 and Bulletin 37, which may have a material adverse effect on our financial condition and results of operations.

 

Risks Related to our American Depositary Shares

 

The market price for our ADSs may be volatile.

 

The trading prices of our ADSs ranged from US$2.69 to US$13.63 in 2019. The trading prices of our ADSs are likely to be volatile and could fluctuate widely due to factors beyond our control. This may happen because of broad market and industry factors, like the performance and fluctuation in the market prices or the underperformance or deteriorating financial results of other listed internet or other companies based in China that have listed their securities in the United States in recent years. The securities of some of these companies have experienced significant volatility since their initial public offerings, including, in some cases, substantial price declines in their trading prices. The trading performances of other Chinese companies’ securities after their offerings, including internet and e-commerce companies, may affect the attitudes of investors toward Chinese companies listed in the United States, which consequently may impact the trading performance of our ADSs, regardless of our actual operating performance. In addition, any negative news or perceptions about inadequate corporate governance practices or fraudulent accounting, corporate structure or other matters of other Chinese companies may also negatively affect the attitudes of investors towards Chinese companies in general, including us, regardless of whether we have conducted any inappropriate activities. In addition, securities markets may from time to time experience significant price and volume fluctuations that are not related to our operating performance, which may have a material adverse effect on the market price of our ADSs.

 

 49 

 

 

In addition to the above factors, the price and trading volume of our ADSs may be highly volatile due to multiple factors, including, among others, (i) regulatory developments affecting us, our borrowers, our investors, or our industry, (ii) market conditions in the marketplace lending industry, (iii) changes in the performance or market valuations of other marketplace lending platforms, (iv) announcements by us or our competitors of new product and service offerings, acquisitions, strategic relationships, joint ventures or capital commitments, (v) actual or anticipated fluctuations in our quarterly results of operations and changes or revisions of our expected results, changes in financial estimates by securities research analysts, (vi) negative publicity about us, our management or our industry, and (vii) sales or perceived potential sales of additional ordinary shares or ADSs.

 

Our dual-class share structure with different voting rights will limit your ability to influence corporate matters and could discourage others from pursuing any change of control transactions that holders of our Class A ordinary shares and ADSs may view as beneficial.

 

We have created a dual-class share structure. Mr. Hong Yao, our founder, chairman and chief executive officer, beneficially owns all of our issued Class B ordinary shares, and our other shareholders hold Class A ordinary shares. In respect of matters requiring the votes of shareholders, holders of Class A ordinary shares are entitled to one vote per share, while holders of Class B ordinary shares are entitled to five votes per share based on our proposed dual-class share structure. Each Class B ordinary share is convertible into one Class A ordinary share at any time by the holder thereof, while Class A ordinary shares are not convertible into Class B ordinary shares under any circumstances. Upon any transfer of Class B ordinary shares by a holder thereof to any person or entity which is not an affiliate of such holder, such Class B ordinary shares shall be automatically and immediately converted into the equal number of Class A ordinary shares.

 

Due to the disparate voting powers associated with our two classes of ordinary shares, Mr. Hong Yao beneficially owns 83.2% of the aggregate voting power of our company as of March 31, 2020. See “Item 6. Directors, Senior Management and Employees — E. Share Ownership.” As a result of the dual-class share structure and the concentration of ownership, Mr. Hong Yao has considerable influence over matters such as decisions regarding mergers, consolidations and the sale of all or substantially all of our assets, election of directors and other significant corporate actions. He may take actions that are not in the best interest of us or our other shareholders. This concentration of ownership may discourage, delay or prevent a change in control of our company, which could have the effect of depriving our other shareholders of the opportunity to receive a premium for their shares as part of a sale of our company and may reduce the price of our ADSs. This concentrated control limits your ability to influence corporate matters and could discourage others from pursuing any potential merger, takeover or other change of control transactions that holders of Class A ordinary shares and ADSs may view as beneficial. In addition, the significant concentration of share ownership may adversely affect the trading price of the ADSs due to investors’ perception that conflicts of interest may exist or arise. For more information regarding our principal shareholders and their affiliated entities, see “Item 6. Directors, Senior Management and Employees — E. Share Ownership.”

 

We are a “controlled company” within the meaning of the NYSE Listed Company Manual and, as a result, rely and will rely on exemptions from certain corporate governance requirements that provide protection to shareholders of other companies.

 

We are a “controlled company” as defined under the NYSE Listed Company Manual because Mr. Hong Yao beneficially owns a majority of the aggregate voting power of our company. For so long as we remain a controlled company under that definition, we are permitted to elect to rely, and will rely, on certain exemptions from corporate governance rules, including:

 

·an exemption from the rule that a majority of our board of directors must be independent directors;

 

·an exemption that we have a nominating committee and a compensation committee that is composed entirely of independent directors with a written charter addressing the committee’s purpose and responsibilities;

 

·an exemption from the rule that the compensation of our chief executive officer must be determined or recommended solely by independent directors; and

 

·an exemption from the rule that our director nominees must be selected or recommended solely by independent directors.

 

 50 

 

 

We are not required to and will not voluntarily meet these requirements. If we are no longer a “controlled company,” we may in the future invoke “home country” exceptions available to foreign private issuers, such as us, under the New York Stock Exchange Listed Company Manual which are similar to the exemptions for controlled companies, and also include the possibility of additional exceptions from the New York Stock Exchange Listed Company Manual. As a result of our use of the “controlled company” exemptions, and any future use by us of the “home country” exceptions, holders of our ADSs will not have the same protection afforded to shareholders of companies that are subject to all of NYSE corporate governance requirements. As a result, our ADS holders will not have the same protection afforded to shareholders of companies that are subject to these corporate governance requirements.

 

If securities or industry analysts do not publish research or publish inaccurate or unfavorable research about our business, the market price for our ADSs and trading volume could decline.

 

The trading market for our ADSs will depend in part on the research and reports that securities or industry analysts publish about us or our business. If research analysts do not establish and maintain adequate research coverage or if one or more of the analysts who cover us downgrade our ADSs or publish inaccurate or unfavorable research about our business, the market price for our ADSs would likely decline. If one or more of these analysts cease coverage of our company or fail to publish reports on us regularly, we could lose visibility in the financial markets, which, in turn, could cause the market price or trading volume for our ADSs to decline.

 

Because we do not expect to pay dividends in the foreseeable future, you must rely on price appreciation of our ADSs for return on your investment.

 

We currently intend to retain most, if not all, of our available funds and any future earnings to fund the development and growth of our business. As a result, we do not expect to pay any cash dividends in the foreseeable future. Therefore, you should not rely on an investment in our ADSs as a source for any future dividend income.

 

Our board of directors has discretion as to whether to distribute dividends, subject to certain restrictions under Cayman Islands law, namely that our company may only pay dividends out of profits or share premium, and provided always that in no circumstances may a dividend be paid if this would result in our company being unable to pay its debts at they fall due in the ordinary course of business. In addition, our shareholders may by ordinary resolution declare a dividend, but no dividend may exceed the amount recommended by our board of directors. Even if our board of directors decides to declare and pay dividends, the timing, amount and form of future dividends, if any, will depend on, among other things, our future results of operations and cash flow, our capital requirements and surplus, the amount of distributions, if any, received by us from our subsidiary, our financial condition, contractual restrictions and other factors deemed relevant by our board of directors. Accordingly, the return on your investment in our ADSs will likely depend entirely upon any future price appreciation of our ADSs. There is no guarantee that our ADSs will appreciate in value or even maintain the price at which our ADS holders purchased the ADSs. You may not realize a return on your investment in our ADSs and you may even lose your entire investment in our ADSs.

 

Substantial future sales or perceived potential sales of our ADSs in the public market could cause the price of our ADSs to decline.

 

Sales of our ADSs in the public market, or the perception that these sales could occur, could cause the market price of our ADSs to decline. As of March 31, 2020, we had 35,390,055 Class A ordinary shares and 35,071,400 Class B ordinary shares outstanding. Among these Class A ordinary shares, 7,853,077 Class A ordinary shares are represented by ADS. All our ADSs are freely transferable without restriction or additional registration under the Securities Act. The remaining ordinary shares outstanding will be available for sale subject to volume and other restrictions as applicable under Rules 144 and 701 under the Securities Act.

 

Certain holders of our ordinary shares may cause us to register under the Securities Act the sale of their shares. Registration of these shares under the Securities Act would result in ADSs representing these shares becoming freely tradable without restriction under the Securities Act immediately upon the effectiveness of the registration. Sales of these registered shares in the form of ADSs in the public market could cause the price of our ADSs to decline.

 

 51 

 

 

We adopted a share incentive plan in August 2018, under which we have the discretion to grant a range of equity-based awards to eligible participants. As of March 31, 2020, there are 1,179,151 outstanding share incentive awards under the 2018 Plan. See “Item 6. Directors, Senior Management and Employees — B. Compensation — Share Incentive Plans.” We have registered all ordinary shares that we may issue under this share incentive plan. Once we register these ordinary shares, they can be freely sold in the public market in the form of ADSs upon issuance, subject to volume limitations applicable to affiliates and the lock-up agreements described in the “Underwriting” section of the registration statement for our initial public offering. If a large number of our ordinary shares or securities convertible into our ordinary shares are sold in the public market in the form of ADSs after they become eligible for sale, the sales could reduce the trading price of our ADSs and impede our ability to raise future capital. In addition, any ordinary shares that we issue under our share incentive plan would dilute the percentage ownership held by investors who purchase ADSs in our initial public offering.

 

The voting rights of holders of ADSs are limited by the terms of the deposit agreement, and you may not be able to exercise your right to direct the voting of the underlying Class A ordinary shares which are represented by your ADSs.

 

As a holder of our ADSs, you will not have any direct right to attend general meetings of our shareholders or to cast any votes at such meetings. You will only be able to exercise the voting rights which attach to the underlying Class A ordinary shares which are represented by your ADSs indirectly by giving voting instructions to the depositary in accordance with the provisions of the deposit agreement. Under the deposit agreement, you may vote only by giving voting instructions to the depositary, as the holder of the underlying Class A ordinary shares which are represented by your ADSs. Upon receipt of your voting instructions, the depositary will endeavor to vote the underlying Class A ordinary shares in accordance with your instructions in the event voting is by poll, and in accordance with instructions received from a majority of holders of ADSs who provide instructions in the event voting is by show of hands. The depositary will not join in demanding a vote by poll. You will not be able to directly exercise any right to vote with respect to the underlying Class A ordinary shares unless you withdraw the shares and become the registered holder of such shares prior to the record date for the general meeting. Under our third amended and restated memorandum and articles of association that is currently effective, the minimum notice period required to be given by our company to our registered shareholders for convening a general meeting is seven (7) days. When a general meeting is convened, you may not receive sufficient advance notice to enable you to withdraw the underlying shares which are represented by your ADSs and become the registered holder of such shares prior to the record date for the general meeting to allow you to attend the general meeting or to vote directly with respect to any specific matter or resolution which is to be considered and voted upon at the general meeting. In addition, under our third amended and restated memorandum and articles of association that is currently in effective, for the purposes of determining those shareholders who are entitled to attend and vote at any general meeting, our directors may close our register of members and/or fix in advance a record date for such meeting, and such closure of our register of members or the setting of such a record date may prevent you from withdrawing the underlying shares which are represented by your ADSs and becoming the registered holder of such shares prior to the record date, so that you would not be able to attend the general meeting or to vote directly. Where any matter is to be put to a vote at a general meeting, the depositary will, if we request, and subject to the terms of the deposit agreement, endeavor to provide notice of the upcoming vote and to deliver our voting materials in accordance with the deposit agreement. We cannot assure you that you will receive the voting materials in time to ensure that you can instruct the depositary to vote the underlying shares which are represented by your ADSs. In addition, the depositary and its agents are not responsible for failing to carry out voting instructions or for their manner of carrying out your voting instructions. This means that you may not be able to exercise your right to direct the voting of the underlying shares which are represented by your ADSs, and you may have no legal remedy if the underlying shares are not voted as you requested.

 

Your rights to pursue claims against the depositary as a holder of ADSs are limited by the terms of the deposit agreement and the deposit agreement may be amended or terminated without your consent.

 

We may amend or terminate the deposit agreement without your consent. If you continue to hold your ADSs after an amendment to the deposit agreement, you agree to be bound by the deposit agreement as amended. See “Item 12. Description of Securities Other Than Equity Securities — D. American Depositary Shares” for more details.

 

 52 

 

 

Your right to participate in any future rights offerings may be limited, which may cause dilution to your holdings.

 

We may from time to time distribute rights to our shareholders, including rights to acquire our securities. However, we cannot make such rights available to you in the United States unless we register both the rights and the securities to which the rights relate under the Securities Act or an exemption from the registration requirements is available. Under the deposit agreement, the depositary will not make rights available to you unless both the rights and the underlying securities to be distributed to ADS holders are either registered under the Securities Act or exempt from registration under the Securities Act. We are under no obligation to file a registration statement with respect to any such rights or securities or to endeavor to cause such a registration statement to be declared effective and we may not be able to establish a necessary exemption from registration under the Securities Act. Accordingly, you may be unable to participate in our rights offerings in the future and may experience dilution in your holdings.

 

You may not receive dividends or other distributions on our ordinary shares and you may not receive any value for them, if it is illegal or impractical to make them available to you.

 

The depositary of our ADSs has agreed to pay to you the cash dividends or other distributions it or the custodian receives on our ordinary shares or other deposited securities underlying our ADSs, after deducting its fees and expenses. You will receive these distributions in proportion to the number of ordinary shares your ADSs represent. However, the depositary is not responsible if it decides that it is unlawful or impractical to make a distribution available to any holders of ADSs. For example, it would be unlawful to make a distribution to a holder of ADSs if it consists of securities that require registration under the Securities Act but that are not properly registered or distributed under an applicable exemption from registration. The depositary may also determine that it is not feasible to distribute certain property through the mail. Additionally, the value of certain distributions may be less than the cost of mailing them. In these cases, the depositary may determine not to distribute such property. Neither we nor the depositary has any obligation to register under U.S. securities laws any ADSs, ordinary shares, rights or other securities received through such distributions. Neither we nor the depositary has any obligation to take any other action to permit the distribution of ADSs, ordinary shares, rights or anything else to holders of ADSs. This means that you may not receive distributions we make on our ordinary shares or any value for them if it is illegal or impractical for us to make them available to you. These restrictions may cause a material decline in the value of our ADSs.

 

You may be subject to limitations on transfer of your ADSs.

 

Your ADSs are transferable on the books of the depositary. However, the depositary may close its transfer books at any time or from time to time when it deems expedient in connection with the performance of its duties. In addition, the depositary may refuse to deliver, transfer or register transfers of ADSs generally when our books or the books of the depositary are closed, or at any time if we or the depositary deems it advisable to do so because of any requirement of law or of any government or governmental body, or under any provision of the deposit agreement, or for any other reason.

 

Certain judgments obtained against us by our shareholders may not be enforceable and the ability of U.S. authorities to bring actions against us or our management may also be limited.

 

We are an exempted company limited by shares incorporated under the laws of the Cayman Islands. We conduct substantially all of our operations in China and substantially all of our assets are located in China, the world’s largest emerging market. In addition, a majority of our directors and executive officers reside within China, and most of the assets of these persons are located within China. As a result, it may be difficult or impossible for you to effect service of process within the United States upon these individuals, or to bring an action against us or against these individuals in the United States in the event that you believe your rights have been infringed under the U.S. federal securities laws or otherwise. Even if you are successful in bringing an action of this kind, the laws of the Cayman Islands and of the PRC may render you unable to enforce a judgment against our assets or the assets of our directors and officers. In addition, due to jurisdictional limitations, matters of comity and various other factors, the SEC, Department of Justice (“DOJ”) and other U.S. authorities may be limited in their ability to take enforcement actions, including in instances of fraud, against us or our directors and officers in China. In addition, shareholder claims that are common in the United States, including class action securities law and fraud claims, generally uncommon in China.

 

 53 

 

 

There is no statutory enforcement in the Cayman Islands of judgments obtained in the federal or state courts of the United States and the Cayman Islands are not a party to any treaties for the reciprocal enforcement or recognition of such judgments. The courts of the Cayman Islands would recognise as a valid judgment, a final and conclusive judgment in personam obtained in the federal or state courts of the United States against the Company under which a sum of money is payable (other than a sum of money payable in respect of multiple damages, taxes or other charges of a like nature or in respect of a fine or other penalty) or, in certain circumstances, an in personam judgment for non-monetary relief, and would give a judgment based thereon provided that (a) such courts had proper jurisdiction over the parties subject to such judgment, (b) such courts did not contravene the rules of natural justice of the Cayman Islands, (c) such judgment was not obtained by fraud, (d) the enforcement of the judgment would not be contrary to the public policy of the Cayman Islands, (e) no new admissible evidence relevant to the action is submitted prior to the rendering of the judgment by the courts of the Cayman Islands, and (f) there is due compliance with the correct procedures under the laws of the Cayman Islands. However, the Cayman Islands courts are unlikely to enforce a judgment obtained from the U.S. courts under civil liability provisions of the U.S. federal securities law if such judgment is determined by the courts of the Cayman Islands to give rise to obligations to make payments that are penal or punitive in nature. Because such a determination has not yet been made by a court of the Cayman Islands, it is uncertain whether such civil liability judgments from U.S. courts would be enforceable in the Cayman Islands.

 

The recognition and enforcement of foreign judgments are provided for under the PRC Civil Procedures Law. PRC courts may recognize and enforce foreign judgments in accordance with the requirements of the PRC Civil Procedures Law based either on treaties between China and the country where the judgment is made or on principles of reciprocity between jurisdictions. China does not have any treaties or other forms of reciprocity with the United States that provide for the reciprocal recognition and enforcement of foreign judgments. In addition, according to the PRC Civil Procedures Law, the PRC courts will not enforce a foreign judgment against us or our director and officers if they decide that the judgment violates the basic principles of PRC laws or national sovereignty, security or public interest. As a result, it is uncertain whether and on what basis a PRC court would enforce a judgment rendered by a court in the United States.

 

You may face difficulties in protecting your interests, and your ability to protect your rights through U.S. courts may be limited, because we are incorporated under Cayman Islands law.

 

We are an exempted company limited by shares incorporated under the laws of the Cayman Islands. Our corporate affairs are governed by our memorandum and articles of association, the Companies Law (2020 Revision) (the “Companies Law”) of the Cayman Islands and the common law of the Cayman Islands. The rights of shareholders to take action against the directors, actions by minority shareholders and the fiduciary duties of our directors to us under Cayman Islands law are to a large extent governed by the common law of the Cayman Islands. The common law of the Cayman Islands is derived in part from comparatively limited judicial precedent in the Cayman Islands as well as from the common law of England, the decisions of whose courts are of persuasive authority, but are not binding, on a court in the Cayman Islands. The rights of our shareholders and the fiduciary duties of our directors under Cayman Islands law are not as clearly established as they would be under statutes or judicial precedent in some jurisdictions in the United States. In particular, the Cayman Islands has a less developed body of securities laws than the United States. Some U.S. states, such as Delaware, have more fully developed and judicially interpreted bodies of corporate law than the Cayman Islands. In addition, Cayman Islands companies may not have standing to initiate a shareholder derivative action in a federal court of the United States.

 

Shareholders of Cayman Islands exempted companies like us have no general rights under Cayman Islands law to inspect corporate records or to obtain copies of lists of shareholders of these companies. Our directors have discretion under our current amended and restated memorandum and articles of association, to determine whether or not, and under what conditions, our corporate records may be inspected by our shareholders, but are not obliged to make them available to our shareholders. This may make it more difficult for you to obtain the information needed to establish any facts necessary for a shareholder resolution or to solicit proxies from other shareholders in connection with a proxy contest.

 

 54 

 

 

As a result of all of the above, our public shareholders may have more difficulty in protecting their interests in the face of actions taken by management, members of the board of directors or controlling shareholders than they would as public shareholders of a company incorporated in the United States.

 

Our memorandum and articles of association contain anti-takeover provisions that could discourage a third party from acquiring us and adversely affect the rights of holders of our Class A ordinary shares and ADSs.

 

Our memorandum and articles of association contains certain provisions that could limit the ability of others to acquire control of our company, including a dual-class share structure that gives greater voting power to the Class B ordinary shares beneficially owned by our founder, a provision that grants authority to our board of directors to establish and issue from time to time one or more series of preferred shares without action by our shareholders and to determine, with respect to any series of preferred shares, the terms and rights of that series. These provisions could have the effect of depriving our shareholders and ADS holders of the opportunity to sell their shares or ADSs at a premium over the prevailing market price by discouraging third parties from seeking to obtain control of our company in a tender offer or similar transactions.

 

We are an emerging growth company and may take advantage of certain reduced reporting requirements.

 

We are an “emerging growth company,” as defined in the JOBS Act, and we may take advantage of certain exemptions from various requirements applicable to other public companies that are not emerging growth companies including, most significantly, not being required to comply with the auditor attestation requirements of Section 404 of Sarbanes-Oxley Act of 2002 for so long as we are an emerging growth company. As a result, if we elect not to comply with such auditor attestation requirements, our investors may not have access to certain information they may deem important.

 

The JOBS Act also provides that an emerging growth company does not need to comply with any new or revised financial accounting standards until such date that a private company is otherwise required to comply with such new or revised accounting standards. In other words, an “emerging growth company” can delay the adoption of certain accounting standards until those standards would otherwise apply to private companies. We have elected to take advantage of the extended transition period. As a result of this election, our future financial statements may not be comparable to other public companies that comply with the public company effective dates for these new or revised accounting standards.

 

We are a foreign private issuer within the meaning of the rules under the Exchange Act, and as such we are exempt from certain provisions applicable to U.S. domestic public companies.

 

Because we qualify as a foreign private issuer under the Exchange Act, we are exempt from certain provisions of the securities rules and regulations in the United States that are applicable to U.S. domestic issuers, including:

 

·the rules under the Exchange Act requiring the filing with the SEC of quarterly reports on Form 10-Q or current reports on Form 8-K;

 

·the sections of the Exchange Act regulating the solicitation of proxies, consents, or authorizations in respect of a security registered under the Exchange Act;

 

·the sections of the Exchange Act requiring insiders to file public reports of their stock ownership and trading activities and liability for insiders who profit from trades made in a short period of time; and

 

·the selective disclosure rules by issuers of material nonpublic information under Regulation FD.

 

We are required to file an annual report on Form 20-F within four months of the end of each fiscal year. In addition, we intend to publish our results on a quarterly basis as press releases, distributed pursuant to the rules and regulations of the New York Stock Exchange. Press releases relating to financial results and material events will also be furnished to the SEC on Form 6-K. However, the information we are required to file with or furnish to the SEC will be less extensive and less timely compared to that required to be filed with the SEC by U.S. domestic issuers. As a result, you may not be afforded the same protections or information that would be made available to you were you investing in a U.S. domestic issuer.

 

 55 

 

 

As a company incorporated in the Cayman Islands, we are permitted to adopt certain home country practices in relation to corporate governance matters that differ significantly from the New York Stock Exchange corporate governance listing standards; these practices may afford less protection to shareholders than they would enjoy if we complied fully with the New York Stock Exchange corporate governance listing standards.

 

As a Cayman Islands company listed on the New York Stock Exchange, we are subject to the New York Stock Exchange corporate governance listing standards. However, New York Stock Exchange rules permit a foreign private issuer like us to follow the corporate governance practices of its home country. Certain corporate governance practices in the Cayman Islands, which is our home country, may differ significantly from the New York Stock Exchange corporate governance listing standards. For example, we are not required to have a minimum of three members in our audit committee. See “Item 16G. Corporate governance.” Since we have chosen to follow certain home country practice, our shareholders may be afforded less protection than they otherwise would enjoy under the NYSE corporate governance listing standards applicable to U.S. domestic issuers.

 

There is a significant risk that we may become a passive foreign investment company, or PFIC, for U.S. federal income tax purposes in the current or a future taxable year. PFIC status could subject U.S. investors in our ADSs or ordinary shares to significant adverse U.S. federal income tax consequences.

 

A non-U.S. corporation will be a “passive foreign investment company,” or “PFIC,” if, in any particular taxable year, either (a) 75% or more of its gross income for such year consists of certain types of “passive” income or (b) 50% or more of the average quarterly value of its assets during such year produce or are held for the production of passive income (the “asset test”). Based on the current composition of our income and assets and the value of our assets, there is a significant risk that we may become a PFIC in the current or a future taxable year. The PFIC tests must be applied each year, taking into account our income and assets throughout the entire year, with such assets measured at the end of each quarter. Accordingly, it is possible that we may be treated as a PFIC in the current or a future taxable year due to changes in the composition of our income and assets and the value of our assets. In particular, because the value of our assets will be determined by reference to the market value of our ADSs, a decrease in the market value of our ADSs may cause us to be a PFIC. In addition, there is no guarantee that the IRS would not challenge the treatment of certain of our income and assets (including whether or not certain of our income and assets qualify as being received or held in connection with an active financing business), which may cause us to be a PFIC.

 

If we are a PFIC in any taxable year, a U.S. Holder (as defined in “Item 10. Additional Information — Taxation — United States Federal Income Tax Considerations”) may incur significantly increased U.S. federal income tax on gain recognized on the sale or other disposition of the ADSs or ordinary shares and on the receipt of distributions on the ADSs or ordinary shares to the extent such gain or distribution is treated as an “excess distribution” under the U.S. federal income tax rules, and such holder may be subject to burdensome reporting requirements. Further, if we are a PFIC for any year during which a U.S. Holder holds our ADSs or ordinary shares, we generally will continue to be treated as a PFIC for all succeeding years during which such U.S. Holder holds our ADSs or ordinary shares unless we cease to be a PFIC and the U.S. Holder makes a special election. See “Item 10. Additional Information — Taxation — United States Federal Income Tax Considerations — Passive Foreign Investment Company Rules” for more details.

 

We will incur increased costs as a result of being a public company, particularly after we cease to qualify as an “emerging growth company.”

 

As a public company, we expect to incur significant legal, accounting and other expenses that we did not incur as a private company. The Sarbanes-Oxley Act of 2002, as well as rules subsequently implemented by the SEC and the New York Stock Exchange, impose various requirements on the corporate governance practices of public companies. As a company with less than US$1.07 billion in net revenues for our last fiscal year, we qualify as an “emerging growth company” pursuant to the JOBS Act. An emerging growth company may take advantage of specified reduced reporting and other requirements that are otherwise applicable generally to public companies. These provisions include exemption from the auditor attestation requirement under Section 404 of the Sarbanes-Oxley Act of 2002 in the assessment of the emerging growth company’s internal control over financial reporting and permission to delay adopting new or revised accounting standards until such time as those standards apply to private companies.

 

 56 

 

 

We expect these rules and regulations to increase our legal and financial compliance costs and to make some corporate activities more time-consuming and costly. After we are no longer an “emerging growth company,” we expect to incur significant expenses and devote substantial management effort toward ensuring compliance with the requirements of Section 404 of the Sarbanes-Oxley Act of 2002 and the other rules and regulations of the SEC. For example, as a result of becoming a public company, we will need to increase the number of independent directors and adopt policies regarding internal controls and disclosure controls and procedures. We also expect that operating as a public company will make it more difficult and more expensive for us to obtain director and officer liability insurance, and we may be required to accept reduced policy limits and coverage or incur substantially higher costs to obtain the same or similar coverage. In addition, we will incur additional costs associated with our public company reporting requirements. It may also be more difficult for us to find qualified persons to serve on our board of directors or as executive officers. We are currently evaluating and monitoring developments with respect to these rules and regulations, and we cannot predict or estimate with any degree of certainty the amount of additional costs we may incur or the timing of such costs.

 

In the past, shareholders of a public company often brought securities class action suits against the company following periods of instability in the market price of that company’s securities. If we were involved in a class action suit, it could divert a significant amount of our management’s attention and other resources from our business and operations, which could harm our results of operations and require us to incur significant expenses to defend the suit. Any such class action suit, whether or not successful, could harm our reputation and restrict our ability to raise capital in the future. In addition, if a claim is successfully made against us, we may be required to pay significant damages, which could have a material adverse effect on our financial condition and results of operations.

 

ITEM 4. INFORMATION ON THE COMPANY

 

A. History and Development of the Company

 

We commenced our marketplace lending business in July 2011 through Hangzhou Ruituo. Since March 2012, we have commenced facilitating auto-backed loans. In October 2015, we transferred all of our assets in Hangzhou Ruituo to Weidai (Hangzhou) Financial Information Service Ltd., or Weidai Financial Information, and have since then operated our marketplace lending business through Weidai Financial Information.

 

In January 2018, Weidai Ltd. was incorporated under the laws of the Cayman Islands as our offshore holding company, to facilitate our initial public offering in the United States. Shortly following its incorporation, Weidai Ltd. established a wholly owned subsidiary in Hong Kong, Weidai HK Limited, or Weidai HK, to be our intermediate holding company in February 2018. In March 2018, Weidai HK established a wholly owned subsidiary in China, Weidai Co., Ltd.

 

In April 2018, Weidai Co., Ltd. entered into a series of contractual arrangements with Weidai Financial Information and its shareholders, including the share pledge agreements, exclusive business cooperation agreement, exclusive call option agreement and shareholders’ power of attorney. Our contractual arrangements with Weidai Financial Information and its shareholders allow us to exercise effective control over Weidai Financial Information and receive substantially all of its economic benefits, and provide us an exclusive option to purchase all or part of its equity interests when and to the extent permitted by PRC law. See “Item 4. Information on the Company — C. Organizational Structure — Contractual Arrangements with Weidai Financial Information” for more details. As a result of our direct ownership in Weidai Co., Ltd. and the contractual arrangements with Weidai Financial Information and its shareholders, we treat Weidai Financial Information as our variable interest entity and consolidate its financial results in our consolidated financial statements in accordance with U.S. GAAP.

 

In addition, pursuant to board and shareholder resolutions of Weidai Ltd. passed in April 2018, the board of directors of Weidai Ltd. or an authorized officer of the board shall cause Weidai Co., Ltd. to exercise (i) Weidai Co., Ltd.’s rights under the shareholders’ power of attorney, and (ii) Weidai Co., Ltd.’s rights under the exclusive call option agreement, when the board of directors of Weidai Ltd. or the authorized officer determines that such exercise is in the best interest of Weidai Ltd. and Weidai Co., Ltd. As a result of these resolutions and the provision of unlimited financial support from Weidai Ltd. to Weidai Financial Information pursuant to a financial support undertaking letter, Weidai Ltd. is determined to be most closely associated with Weidai Financial Information within the group of related parties and is considered the primary beneficiary of Weidai Financial Information. See “Item 4. Information on the Company — C. Organizational Structure — Contractual Arrangements with Our Variable Interest Entities — Financial Support Undertaking Letter with Weidai Ltd.” for more details.

 

 57 

 

 

On November 15, 2018, our ADSs commenced trading on the NYSE under the symbol “WEI.” We raised from our initial public offering (after underwriters exercised their over-allotment option) approximately US$45.1 million in net proceeds after deducting underwriting discounts and the estimated offering expenses payable by us.

 

In January 2019, Weidai Co., Ltd. entered into a series of contractual arrangements with Yuntuo and its shareholders, including the share pledge agreements, exclusive business cooperation agreement, exclusive call option agreement and shareholders’ power of attorney. Our contractual arrangements with Yuntuo and its shareholders allow us to exercise effective control over Yuntuo and receive substantially all of its economic benefits, and provide us an exclusive option to purchase all or part of its equity interests when and to the extent permitted by PRC law. See “Item 4. Information on the Company — C. Organizational Structure —  Contractual Arrangements with Our Variable Interest Entities — Contractual Arrangements with Yuntuo” for more details. As a result of our direct ownership in Weidai Co., Ltd. and the contractual arrangements with Yuntuo and its shareholders, we treat Yuntuo as our variable interest entity and consolidate its financial results in our consolidated financial statements in accordance with U.S. GAAP.

 

Our principal executive offices are located at No. 9 Baiyun Road, Shangcheng District, Hangzhou, Zhejiang Province, People’s Republic of China. Our telephone number at this address is +86-571-5697-9013. Our registered office in the Cayman Islands is located at the offices of Conyers Trust Company (Cayman) Limited, Cricket Square, Hutchins Drive, P.O. Box 2681, Grand Cayman, KY1-1111, Cayman Islands.

 

Investors should submit any inquiries to the address and telephone number of our principal executive offices. Our main website is www.weidai.com.cn. The information contained on our website is not a part of this annual report.

 

SEC maintains an internet site (http://www.sec.gov), which contains reports, proxy and information statements, and other information regarding us that file electronically with the SEC.

 

B. Business Overview

 

We are one of the largest auto-backed financing solution providers in China. Our platform connects borrowers, the majority of which are small and micro enterprise owners, with investors. Established in 2011 by a group of entrepreneurs with backgrounds in small and micro enterprises, we are dedicated to providing small and micro enterprise owners with accessible credit. We pioneered auto-backed financing in China in the form of title loans. We believe our products and services create exceptional value for both borrowers and investors.

 

Small and micro enterprises are vital to China’s economic growth. However, they have substantial and growing unmet financing needs for daily operation and business expansion. Small and micro enterprises often have financing needs that are frequent, unpredictable and time-sensitive. Due to fast-evolving business nature, limited planning abilities and the lack of a nationwide credit rating system in China, small and micro enterprises face difficulties including limited access to banks and other traditional financing channels, high costs of alternative lending channels, and the uncertainty of funding from families and friends. Auto-backed financing represents an attractive solution for small and micro enterprise owners, as automobiles are their most commonly held valuable assets and proper collaterals which enhance their credit profiles and enable them to obtain higher credit limit at lower cost. In addition, auto-backed loans currently have a low penetration rate in China and the loan volume is expected to grow in the foreseeable future.

 

 58 

 

 

We were the first in China to introduce auto-backed financing product in the form of title loan with “collateral registration + GPS system” features in 2011, which has replaced the traditional model of lenders keeping automobiles in custody and has since become the industry standard. Our auto-backed loans generally have principal amounts between RMB30,000 and RMB200,000, tenures from one to 36 months and APRs from 20% to 36%. In 2019, the auto-backed loans we facilitated had an average amount of RMB59,615 and an average tenure of 22 months. In 2019, 60.0% of borrowers who took out auto-backed loans through our platform were repeat borrowers.

 

As of December 31, 2019, we have built a nationwide network of 375 service centers across approximately 202 cities over the past eight years, which we believe presents significant barriers to entry. This extensive offline network, seamlessly integrated with our centralized technology platform and risk management system, has enabled a fast and highly automated transaction process. Our lending decisions are generally made within 30 minutes of application after information collection and automobile appraisal, and loans are generally disbursed within the same day, including weekends, delivering superior user experience. In addition, through this geographically dispersed network, we have gained a large and increasing volume of transaction data and local know-how. The breadth and depth of these transaction data have enabled us to make accurate credit assessments, effectively preventing fraud and enhancing collection efforts.

 

We believe our auto-backed loan products, which transform used automobiles, a type of “non-standard” collateral, into investable assets, represent a high-quality and low-risk asset class that is hard for investors to access elsewhere. Starting from February 2020, we primarily collaborate with institutional funding partners.

 

We maintain a sophisticated and effective risk management system spanning across our entire transaction process, from borrower acquisition to loan collection. We adopt a multi-dimensional risk management approach from both “borrower” and “automobile” perspectives, and gain further insights from our proprietary data and a broad spectrum of third-party data sources, which results in our best-in-class automobile appraisal capabilities. Our advanced GPS tracking system and dedicated post-loan management mobile app serve as powerful tools for detecting fraud and taking automobiles into custody. As a result, we have achieved robust credit performance.

 

We generate revenues primarily from service fees charged to borrowers for our facilitation and management of loans. Our net revenues were RMB3,545.4 million, RMB3,913.5 million and RMB3,357.5 million (US$482.3 million) in 2017, 2018 and 2019, respectively. Our net income was RMB474.8 million, RMB604.6 million and RMB263.2 million (US$37.8 million) in 2017, 2018 and 2019, respectively. Our adjusted net income, net of taxes, was RMB505.4 million, RMB691.7 million and RMB316.2 million (US$45.4 million) in 2017, 2018 and 2019, respectively.

 

Our Value Proposition to Borrowers

 

·Accessible: make credit available for China’s small and micro enterprise owners who have limited or no access to traditional financing channels; we provide 24/7 accessibility through mobile app, website and call center

 

·Timely: fast, highly-automated process; loans are typically approved within 30 minutes and funded within the same day, including weekends

 

·Affordable: significantly higher credit limit at a reasonable cost compared with alternative lending channels

 

·Flexible: various duration and repayment options to choose from

 

·Superior experience: seamlessly integrated online + offline and one-stop experience supported by 375 service centers across approximately 202 cities and centralized online operations as of December 31, 2019.

 

 59 

 

 

Our Value Proposition to Investors

 

We provide our investors access to a unique asset class with attractive risk-adjusted returns.

 

Our Borrowers and Loan Products

 

Our Borrowers

 

Borrower Profile and Demographics

 

We primarily facilitate auto-backed loans targeting small and micro enterprise owners. Small and micro enterprise owners in China have a large and expanding demand for loans with higher credit limit and fast approval process, which creates substantial growth opportunity for auto-backed loans.

 

According to a borrower survey we conducted in the first quarter of 2018, among the over 3,400 borrowers who took out auto-backed loans during the survey period:

 

·95.5% were small and micro enterprise owners,

 

·59.4% owned businesses with fewer than 30 employees,

 

·54.5% had annual revenue of less than RMB5 million,

 

·89.5% took out loans to cover short-term working capital requirements,

 

·89.7% had overdue receivables from their customers, and

 

·automobiles is the most commonly held valuable asset for the small and micro enterprise owners surveyed.

 

While our borrower base has experienced fast growth since our inception in 2011, it has declined since October 2019. The number of active borrowers of auto-backed loans on our platform was 315,211, 253,596 and 185,569 in 2017, 2018 and 2019, respectively. As of December 31, 2017, 2018 and 2019, we facilitated RMB148.1 billion, RMB203.7 billion and RMB245.1 billion (US$41.3 billion) auto-backed loans cumulatively, respectively.

 

We believe we have a well-engaged and loyal borrower base. In 2017, 2018 and 2019, 66.6%, 62.0% and 62.2% of borrowers who took out auto-backed loans through our platform were repeat borrowers, respectively.

 

Borrower Acquisition

 

We attract borrowers through (i) word-of-mouth referrals, (ii) our online channels, including our mobile app, WeChat account, website and call center, (iii) performance-based advertisements placed on websites of our online channel partners, including autohome.com.cn, toutiao.com, baidu.com and other web portals where our target borrowers frequently visit, which direct traffic to our call center, and (iv) referrals from our offline channel partners, such as financial leasing companies, used automobile dealers and other financial service providers.

 

We plan to increasingly acquire borrowers through our online channels by enhancing the scope and quality of services provided through these channels and launching a variety of marketing campaigns and initiatives through these channels.

 

Loan Products and Services Offered to Borrowers

 

We provide borrowers convenient and quick access to credit with a number of loan products based on their specific financing needs and risk profiles. The following table sets forth a breakdown of loan volume facilitated and originated through our platform by type of products for the periods indicated:

 

 60 

 

 

   For the Years ended December 31, 
   2017   2018   2019 
   RMB’000   % of total
loan
volume
   RMB’000   % of total
loan
volume
   RMB’000   USD’000   % of total
loan
volume
 
Auto-backed loans   80,201,041    82.7    62,423,360    79.3    41,333,872    5,937,239    67.6 

Other secured loans(1)

   10,934,115    11.3    8,143,759    10.3    6,163,363    885,312    10.1 
Unsecured loans(2)   5,801,381    6.0    8,218,795    10.4    13,604,445    1,954,156    22.3 
Total loan volume   96,936,537    100.0    78,785,914    100.0    61,101,680    8,776,707    100.0 

 

(1) Primarily including home equity loans and construction machinery loans. We ceased to offer home equity loans to new borrowers in the fourth quarter of 2017, the loan volume of which totaled RMB8.8 billion, RMB2.7 billion and RMB9.7 million (US$1.4 million) in 2017, 2018 and 2019, respectively.

 

(2) Primarily including professional credit loans and consumption loans. We ceased to offer certain types of consumption loans and unsecured auto-financing loans offered to those who have taken out auto-financing loans from certain commercial banks to new borrowers in the fourth quarter of 2017, the loan volume of which totaled RMB3.8 billion, RMB1.2 billion and nil in 2017, 2018 and 2019, respectively.

 

Borrowers repay principal and interest to investors, and pay service fees to us. The rate of return to investors is generally determined based on the type and tenure of the loan and market conditions.

 

·Principal and interest. Loans with tenures ranging from one to six months are generally repaid with monthly payments of interest over the life of the loan, followed by a repayment of principal at maturity. Loans longer than six months are generally repaid in fixed monthly installments (consisting of both principal and interest) over the life of the loan; and

 

·Service fees. Borrowers pay us service fees for our platform’s facilitation and management of their loans generally on a monthly basis.

 

We allow borrowers to hold multiple loans at the same time on our platform, and a borrower’s total credit limit for all such loans on our platform is determined based on his respective Weidai Credit score on our platform. See “— Technology and Risk Management  — Risk Management — Credit Assessment System” for more details.

 

Auto-backed Loans

 

Auto-backed loans refer to loans secured by an automobile registered in the borrower’s name. A borrower who owns an automobile that is less than ten years old is eligible to apply for auto-backed loans on our platform.

 

We generally facilitate auto-backed loans with principal amounts between RMB30,000 and RMB200,000 and tenures ranging from one to 36 months. In 2017, 2018 and 2019, the total volume of auto-backed loans facilitated and originated through our platform totaled RMB80.2 billion, RMB62.4 billion and RMB41.3 billion (US$5.9 billion), respectively, representing 82.7%, 79.3% and 67.6% of the total loan volume facilitated and originated through our platform for the same periods, respectively. In 2017, 2018 and 2019, the average amount of auto-backed loans facilitated and originated through our platform was RMB63,888, RMB61,389 and RMB59,615, respectively. In 2018 and 2019, the APR for our auto-backed loans typically ranged from 17% to 36%.

 

A borrower’s loan-to-value ratio, or LTV ratio, for our auto-backed loan products generally ranges between 50% to 80% based on his Weidai Credit score. We maintain a whitelist of existing auto-backed loan borrowers based on their post-loan performance, such as repayment status and behavior data collected by our GPS tracking system. The whitelisted borrowers are offered the option to go through another credit review to increase their LTV ratio by 10% to 30% (provided that the increased LTV ratio does not exceed 120%) and receive another loan disbursement according to the increased LTV ratio and the latest appraised value of their automobiles. The weighted average LTV ratio for our auto-backed loan borrowers was 63.4%, 62.3% and 67.0% in 2017, 2018 and 2019, respectively. In 2017, 2018 and 2019, 84.3%, 86.4% and 71.7% of our auto-backed loan borrowers were granted LTV ratio below 80%, respectively.

 

 61 

 

 

 

The following diagram illustrates the loan volume breakdown of auto-backed loans facilitated through our platform in 2017, 2018 and 2019 by LTV ratio:

 

 

 

Auto-backed loan borrowers typically provide investors the title of their automobiles as collaterals by registering such automobile collaterals at local automobile administrative offices, and are not required to hand over their automobiles. For borrowers with higher credit risks or under certain other limited circumstances, we require the automobiles to be pledged and kept at our leased parking lots or parking spaces over the life of the loan. In 2017, 2018 and 2019, the volume of auto-backed loans with automobiles pledged to us and the relevant automobiles kept at our leased parking lots or parking spaces totaled RMB9.8 billion, RMB4.8 billion and RMB467.4 million (US$67.1 million), and accounted for 10.1%, 6.0% and 0.8% of our total loan volume, respectively.

 

We believe that our platform enables a fast auto-backed loan application process, a credit assessment that accurately determines an auto-backed loan applicant’s creditworthiness and his automobile’s value, and a superior overall user experience. After a prospective borrower of auto-backed loans submits all required information and materials, he will typically receive a credit decision within 30 minutes. See “— Our Transaction Process” for more details.

 

Other Loans

 

We offer a number of other loans to meet the varied financial needs of our borrowers. In 2017, 2018 and 2019, the volume of other loans facilitated and originated through our platform totaled RMB16.7 billion, RMB16.4 billion and RMB19.8 billion (US$2.8 billion), respectively, representing 17.3%, 20.8% and 32.4% of the total loan volume facilitated through our platform for the same periods, respectively.

 

·Professional credit loans. Professional credit loans are unsecured loans offered to professionals in selected industries with good credit and mid- to high-income. We require these borrowers to demonstrate, among others, job stability and a continuous record of pension fund contributions. These loans generally have principal amounts between RMB50,000 and RMB200,000 and a tenure up to 24 months. In 2017, 2018 and 2019, the APR for our professional credit loans typically ranged from 12% to 24%.

 

·Construction machinery loans. Construction machinery loans include loans for the purchase of construction machinery. These loans generally have principal amounts between RMB50,000 to RMB1,000,000 and tenures ranging from six to 36 months.

 

 62 

 

 

·Home equity loans. Home equity loans refer to loans secured by the residential property owned by the borrower. We ceased to offer home equity loans to new borrowers in the fourth quarter of 2017, since home equity products are more standardized and providers of home equity loans primarily compete on cost of capital, where we do not have a significant competitive advantage.

 

·Others. We currently also facilitate a number of other loans through our platform, including, among others, (i) consumption loans offered exclusively through our mobile apps, which generally have principal amounts between RMB1,000 and RMB100,000 with tenures of three to 12 months, and (ii) auto-financing loans under both direct lease and sale-and-leaseback models for the purchase of new and used automobiles from auto dealers and financial leasing companies, which generally have principal amounts between RMB20,000 and RMB200,000 with tenures of 24 or 36 months. We have ceased to offer consumption loans involving smaller loan amounts and shorter tenures, and unsecured auto-financing loans offered to those who have taken out auto-financing loans from certain commercial banks starting from the fourth quarter of 2017.

 

Our Transaction Process

 

Our platform enables a fast and streamlined transaction process, from initial consultation and credit assessment, automobile appraisal and inspection, GPS tracking device installation and collateral registration to post-loan monitoring and servicing, delivering a superior user experience.

 

The following diagram illustrates our platform’s facilitation of auto-backed loans:

 

 

 

 

(a) Each borrower and investor has an individual custody account with Xinwang Bank, our custodian bank.

 

(b) If a borrower meets one of our institutional funding partners’ predetermined investment criteria, we may refer the borrower to the institutional funding partner instead of listing the loan on our platform. Subject to the institutional funding partner’s own credit assessment and loan approval procedures, the loan may be funded by the institutional funding partner.

 

(c) For loans funded by online investors, borrowers paid service fees to us and repaid principal and interest to online investors on a monthly basis over the life of the loan, with the first payment due one month from the time of loan disbursement. We have ceased to list loans on our platform for online investors’ subscription since February 2020. For loans funded by institutional funding partners, the institutional funding partners pay service fees to us and the borrowers repay principal and interest to institutional funding partners.

 

 63 

 

 

Step 1: Initial Consultation and Credit Assessment

 

Our loan application process begins with the prospective borrower’s submission of his basic information including name, PRC ID card number and mobile phone number through one of the following channels: (i) our website, www.weidai.com.cn, which features a fast and user-friendly loan application process and provides the prospective borrower with access to live support and online tools throughout the loan application process and over the life of the loan, (ii) our dedicated mobile app for borrowers, enabling prospective borrowers to access our loan products and services anytime, anywhere and to track the status of their loans and payment schedules using mobile phones or tablet computers, (iii) our WeChat account, (iv) our call center, which provides comprehensive pre-loan consultation to potential borrowers, or (v) one of our service centers across China.

 

Once we receive the prospective borrower’s name, PRC ID card number and mobile phone number, we conduct an initial credit assessment using our proprietary credit assessment system, Weidai Credit, to generate a Weidai Credit score that ranges from I to VIII for the prospective borrower (with I representing the lowest risk and VIII representing the highest risk). This round of credit assessment is focused on assessing a prospective borrower’s overall creditworthiness by analyzing information retrieved from various data sources using his name, PRC ID card number and mobile phone number, including the prospective borrower’s track records on our platform and other marketplace lending platforms, whether he is blacklisted in any third-party databases, and whether he has any suspicious connection with any existing borrowers. If the prospective borrower’s Weidai Credit score falls between I and VII, he will be assigned a corresponding LTV ratio. If the prospective borrower receives a Weidai Credit score of VIII, his loan application will be rejected. See “— Technology and Risk Management — Risk Management — Credit Assessment System” for more details.

 

For prospective borrowers who visit our service centers for initial consultation, the entire loan application process can be completed at our service centers. For prospective borrowers submitting information through our mobile app, WeChat account or website, our call center agents will follow up with him to assess individual financing needs and collect additional information, such as his location and desired loan amount and intended use of loan proceeds. Our system then intelligently assigns the prospective borrower to the most suitable customer service representative at one of our service centers near the prospective borrower. The customer service representative will invite the prospective borrower to bring his automobile and all the required materials to the service center to complete loan application.

 

Step 2: Information Collection and Automobile Appraisal

 

At our service center, our customer service representative helps the prospective borrower complete loan application forms and collects the required information and materials related to both the prospective borrower and the automobile, including employment information, income proof  (such as bank statements) and photocopies of driver’s license and vehicle registration documents. The prospective borrower also authorizes us to obtain a wide array of personal information from various data sources, including phone call records from telecom operators and credit reports from third-party credit scoring service providers.

 

Once all the automobile related information is uploaded to our system, we determine the value of the automobile through both our proprietary automobile appraisal system and third-party automobile appraisal systems, which generally takes less than one minute. Under certain circumstances, the automobile will be re-appraised by our service center’s automobile appraisers or qualified third-party automobile appraisers. See “— Technology and Risk Management — Risk Management — Automobile Appraisal” for more details.

 

 64 

 

 

Step 3: Further Credit Assessment and Credit Limit Approval

 

Once all the information and materials related to the prospective borrowers are collected (including those obtained from third-party sources with his authorization), we conduct another round of credit assessment. This round of credit assessment collects and analyzes a wider range of information related to both the loan applicant and the automobile with a focus on detecting fraud, such as the prospective borrower’s mobile carrier records and mobile Internet behaviors, and the automobile’s owner information and insurance records. Applicants with high risk of fraud will be rejected. See “— Technology and Risk Management — Risk Management — Fraud Detection” for more details.

 

Once the automobile appraisal and further credit assessment are completed, our service center’s risk management personnel reviews the loan application to verify the authenticity of the application materials and conduct a face-to-face interview with the prospective borrower. Based on the review of application materials and the face-to-face interview, and subject to the approval of the head of the service center, our risk management personnel may increase or decrease the prospective borrower’s initial LTV ratio by 10% to 20%.

 

Once the prospective borrower’s final LTV ratio is determined, our system generates details of the loan, including the credit limit, interest rate and our service fees. Our customer service representative will explain the detailed loan terms with the prospective borrower and assist him in choosing the loan tenure that suits his financing needs and preferences.

 

Separately, if the credit limit of the prospective borrower exceeds specified thresholds or if a fraud alert is triggered, we will initiate further due diligence and verification, including contacting the prospective borrower’s references to verify the information he provided and visit his home or workplace. Depending on the results of such further due diligence and verification, we may reject the loan application or reduce the credit limit. See “— Technology and Risk Management — Risk Management — Post-Loan Management and Collection of Delinquent Loans” for more details.

 

Step 4: Automobile Inspection and GPS Tracking Device Installation

 

If the loan terms are agreeable to the prospective borrower, our automobile appraisers will conduct comprehensive inspection of the automobile using specialized equipment following our automobile inspection procedures and standards (including inspection of the automobile’s interior and exterior, engine, transmission, circulatory system and electrical system) to detect damages or other issues that cannot be identified by analyzing online data, such as major damages sustained from flood, bad weather or accidents.

 

If damages are identified during the automobile inspection, we may reject the loan application or approve a lower credit limit. Once the automobile passes the automobile inspection, the loan application will be approved, and our automobile appraisers will install GPS tracking devices on the automobile and collect the spare key from the borrower.

 

Step 5: Collateral Registration and Loan Listing and Funding

 

Once the loan application is approved, our service center will register the borrower’s automobile at the local automobile administrative office as collateral. If a borrower meets one of our institutional funding partners’ predetermined investment criteria, we may refer the borrower to the relevant institutional funding partner. The institutional funding partner, after completing its own credit assessment and loan approval procedures, may choose to enter into a loan agreement with the borrower and fund the borrower’s loan. If the institutional funding partner declines to fund the borrower’s loan, the borrower’s loan application will be declined. See “— Our Investors and Investment Products — Institutional Funding Partners.”

 

Step 6: Post-Loan Monitoring and Servicing

 

After the loan is disbursed, the borrower follows a detailed loan payment schedule to repay principal and interest to the investors and pay service fees to us. See “— Our Borrowers and Loan Products — Loan Products and Services Offered to Borrowers” for more details. Reminder text messages and phone calls are scheduled a few days in advance of every payment due date. The borrower may schedule automatic monthly payments on the payment due date, or make payments each month using our mobile app.

 

 65 

 

 

In addition to payment reminders, our advanced, rule-based GPS tracking system closely monitors the automobile’s movements 24/7 to analyze the borrower’s post-loan behavior to prevent delinquency, and triggers notification alarms if there are strong indication of abnormal activities. See “— Technology and Risk Management — Risk Management — Post-Loan Management and Collection of Delinquent Loans” for more details.

 

We maintain a whitelist of existing auto-backed loan borrowers based on their post-loan performance, such as repayment status and behavior data collected by our GPS tracking system. The whitelisted borrowers are offered the option to go through another credit review to increase their LTV ratio by 10% to 30% and receive another loan disbursement according to the increased LTV ratio and the latest appraised value of their automobiles. See “— Our Borrowers and Loan Products — Loan Products and Services Offered to Borrowers — Auto-backed Loans” for more details.

 

After the loan is fully repaid, we will de-register the collateral on the automobile, remove the GPS tracking devices from the automobile and return the spare key to the borrower.

 

If a non-payment occurs, our service center and provincial branch offices’ risk management personnel will follow our standardized collection guidelines and protocols to collect payment. We determine whether and when to take automobiles into custody on a case-by-case basis after assessing a borrower’s ability and willingness to repay, default risks as well as the feasibility and cost of taking the automobiles into custody. See “— Technology and Risk Management — Risk Management — Post-Loan Management and Collection of Delinquent Loans” for more details.

 

The transaction process of other loan products on our platform generally involves initial consultation, credit assessment, information collection, on-site visit and verification (if applicable), loan listing, signing of loan agreement and post-loan monitoring and servicing.

 

Our Service Centers

 

As of December 31, 2019, we had 375 service centers across 30 of 32 provinces, municipalities and autonomous regions in China, including 260 directly-operated service centers and 115 partner-operated service centers.

 

Our service centers span across major first- to third-tier cities nationwide. We believe our existing service center infrastructure will be sufficient to support our business growth in the near future. As the market demand for auto-backed loans increases, we may selectively expand the geographic coverage of this network to cover additional cities and strengthen our positioning in certain existing markets.

 

The following map illustrates the locations of our service centers across China as of December 31, 2019:

 

 66 

 

 

 

 

Each service center is staffed with a dedicated team of customer service and risk management personnel (including those responsible for pre-loan risk management, automobile appraisal and post-loan risk management), and provides comprehensive services over the life of the loans to borrowers, including:

 

·Borrower engagement. Our service centers provide prospective borrowers with convenient access to loan products and services available on our platform across China. A prospective borrower can easily locate a nearby service center to complete the entire application process. A prospective borrower who completed initial consultation online will be invited by our customer service representatives to a nearby service center to complete the remaining application process.

 

·Pre-loan services. Our service centers provide comprehensive pre-loan services that are designed to deliver a fast loan application process and a superior user experience, ranging from information collection, automobile appraisal and inspection, face-to-face interview and application material authentication and installation of GPS tracking devices to collateral registration. If we suspect that a loan application may involve fraud, the relevant service center’s risk management personnel will initiate further due diligence and verification. See “— Technology and Risk Management — Risk Management — Fraud Detection” for more details.

 

·Post-loan services. Our service centers are also responsible for monitoring borrowers’ loan repayment status to prevent delinquency. Our service centers’ risk management personnel send payment reminders to borrowers prior to every payment due date, including text messages and phone calls. If abnormal activities are detected by our GPS tracking system, the relevant service centers’ risk management personnel will follow up with the borrower according to our risk management procedures and protocols. In the event of overdue payments, our service centers work closely with our provincial branch offices to collect payment following our standardized collection guidelines and protocols. See “— Technology and Risk Management  — Risk Management  — Post-Loan Management and Collection of Delinquent Loans” for more details.

 

 67 

 

 

 

 

We commenced building our service center network under the partner-operated service center business model in 2011. As our operational capabilities develop, we have since 2014 focused on opening directly-operated service centers and stopped engaging new service center operation partners. As of December 31, 2019, 115 out of 375 service centers were partner-operated service centers, which were located in Zhejiang province, Jiangsu province, Anhui province, Jiangxi province and Shanghai. Our service center operation partners are responsible for the daily operations of the partner-operated service centers, including hiring their own employees, under our supervision. We collaborate with our service center operation partners for the operation of partner-operated service centers under a revenue sharing model. Pursuant to our one-year cooperation agreements with our service center operation partners, we record 100% of each partner-operated service center’s loan facilitation service fee and post facilitation service fee as revenue, and subsequently pay the service center operation partners an agreed percentage of 60% of such amounts as the partner-operated service center’s operating costs and expenses. These operating costs and expenses include costs and expenses paid to service center operation partners controlled by related parties. See “Item. 7 – Major Shareholders and Related Party Transactions — Related Party Transactions” for more details. If loans facilitated by the partner-operated service centers become delinquent and are subsequently purchased by us, the relevant service center operation partners are obligated to compensate us in the amount equal to 70% of the purchase price of the delinquent loans.

 

To ensure a consistent, high-quality service experience and effective risk management, we require all of our service centers, including our partner-operated service centers, to follow our standardized operating and financial reporting procedures, including our loan approval process and post-loan management. Our headquarters and provincial branch offices closely monitor the daily operations of our service centers and provide comprehensive training and ongoing support. For example, our service centers closely work with the relevant provincial branch offices for the collection of delinquent loans: once a payment is past due, our service centers’ risk management personnel actively follow up with the borrower with phone calls during the first three days of delinquency, followed by the relevant provincial branch offices’ risk management personal contacting the borrower in accordance with our standardized risk management procedures and protocols.

 

Technology and Risk Management

 

The success of our business is dependent on our strong data analytics and risk management capabilities, which have enabled us to efficiently operate our platform, accurately determine loan applicants’ creditworthiness and consistently deliver a superior user experience.

 

 

 68 

 

 

Our Technology

 

Since our inception, we have focused on accumulating massive data assets from various data sources and developing our data analytics capabilities, which we believe forms a solid foundation for the efficient operation of our credit assessment, anti-fraud, automobile appraisal and other risk management systems. As of December 31, 2019, we had a dedicated team of 141 technology personnel.

 

Data Aggregation

 

We aggregate massive amount of data from various data sources to verify both the prospective borrower’s creditworthiness and assess the automobile’s condition and value, presenting a 360-degree profile of the prospective borrower and the automobile. Our data sources primarily include:

 

·Proprietary database. We have established a proprietary database with over 281.8 terabytes of data, including borrower related data (such as borrowers’ social media behavior) from 2.8 million cumulative borrowers on our platform as of December 31, 2019. These data are (i) accumulated from the large number of transactions we have facilitated from eight years of operations, or (ii) from public sources, which are continually updated on a weekly or monthly basis.

 

·Third-party databases. We collaborate with third-party data service providers specialized in, among others, facial recognition, identity verification and automobile data solutions, who grant us access to their databases to search for the loan applicant or automobile related data (such as access to an industry-leading automobile database where we are able to search detailed information of automobiles by vehicle identification numbers). We also work with third-party credit scoring service providers who provide us credit reports of the loan applicants, which help us determine, among others, which of the loan applicants have outstanding loans or have defaulted on other online lending platforms.

 

We are able to aggregate a wide array of information on the borrower and the automobile that is pertinent to our risk management and assessment efforts. The following are loan applicant and automobile related information we typically collect for each loan application using our proprietary and third-party databases:

 

Loan applicant related information   Automobile related information
· track records on our platform   · automobile identification number
· track records on other online lending platforms   · owner information
· whether the applicant is blacklisted in any third-party databases   · make, model, year and color
· behavioral data of applicants (such as behavioral data as they apply for loans through our platform)   · manual/automatic transmission
· background information (such as address and lawsuit records)   · historical transaction information
· contact information, such as key contacts and telephone records   · retail prices and second-hand market prices
· personal credit scoring information   · popularity
· online and offline transaction records and payment information   · date of first vehicle registration
· phone call records from telecom operators   · date of last vehicle registration
    · date of last annual inspection
    · collateral/pledge record
      · traffic violation records
      · maintenance records
      · insurance records
      · engine number and capacity

 

After the relevant information is aggregated, our system converts the originally unstructured data into structured data using machine learning techniques, enabling further analysis of such data.

 

Data Analytics Capabilities

 

Data analytics technologies are extensively used in various aspects of our operations. Applying data mining, multi-dimensional real-time analytics and user behavior analytics technologies, we have developed various models and algorithms that are capable of processing massive amount of data from various data sources in a short period of time and presenting a 360-degree profile for each borrower and automobile. We have also jointly developed models and algorithms with third-party data providers for credit assessment, borrower behavioral data and borrower segmentation leveraging their extensive borrower and automobile related data and our advanced data analytics capabilities. These models and algorithms are executed using our proprietary, big-data enabled rule-based engine, and are applied throughout our loan application and risk management process to enable a fast loan application process and a credit assessment that more accurately determines an applicant’s creditworthiness.

 

 69 

 

 

In addition, all of our models and algorithms are continuously enhanced and updated using data-based machine learning technologies to be more tailored to specific tasks and different business scenarios and to deliver the most accurate results.

 

In addition to our in-house research and development efforts, we conduct joint researches projects with leading universities, including Peking University and Zhejiang University, in China, to increase the application of emerging technologies, including artificial intelligence, machine learning and Internet of Things in our operations in order to more effectively analyze borrower and automobile related data, assess risks and enhance our product offerings. We are also an executive council member of the National Internet Finance Association of China, a national self-regulatory organization for Internet Finance, and a member of various industry associations such as the Auto-backed Loan Association.

 

Risk Management

 

We have implemented a robust risk management system, which is comprised of our credit assessment system, automobile appraisal system, anti-fraud system and GPS tracking system. We continuously enhance the sophistication and reliability of our risk management system as our business evolves. For example, we have been increasing the number of variables analyzed for each transaction while evaluating the effectiveness of the variables to more accurately evaluate the credit characteristics of borrowers, appraise the value of automobile, prevent fraud and reduce delinquency. Our risk management system currently uses over 1,500 variables with respect to loan applicants and 90 variables with respect to automobiles for each transaction.

 

The effectiveness of our risk management system is evidenced by our consistently low delinquency rate while our business continues to grow. See “Item. 5 — Operating and Financial Review and Prospects — A. Operating Results — Loan Performance Data” for more details.

 

Credit Assessment

 

Our credit assessment system is powered by our proprietary, big-data enabled rule engine, models and algorithms, and is continually optimized using machine learning technologies.

 

Once a prospective borrower submits his name, PRC ID card number and mobile phone number, we conduct a credit review using our credit assessment system, Weidai Credit, whereby data with respect to the loan applicant are aggregated from our proprietary database as well as third-party databases and different models are applied to the prospective borrower with different features in assessing the potential risks associated with them. A Weidai Credit score will be assigned to the prospective borrower. A new Weidai Credit score will be assigned every time a borrower reapplies for a loan on our platform.

 

Prior to March 13, 2018, our credit assessment system assigned six credit scores to loan applicants, with I representing the lowest risk level and VI representing the highest risk level. Loan applicants receiving a credit score of VI were rejected. For auto-backed loans, loan applicants receiving credit scores in the range of I to V were assigned an LTV ratio between 40% and 110% (which is subject to adjustments on a case by case basis). For other loans, we conducted another round of credit review before approving any loans.

 

The following table sets forth a breakdown our auto-backed loan borrowers by Weidai Credit score in 2017 and from January 1, 2018 to March 12, 2018:

 

 70 

 

 

 

 

As we gain more industry expertise and an increasing volume of transactional and borrower behavioral data, we have implemented various measures to continuously enhance and upgrade our credit assessment system, with an aim to assign credit scores and LTV ratios that more accurately reflect the loan applicants’ creditworthiness. These measures include, among others, changing our credit scoring from I to VI to I to VIII in March 2018.

 

Our current credit assessment system assigns eight credit scores to loan applicants, with I representing the lowest risk level and VIII representing the highest risk level. Loan applicants receiving a credit score of VIII are rejected. For auto-backed loans, loan applicants receiving credit scores in the range of I to VII are assigned an LTV ratio between 40% and 120% (which is subject to adjustments on a case by case basis). For other loans, we conduct another round of credit review before approving any loans.

 

The following table sets forth a breakdown of our auto-backed loan borrowers by Weidai Credit score from March 13, 2018 to December 31, 2018 and 2019:

 

 

 

 71 

 

 

Automobile Appraisal

 

We have adopted detailed automobile appraisal procedures to appraise the value of the prospective borrowers’ automobiles. Our automobile appraisal process involves:

 

·our proprietary automobile appraisal system, which is supported by the massive amount of automobile transaction data from our proprietary and third-party databases and powered by various machine learning algorithms and intelligent information processing and analysis technology;

 

·third-party automobile appraisal systems; and

 

·our service centers’ automobile appraisers, all of whom have completed our internal training programs and qualified third-party automobile appraisers, including licensed automobile appraisers and automobile appraisers with extensive industry experience who we engage on an as needed basis, all of whom have passed our internal risk management tests.

 

Each automobile is appraised by our proprietary automobile appraisal system and third-party automobile systems. This appraisal generally takes less than one minute. Under certain circumstances (for example, if there is a significant difference between the appraised value of the automobile generated among these systems or has an appraised value of over RMB200,000), the automobile will be re-appraised by our service centers’ automobile appraisers or qualified third-party automobile appraisers.

 

Fraud Detection

 

We collect and analyze a wide variety of information related to the loan applicant and the automobile to detect fraud. We maintain and continually update a blacklist of borrowers who have defaulted on loans facilitated through our platform, whose future loan applications will be rejected. We have also built an anti-fraud database focusing on identifying suspicious connections among loan applicants and existing borrowers, and actively work with third-party data service providers and credit scoring service providers to identify fraudulent activities and organized crimes. In addition, our system is configured with target risk levels and tolerance thresholds, and will issue fraud alerts if the level of fraud risk is higher than these preset thresholds.

 

We have adopted a multifaceted fraud detection approach which is embedded in our loan application process:

 

·once we receive the loan applicant’s name, PRC ID card number and mobile phone number, our system conducts fraud screening and rejects applicants that are blacklisted by our platform or, according to data from public sources, are associated with fraud cases;

 

·upon receipt of additional information from the loan applicant and obtaining his authorization, we aggregate a wide array of data related to the loan applicant from various data sources including phone call records from telecom operators and credit reports from third-party credit scoring service providers. Our system analyzes such data using machine learning techniques to uncover abnormal patterns and potential fraudulent behavior (such as suspicious social connections), and reject applicants who have high risk of fraud; and

 

·if a fraud alert is triggered indicating that there are signs of fraud, but available information is insufficient for our system to reach a conclusion, we will conduct further due diligence and verification, which involves, among others, running searches in our anti-fraud database, inquiring the applicant about any inconsistencies in his loan application, calling the applicant’s references to verify information and visiting his home or work place. Depending on the results of such further due diligence and verification, we may reject the loan application or approve a lower loan amount.

 

 72 

 

 

Post-Loan Management and Collection of Delinquent Loans

 

After a loan is disbursed, we continuously monitor the performance of the loan to uncover fraudulent behavior and minimize default risk. We send payment reminders to borrowers prior to every payment due date. For example, we send reminder text messages and make phone calls to the borrower a few days ahead of the payment due dates.

 

We also analyze the borrower’s post-loan behavior data collected by our advanced, rule-based GPS tracking system to prevent delinquency. Our GPS tracking system closely monitors, among others, the real-time location and movement of all automobiles that are used as auto-backed loan collaterals 24/7, and have accumulated 11 terabytes of compressed GPS data as of December 31, 2019. Such system is configured with over 100 alarm rules that trigger GPS notification alarms when there is a strong indication of abnormal activities (for example, if a GPS tracking device has been switched off). If a GPS notification alarm is triggered, we will immediately deploy the relevant service centers’ risk management personnel to follow up with the borrower according to our risk management procedures and protocols.

 

We have developed a standardized process to collect delinquent loans. Once a payment is past due, our service centers’ risk management personnel actively follow up with the borrower with phone calls during the first three days of delinquency. Upon being four days delinquent, a loan enters into our collection process, and the relevant provincial branch office’s risk management personnel will follow-up with the borrower in accordance with our standardized procedures and protocols and take automobiles into custody if needed, sometimes in collaboration with third-party collection service providers. Our post-loan risk management personnel are required to undertake, among others, (i) to strictly adhere to our standardized procedures and protocols to collect delinquent loans, (ii) to speak in a well-mannered tone and act civil and polite toward the borrowers and avoid any conversations or interactions that may lead to heated arguments, (iii) to contact the borrowers at reasonable hours, and refrain from making constant collection calls or visits that may be seen as harassment, (iv) in the event of conflicts with borrowers, to take the initiative to contact the police, and (v) not to engage in any practice or take any action during loan collection in violation of any applicable laws or regulations.

 

In a majority of cases, we are able to collect overdue payments by following up with borrowers by phone without taking automobiles into custody. We determine whether and when to take automobiles into custody on a case-by-case basis after assessing a borrower’s ability and willingness to repay, default risks as well as the feasibility and cost. We may take automobiles into custody when (i) a borrower or his emergency contact fail to answer or return phone calls or have their phones switched off for an extended period of time, (ii) the GPS tracking devices attached to the borrower’s automobile could not be detected for an extended period of time, or (iii) we determine that taking automobiles into custody is the only effective way to recover overdue payments. Our risk management personnel follow standardized procedures and protocols for taking automobiles into custody, and contact the borrower by phone, text-messages, emails or in-person visits and obtain his written consent before taking any automobile into custody (in addition to the explicit authorization the borrower has provided us in the loan agreement). Under certain circumstances, we also collect overdue payments through legal proceedings and court judgment and enforcement. Any amount recovered will be applied first to repay the defaulted principal, followed by payment to investor as to the defaulted interest and late payment penalties before ultimately our collection expenses.

 

In August 2018, regulatory authorities issued the Notice on Submitting Information of Borrowers Evading Overdue Loans on P2P Platform to focus on monitoring overdue loans. We have provided a list of borrowers with overdue loans on our platform to relevant regulatory authorities pursuant to such notice. In August 2018, we and a number of other marketplace lending platforms formed a strategic alliance with China Justice Big Data Research Institute China’s judicial database designated by the Supreme People’s Court, with an aim to supervise and discipline borrower defaults.

 

Our Investors and Investment Products

 

We offer a variety of investment options to institutional funding partners. We believe that our variety of investment products that offer attractive, risk-adjusted returns, as well as our effective risk management lead to strong word-of-mouth promotion, which drives awareness of our brand among investors. Prior to February 2020, we also offered investment products to online investors.

 

 73 

 

 

Our Online Investors

 

Investor Profile and Demographics

 

Prior to February 2020, investments in loans facilitated on our platform were primarily from online investors, which primarily included individual investors, as well as corporate investors.

 

According to information provided by individual investors when they register on our platform and an investor survey we conducted in December 2017 with over 2,000 individual investors: (i) 34% were born in the 1980s, 29% in the 1970s, 17% in the 1960s, (ii) 80% were married, and (iii) 82% were white-collar workers and/or high-net-worth individuals. In 2017, 2018 and 2019, the average investment amounts of online investors were RMB157,728, RMB97,361 and RMB92,076, respectively.

 

Investment Products and Services Offered to Online Investors

 

Prior to February 2020, we provided investment options that catered to the needs of both online investors who preferred to proactively manage their investments using our investing tools as well as those who wanted to rely on our investment programs to allocate and manage their investments. Loans listed on our platform were typically subscribed to within 12 hours. We no longer offer investment options to online investors after February 2020.

 

In 2017, 2018 and 2019, substantially all of the loans facilitated through our platform were funded by online investors. RMB95.4 billion, RMB75.6 billion and RMB57.7 billion loans were funded by online investors in 2017, 2018 and 2019, respectively.

 

Annualized rate of return of our investment products to online investors generally ranged from 4.5% to 10.0% of the principal amount of the loans, which were higher than those offered by traditional investment channels such as bank deposits, bonds and wealth management products. We charged online investors service fees for facilitating their investments through our platform, which equalled to a fixed percentage of the interests they received from borrowers. We also charged a one-time fee for online investors’ transfer of their investments on our secondary loan market. In 2017, 2018 and 2019, the average net annualized rate of return to our online investors (after applying cash coupons) was 8.0%, 8.0% and 8.2%, respectively.

 

Investment Tools

 

Online investors used to invest in individual loans on our platform using our self-discretionary investing tool and automated investing tool. The minimum investment amount for individual loans was RMB500.

 

·Self-Discretionary Investing Tool

 

Our self-discretionary investing tool provided online investors with various filters that helped them browse and directly subscribed to individual loans listed on our platform based on, among others, their tenure, principal amounts and interest rates.

 

·Automated Investing Tool

 

Our automated investing tool was designed for online investors who preferred to invest according to their preset investment criteria, such as tenure and interest rate, instead of browsing and subscribing to individual loans manually. Once an online investor invested a specified amount of funds through our automated investing tool, his funds were automatically allocated among individual loans meeting his preset investment criteria. Our automated investing tool automatically reinvested online investors’ funds as soon as a loan was repaid, enabling online investors to accelerate the reinvestment of funds without having to revisit our mobile app or website.

 

Investment Programs

 

Prior to February 2020, we offered investment programs that enabled online investors to enjoy investment returns while minimizing the time needed to manage their investments. Upon subscription of the investment program, an online investor’s committed fund could be automatically invested by our system into individual loans on our platform.

 

 74 

 

 

We used to offer two types of investment programs with different terms and estimated rates of return:

 

Investment Programs   Key Features
Premier Investment Program   · Minimum investment amount of RMB500.
       
    · Programs available in one, two, three, four, five, six, 12, and 24 months, among which one-, three- and six-month programs are the most popular.
       
    · Investors subscribed into this program by specifying preset investment criteria for the underlying individual loans, such as investment amounts and loan, and investors’ funds were locked in their accounts upon such subscription. Funds would be invested when the desired amount of individual loans meeting the preset investment criteria became available and upon the online investors’ approval.
       
    · Principal and interest were collected at the end of the investing period.
       
    · Investors had the option to automatically subscribe to a new cycle of the investment program at the end of each investing period.
       
X Investment Program   · Minimum investment amount of RMB1,000.
       
    · Programs available in one, two, three, four, five, six, 12 and 24 months, among which three-, six-, and 12- month programs were the most popular.
       
    · Underlying loans also included individual loans that had been transferred.
       
    · Investors subscribed into this program by specifying preset investment criteria for the underlying individual loans, such as investment amounts and investment returns, and investors’ funds were locked in their accounts upon such subscription. Funds would be invested when the desired amount of individual loans meeting the preset investment criteria became available and upon the online investors’ approval.
       
    · If a loan was repaid within the investment period, principal and interest gained during the investment period would be automatically reinvested in other loans as soon as the loan was repaid.
       
    · Investors had the option to automatically subscribe to a new cycle of the investment program at the end of each investing period.

 

In 2017, RMB55.9 billion and RMB10.0 billion were invested through our Premiere Investment Program and X Investment Program, respectively, representing 61.3% and 11.0% of funds invested through our platform during the period, respectively. In 2018, RMB27.5 billion and RMB28.4 billion were invested through our Premiere Investment Program and X Investment Program, respectively, representing 44.7% and 46.1% of funds invested through our platform during the period, respectively. In 2019, RMB7.83 billion and RMB21.4 billion were invested through our Premiere Investment Program and X Investment Program, respectively, representing 26.5% and 72.5% of funds invested through our platform during the period, respectively.

 

We cancelled all existing investment programs in February 2020 and have voluntarily ceased to offer new investment programs to our online investors since February 2020. Investors of our then existing investment programs now directly fund the underlying loans they used to invest in through our investment programs and will receive repayment of principal when the respective underlying loans become due. In an effort to reinforce investor confidence and accelerate their investment return, in April 2020, we entered into collaboration agreements with certain companies providing asset management services, pursuant to which our online investors have the option until June 9, 2020 to transfer their rights to loans on our platform to those companies and receive repayment of principals and interests in 18 months. We and Mr. Hong Yao facilitate this arrangement by voluntarily providing guarantees to our online investors who opt to participate in the arrangement. For all online investors who do not opt for the asset management arrangement as of June 9, 2020, we may offer supplement arrangement for repayment. We have informed all online investors on our platforms of these changes in our business.

 

 75 

 

 

Institutional Funding Partners

 

Beginning in 2017, we expanded our funding sources to include those provided by institutional funding partners. We have entered into cooperation agreements with a number of institutional funding partners, all of whom were licensed financial institutions, including commercial banks such as Minsheng financial leasing company and Xinwang Bank. We refer qualified borrowers meeting our institutional funding partners’ predetermined investment criteria to our institutional funding partners. Our institutional funding partners, after completing their internal risk management and loan approval procedures, will fund borrowers’ loans. In 2017, 2018 and 2019, RMB1.5 billion, RMB3.2 billion and RMB3.4 billion, or 1.5%, 4.1% and 5.5% of our total loan volume, was funded by institutional funding partners, respectively. We plan to use institutional funding partners as our primary funding source and will also facilitate loans through our microcredit company.

 

Online Microcredit Company

 

We, through a subsidiary of our variable interest entity, Fuzhou Online Microcredit, offered borrowers advances to meet their imminent financing needs before their loans were subscribed by investors. As of December 31, 2018, all the outstanding balance of advances extended to borrowers by Fuzhou Online Microcredit had been settled.

 

In addition, we are in the process of applying for an online microcredit company license in China, in an effort to further diversify our business.

 

Our Financial Leasing Company

 

In June 2018, we acquired Shanghai Zaohui Financial Lease Co., Ltd., which holds a financial leasing license. The acquisition of Shanghai Zaohui Financial Lease Co., Ltd. will allow us to provide funding to borrowers in the form of financial leasing.

 

Investor Protection

 

Online investors on our platform are exposed to default risks, and we are under no obligation to compensate online investors’ default losses. However, in the event of borrower defaults, we used to voluntarily compensate online investors for their default losses by purchasing their delinquent loans. We ceased to provide financial guarantees to online investors for consumption loans we facilitated in 2019 pursuant to regulatory requirements. In order to reinforce investors’ confidence, after cancellation of our investment programs, we and Mr. Hong Yao also voluntarily provide guarantees to our online investors who opt to participate in the asset management arrangement.

 

We are obligated to compensate a portion of our institutional funding partners for delinquent principal and interest payments in the event of borrower defaults. We cannot assure you that our collaboration with such institutional funding partners will not violate the Interim Measures or any other PRC laws and regulations. See “Item 3. Key Information — D. Risk Factors — Risks Related to Our Business and Our Industry — Our cooperation with institutional funding partners exposes us to regulatory uncertainties faced by those partners, and we may be required to obtain government approval or license due to our cooperating with those partners, which requirement will impose negative impacts on our business and results of operations.” We also provide guarantee to a portion of our corporate investors. We ceased to facilitate any new investment made by such corporate investors through our platform or provide guarantee to new corporate investors starting from the fourth quarter of 2017.

 

We are in ongoing discussions with third-party insurance companies, asset management companies and other financial institutions to provide alternative means of investor protection. In November, 2019, we entered into a new collaboration agreement with a financial guarantee company, according to which the financing guarantee company has agreed to provide guarantees for loans funded by a bank we cooperate with.

 

 76 

 

 

Competition

 

We face competition in auto-backed loan market in China. We compete directly with other auto-backed loan providers for both borrowers and investors, such as touna.cn and rrjc.com. As we focus on providing financial solutions to small and micro enterprise owners, we also compete with traditional financing channels and other marketplace lending platforms which provide loans to small and micro enterprise owners. In addition, we compete with other marketplace lending platforms for investors. Some of our competitors may have significantly more financial, technical, marketing and other resources than we do. Our competitors may also have more extensive borrower or investor bases, greater brand recognition and brand loyalty and broader partner relationships than us. We believe that our ability to compete effectively for borrowers and investors depends on many factors, including the variety of our products, user experience on our platform, effectiveness of our risk management, the return offered to investors, our partnership with third parties, our sales and marketing efforts and the strength and reputation of our brand.

 

In addition, as our business continues to grow rapidly, we face significant competition for highly skilled personnel, including management, engineers, product managers and risk management personnel. The success of our growth strategy depends in part on our ability to retain existing personnel and add additional highly skilled employees.

 

Intellectual Property

 

We rely on a combination of copyright, trademark and trade secret laws and confidentiality agreements and provisions to protect our intellectual property rights. We have registered more than thirty software copyrights in China. We have 19 registered domain names, including www.weidai.com.cn, five of which have each obtained a ICP license. As of December 31, 2019, we had registered more than thirty trademarks, including “weidai,” “  ”, “  ” and “   ”. Hangzhou Ruituo transferred the ownership of trademark “ ” to us in January 2019. We have also obtained the exclusive right to use trademark “  ” from our affiliate Hangzhou Ruituo so long as it is valid. We are also applying for an invention patent for our proprietary GPS tracking system.

 

Despite our efforts to protect our proprietary rights, unauthorized parties may attempt to copy or otherwise obtain and use our technology. Monitoring unauthorized use of our technology is difficult and costly, and we cannot be certain that the steps we have taken will prevent misappropriation of our technology. From time to time, we may have to resort to litigation to enforce our intellectual property rights, which could result in substantial costs and diversion of our resources.

 

In addition, third parties may initiate litigation against us alleging infringement of their proprietary rights or declaring their non-infringement of our intellectual property rights. In the event of a successful claim of infringement and our failure or inability to develop non-infringing technology or license the infringed or similar technology on a timely basis, our business could be harmed. Even if we are able to license the infringed or similar technology, license fees could be substantial and may adversely affect our results of operations.

 

Item 3. Key Information — D. Risk Factors — Risks Related to Our Business and Our Industry —  We may not be able to prevent others from unauthorized use of our intellectual property, which could harm our business and competitive position” and “— We may be subject to intellectual property infringement claims, which may be expensive to defend and may disrupt our business and operations.”

 

 77 

 

 

Seasonality

 

We experience seasonality in our business, reflecting seasonal fluctuations in internet usage and small and micro business operation patterns, as our borrowers typically use their borrowing proceeds to finance their business operation.

 

Regulation

 

This section sets forth a summary of the most significant laws, rules and regulations that affect our business activities in the PRC and our shareholders’ rights to receive dividends and other distributions from us.

 

Regulations on Online Lending Information Services

 

Due to the relatively brief history of the marketplace lending industry in China, a comprehensive regulatory framework governing our industry has yet to be established. Even though a number of specific regulations on online lending information services have been enacted in the past few years, detailed guidance and interpretation have yet to be promulgated by regulators.

 

Regulations on Online Lending Information Intermediaries

 

On July 18, 2015, the Guidelines on Promoting the Healthy Development of Online Finance Industry, or the Guidelines, were promulgated by ten PRC regulatory agencies, including the PBOC, the MIIT and the CBRC. The Guidelines define online peer-to-peer lending as direct loans between individuals through an online platform, which is under the supervision of the CBRC, and governed by the PRC Contract Law, the PRC General Principles of the Civil Law, and related judicial interpretations promulgated by the Supreme People’s Court. Pursuant to the Guidelines, online lending information intermediaries shall specify online lending information services in their business scope, and avoid conducting any activities that may be deemed as illegal fund-raising. The Guidelines further require online lending information intermediaries to separate their own capital from funds received from investors and borrowers through their platforms.

 

On April 13, 2016, the CBRC issued the Notice on the Implementation Plan of the Special Rectification of Peer-to-peer Online Lending Risk by the General Office of the State Council. This notice categorizes market players of the peer-to-peer lending service industry based on their different compliance levels.

 

On August 17, 2016, the CBRC, the MIIT, the Ministry of Public Security and the State Internet Information Office, jointly issued the Interim Measures on Administration of Business Activities of Online Lending Information Intermediaries, or the Interim Measures. The Interim Measures are intended to regulate the business activities of online lending information intermediaries and define online lending information intermediaries as financial information intermediaries.

 

The Interim Measures require online lending information intermediaries to (i) make relevant record-filing with local financial regulatory authorities for their online lending information services; (ii) apply for relevant telecommunication service license after completion of the record-filing with local financial regulatory authorities; and (iii) specify online lending information services in its business scope.

 

Pursuant to the Interim Measures, online lending information intermediaries shall not engage in certain activities, including, among others, (i) self-financing through online platforms directly or in a disguised form; (ii) setting up capital pools with investors’ funds, (iii) providing guarantees to investors as to the return of loan principal and interest, (iv) promoting financial services on physical premises, (v) extending loans, unless otherwise as stipulated by laws and regulations; (vi) splitting the terms of loan products; (vii) offering wealth management products to raise funds or selling bank wealth management products, asset management products from securities traders, funds, insurance, trust products or other financial products on a commission basis; (viii) carrying out business similar to asset-backed securities or transfer of creditors’ rights in the form of packaged assets, asset-backed securities, trust assets, and fund units; (ix) engaging in equity crowdfunding; (x) engaging in any form of mixture, bundling or agency relationship with other institutions in investment, sale on a commission basis, brokerage business and other businesses, unless otherwise permitted by laws, regulations and relevant regulatory provisions on online lending information intermediaries; (xi) overstating the authenticity of financing projects and the prospect of profits, concealing the flaws and risks in financing projects, publicizing or promoting in biased language or by other fraudulent means in a false and one-sided way, fabricating or spreading false or incomplete information to damage others’ business reputation, or misleading lenders or borrowers; (xii) providing information intermediary services for high-risk financing projects which uses funds to invest in the stock market, over-the-counter financial market, futures contracts, structured funds and other derivative products; (xiii) engaging in equity-crowd-funding in equity; and (xiv) undertaking other activities prohibited by laws, regulations and regulatory provisions on online lending information intermediaries.

 

 78 

 

 

In addition, the Interim Measures stipulate that online lending information intermediaries are not allowed to operate businesses in offline physical locations other than, risk management and necessary business processes, such as, information collection and confirmation, post-loan tracking and pledge management. Furthermore, the Interim Measures require that the aggregate amount of loans extended to any individual must not exceed RMB200,000 through a single online lending information intermediary or RMB1 million in aggregate through all online lending information intermediaries in the PRC. Furthermore, the aggregate amount of loans extended to any entity must not exceed RMB1 million through a single online lending information intermediary or RMB5 million in aggregate through all online lending information intermediaries in the PRC.

 

Online lending information intermediaries established prior to the effectiveness of the Interim Measures have a transition period of 12 months to rectify activities that are not in compliance with the Interim Measures. For platforms that fail to make such rectification, sanctions could be imposed by the relevant regulatory authorities, including, among others, supervisory interviews, administrative warnings, administrative orders to make rectifications, tainted integrity record, monetary penalties up to RMB30,000, and criminal liabilities if the act constitutes a criminal offense.

 

On February 22, 2017, the CBRC issued the Guidelines on Online Lending Funds Custodian Business, or the Custodian Guidelines, which provide detailed requirements for setting up a custodian account with a qualified bank and depositing online lending funds. The Custodian Guidelines specify that each online lending information intermediary may only enter into fund custodian agreement with one qualified commercial bank to provide custodian services, and further clarifies detailed requirements and procedures for setting up custodian accounts with qualified commercial banks. Online lending information intermediaries and commercial banks that conducted custodian services prior to the effectiveness of the Custodian Guidance have a six-month grace period to rectify activities that are not in compliance with the Custodian Guidance.

 

On August 23, 2017, the CBRC issued the Guidelines on Information Disclosure of the Business Activities of Online Lending Information Intermediaries, or the Disclosure Guidelines, which clarified disclosure requirements for online lending information intermediaries. Pursuant to the Disclosure Guidelines, online lending information intermediaries shall disclose certain information on their websites and other internet channels (such as mobile apps, WeChat official accounts or Weibo), which include, among others, (i) record-filing information, organization information, examination and verification information, and transaction related information, including transactions matched through the online lending information intermediaries for the previous month; and (ii) basic information of borrowers and loan products, risk assessment of the loan products, and information of the outstanding transactions, all of which shall be disclosed to investors. The Disclosure Guidelines further require that any event that would result in a material adverse effect to the operations of online lending information services shall be disclosed to the public within 48 hours upon its occurrence. The Disclosure Guidelines require online lending information intermediaries to record all disclosed information and retain such records for no less than five years from the date of the disclosure. Online lending information intermediaries that conducted online lending services prior to the effectiveness of the Disclosure Guidelines have a six-month grace period to rectify activities that are not in compliance with the Disclosure Guidelines.

 

In December 2017, the Internet Finance Rectification Office and the Online Lending Rectification Office jointly issued the Notice on Regulating and Rectifying “Cash Loan” Business, or Circular 141, which sets out the principles and requirements of  “cash loan” businesses conducted by online microcredit companies, financial institutions and online lending information intermediaries. Circular 141 does not define what constitutes “cash loans”. However, it specifies certain features as loans as “cash loans”, such as, loans with no designated purpose and loans that lack selected customer base. Circular 141 imposes general requirements with respect to “cash loan” business, which include, among others, (i) each funding provider of cash loans must have applicable license to conduct lending business; (ii) the loans must be priced fairly to ensure that the total borrowing cost does not exceed the limit of the private lending interest rate provided by the PRC Supreme People’s Court; (iii) each funding provider of cash loans shall follow the “know-your-customer” principle and prudentially assess and determine the eligibility and credit limit of borrowers, and loans to borrowers without income sources are prohibited; and (iv) each funding provider of cash loans shall enhance its internal risk control and prudentially use a “data-driven” risk management model.

 

 79 

 

 

In August 2018, to provide further clarification on certain provisions in the Interim Measures, the Custodian Guidelines, the Disclosure Guidelines, Circular 141 and Circular 57, the Leading Group for the Rectification and Inspection Acceptance of Risk of Peer-to-Peer Online Lending Information Intermediaries issued the Notice on Launching Compliance Inspection on Peer-to-Peer Online Lending Information Intermediaries, or the Inspection Notice, and the Compliance Checklist for Online Lending Information Intermediaries as specified in the Inspection Notice, or the Checklist. The Inspection Notice requires each online lending information intermediary to complete the following compliance inspections by the end of December 2018: self-inspection, inspection conducted by local and national Internet Finance Association and verification conducted by the rectification office in charge of online lending. The compliance inspections will mainly focus on whether online lending information intermediaries (1) conduct any business other than as an information intermediary, such as a credit intermediary; (2) form any capital pool or make any payment on behalf of users; (3) conduct any self-financing directly or indirectly; (4) provide any guarantee to lenders; (5) provide any “rigid payment” to lenders; (6) conduct risk evaluation of lenders and make hierarchy management of such lenders; (7) fully disclose borrowers’ credit risk related information to lenders; (8) strictly follow the small-amount and scattered manner when participating in network-based lending; (9) raise funds by issuing financial products as wealth management products on their own or through their affiliates; and (10) attract borrowers or lenders by means of high profits or other methods.

 

The Inspection Notice requires each online lending information intermediary to conduct self-inspection and deliver a self-inspection report to the competent online lending rectification office, which will appoint a local internet finance association to conduct internet finance association inspection. In addition, on August 22, 2018, the National Internet Finance Association of China, or the NIFAC, issued the Circular on Conducting the Self-Discipline and Inspection by the Peer-to-Peer Online Lending Information Intermediaries, or the Self-Discipline and Inspection Circular, which provides that the NIFAC will organize the internet finance association inspection on members of the NIFAC. Members of the NIFAC, including us, shall accurately fill out and submit self-inspection and self-rectification reports according to the Self-inspection and Self-rectification Issue List regarding the Member of the Peer-to-Peer Online Lending Information Intermediaries, or the Issue List, which is released by the NIFAC on August 29, 2018, to report the status of their systems and business operations to the NIFAC and its local counterparts no later than October 31, 2018. The Self-Discipline and Inspection Circular and the Issue List provide a number of other clarifications on the internet finance association inspection, including, among others, that members of the NIFAC shall connect their systems to the NIFAC Online Finance Inspection Platform and duly report statistics and information as required. The reports for the self-inspection and internet finance association inspection shall be delivered to the provincial online lending rectification office, which will conduct ultimate verification. Based on the results of the compliance inspections, systems of online lending information intermediaries that are in compliance with the applicable rules and regulations can be integrated to industry-wide information disclosure systems and product registration systems. Upon completion of such integration, the online lending information intermediaries will be able to submit filing applications pursuant to detailed standards and procedures for record-filings. However, it remains unclear when the detailed standards and procedures for the system integrations and filing applications will be issued.

 

We submitted our self-inspection report pursuant to the Inspection Notice and the Self-Discipline and Inspection Circular on September 14, 2018 and October 12, 2018 and are in the process of completing subsequent inspections, among which the competent authority of Shangcheng District, Hangzhou, conducted administrative onsite inspections on us in late October, 2018. To assist with the inspection process, the competent authority has set forth certain requirements for all online lending information intermediaries that are subject to such inspections, including providing complete, detailed and accurate information as to the contents of the self-inspection report, reporting realistic near-term plans and operational objectives, retaining documents and records, refraining from shutting down websites or mobile apps without prior authorization, refraining from making any changes to the company’s business address or major shareholders, and requiring the company’s legal representative and controlling persons, as well as the company’s directors, executive officers and members of senior management in supervisory roles, to devote their full support to and cooperate with the inspections, and that the company’s chairman and legal representative must participate in person and onsite throughout the inspection process. We do not know, and there can be no assurance, as to how long the foregoing requirements will be imposed. We may also become subject to additional requirements throughout the inspection process. Furthermore, there can be no assurance that our company ultimately will be successful in passing the inspections by the competent authority.

 

 80 

 

 

In December 2018, Hangzhou Internet Finance Association published the Notice on Actively Cooperating with Risk Management Rectification on Online Lending Information Intermediaries of Hangzhou, or the Cooperating Notice. The Cooperation Notice sets forth specific requirements online lending information intermediaries, which shall, among others, (i) ensure outstanding loan balance and number of borrowers do not increase, and will gradually decrease as requested by competent authorities; (ii) gradually reduce the outstanding balance of non-compliant loan products and eliminate such balance before June 2019; and (iii) stop establishing new branches.

 

On October 10, 2018, the PBOC, the China Banking and Insurance Regulatory Commission and the CSRC jointly promulgated the Administrative Measures for Anti-money Laundering and Counter-terrorism Financing by Internet Finance Service Agencies (for Trial Implementation), or the Anti-money Laundering and Counter-terrorism Financing Measures, effective as of January 1, 2019, which specify the anti-money laundering obligations of internet finance service agencies. According to the Anti-money Laundering and Counter-terrorism Financing Measures, the internet finance service agencies shall (i) adopt continuous customer identification measures; (ii) implement system for reporting large-value or suspicious transactions; (iii) conduct real-time terrorist organizations and terrorists lists monitoring; and (iv) keep information, data and materials such as customer identification and transaction reports properly.

 

In December 2018, the Head Office for Special Rectification of Peer-to-Peer Online Lending and the Head Office for Special Rectification of Online Finance Risk jointly issued Circular 175, which provides that online lending information intermediaries shall be classified into the following two categories according to their risk profiles: (1) institutions with exposed risks, and (2) institutions without exposed risks, which further classified the online lending information intermediaries into the following six categories: (i) marketplaces on which investors are not fully repaid, or are otherwise unable to operate their businesses and under investigation of the public security department, (ii) marketplaces that are unable to operate their businesses but are not yet under investigation of the public security department, (iii) shell companies with no loan balance or loan origination for more than three months, and marketplaces that no longer facilitate loan applications and investments, or are otherwise not in operation, (iv) small-scale marketplaces, (v) marketplaces with high risks, including among others, marketplaces that engage in self-financing or facilitate fraudulent loans, marketplaces with suspicious fund flows, marketplaces whose proportion of overdue loan volume exceed 10% of the overall loan volume of the platform, marketplaces with extensive negative publicities and complaints, and marketplaces that refuse to or are reluctant to rectify non-compliant operations, and (vi) Normal Marketplaces. Pursuant to Circular 175, rectification of online lending institution shall be limited to institutions which have entered into to the Data Submission System of Online Security Centre, and any institutions out of this scope shall be treated as illegal fund raising. We has entered into the Data Submission System of Online Security Centre. According to Circular 175, for the institutions in the Data Submission System of Online Security Centre, only Normal Marketplaces are allowed to continue to operate in the marketplace lending industry. However, due to the un-clarification of Circular 175, there is a risk that applicable regulatory authorities interpret the regulations differently than we do. See “Item 3. Key Information — 3.D. Risk Factors — Risks Related to Our Business and Our Industry — If we cannot be classified as normal marketplace in accordance with Circular 175, we will be ordered to exit the marketplace lending industry, which will materially and adversely affect our operational and financial results.”

 

In September 2019, the Head Office for Special Rectification of Peer-to-Peer Online Lending and the Head Office for Special Rectification of Online Finance Risk jointly issued the Circular of Construction of Credit Support System, which encourages all online lending information intermediaries facilitating peer-to-peer lending to connect to designated credit database, including the financial credit information database operated by the People’s Bank of China. The Circular of Construction of Credit Support System also continuing emphasizes on cracking down malicious debt evasion behaviors of non-operating online lending information intermediaries and aggravating the punishment of discredited enterprises in order to strengthen public confidence.

 

 81 

 

 

In addition, in late December 2019, the Head Office for Special Rectification of Online Finance Risk and the Head Office for Special Rectification of Peer-to-Peer Online Lending jointly issued Guiding Opinions on Pilot Program of Transforming Peer-to-Peer Lending Information Intermediaries to Microcredit Companies, or Circular 83, which allows qualified online lending information intermediaries to transform into microcredit companies in order to proactively deal with and resolve the existing business risks of online lending information intermediaries industry. Circular 83 provides certain requirements for the transformation of marketplace lending platforms facilitating peer-to-peer online lending into microcredit companies, including: (i) compliance requirement; (ii) the qualification of shareholders and management team; (iii) the feasibility of the transforming plan; and (iv) financial technology and online operation capability requirement. However, uncertainties still exist in relation to interpretation and implementation of the Circular 83. As of the date of this annual report, we are in the process of applying for an online microcredit company license, in an effort to further diversify our business.

 

Regulations on Record-filings of Online Lending Information Intermediaries

 

In October 2016, the CBRC, the MIIT, and the SAIC, the predecessor of the State Administration of Market Regulation, jointly issued the Guidelines on the Administration of Record-filings of Online Lending Information Intermediaries, or the Record-filings Guidelines, to establish and improve the record-filing mechanisms for online lending information intermediaries.

 

Pursuant to the Record-filings Guidelines, newly established online lending information intermediaries shall make the record-filings with the local financial authorities after obtaining their business licenses. For online lending information intermediaries that were established prior to the effectiveness of the Record-filings Guidelines, the local financial regulatory authorities may accept the record-filings applications submitted by qualified online lending information intermediaries, or online lending information intermediaries that have received final clearance from the local financial authorities that their rectification measures were sufficient.

 

On December 8, 2017, the Online Lending Rectification Office issued the Notice on the Rectification and Inspection Acceptance of Risk of Online Lending Information Intermediaries, or Circular 57, which provides further clarification on several matters in connection with the rectification and record-filing of online lending information intermediaries, including, among other things:

 

·Requirements relating to risk reserve funds. The online lending information intermediaries shall cease obtaining risk reserve funds or setting up new risk reserve funds. In addition, the outstanding balance of risk reserve funds shall be gradually reduced. Online lending information intermediaries are prohibited from promoting their risk reserve funds, and authorities shall encourage online lending information intermediaries to seek third parties to provide lenders with alternate means of investors protection, including third-party guarantee arrangements.

 

·Requirements to qualify for record-filing. Circular 57 sets forth certain requirements which an online lending information intermediary prior to its the record-filing application, including: (i) online lending information intermediaries may not conduct the “thirteen prohibited actions” or exceed the limit for aggregate amount of loans borrowed by an individual after August 24, 2016, and shall gradually reduce the balance of loans that exceed such limit; (ii) online lending information information intermediaries that have offered real estate down payment loans, campus loans or “cash loans,” are required to suspend such loan products and the outstanding balance of the such loans shall be gradually reduced within a certain period as required under the Notice on Further Strengthening the Regulation and Management Work of Campus Online Lending Business and Circular 141; and (iii) the online lending intermediaries are required to set up custodian accounts with commercial banks that have passed certain testing and evaluation procedures, as required by the Online Lending Rectification Office, to hold customers’ funds. For the online lending information intermediaries that are unable to received final clearance of their rectification measures and complete record-filings but continue to provide online lending information services, relevant authorities may impose administrative sanctions, including but not limited to, revoking their telecommunications business operation license, shutting down their business websites and requesting financial institutions not to provide any financial services to such online lending information intermediaries.

 

 82 

 

 

·Requirements relating to the timing of record-filing. Local governmental authorities shall conduct and complete final clearance inspection of the rectification measures in accordance with the following timetable: (i) for most of the online lending information intermediaries, record-filing with the local authorities shall be completed by the end of April 2018; (ii) with respect to online lending information intermediaries with substantial outstanding balance of loans prohibited under relevant laws and regulations, and reduction of the outstanding balance of such loans on a timely basis will be difficult, such prohibited loans and outstanding balance shall be disposed and/or carved out, and record-filings with the local authorities shall be completed by the end of May 2018; (iii) with respect to online lending information intermediaries with complex and extraordinary circumstances and substantial difficulties to rectify their businesses, the record-filings with the local authorities shall be completed by the end of June 2018.

 

Regulations on Loans and Intermediation

 

The PRC Contract Law, which became effective in October 1999, requires that the interest rates charged under a loan agreement must not violate applicable provisions of the PRC laws and regulations.

 

In accordance with the Provisions on Several Issues Concerning Laws Applicable to Trials of Private Lending Cases issued by the Supreme People’s Court on August 6, 2015, or the Private Lending Judicial Interpretations, which came into effect on September 1, 2015, in the event that loans are made through an online lending information intermediary platform that provides only intermediary services, courts shall dismiss any claim against the platform as guarantor for repayment of the loans.

 

The Private Lending Judicial Interpretations also provide that agreements between lenders and borrowers on loans with interest rates below 24% per annum are valid and enforceable. With respect to the loans with interest rates between 24% and 36% per annum, if the interest on the loans has already been paid to the lender, and so long as such payment does not conflict with the interests of the state, the community and any third parties, the courts will dismiss the borrower’s request to demand the return of the interest payment above 24% per annum. If the annual interest rate of a private loan is higher than 36%, the agreement on the portion of the interest exceeding the maximum interest rate is invalid, and if the borrower requests the lender to return the part of interest exceeding 36% per annum that has been paid, the courts will support such requests. In addition, on August 4, 2017, the Supreme People’s Court issued the Certain Opinions Regarding Further Strengthening the Financial Judgment Work, which provides, among others, that (i) if the total amount of interest, compounded interest, default interest and other fees charged by a lender under a loan contract substantially exceeds the actual loss of such lender, the request by the debtor under such loan contract to reduce or to adjust the part of the aforementioned fees exceeding the amount accrued at an annual rate of 24% will be upheld; and (ii) in the context of Internet finance disputes, if the online lending information intermediaries and lenders circumvent the statutory limit of the interest rate by charging intermediary fees, such fees shall be deemed invalid.

 

Pursuant to the PRC Contract Law, a creditor may assign its rights under an agreement to a third party, provided that the debtor is notified. Upon due assignment of creditor’s rights, the assignee is entitled to the creditor’s rights and the debtor must perform the relevant obligations under the agreement for the benefit of the assignee. The PRC Contract Law defines an intermediation contract as a contract whereby an intermediary presents to its client an opportunity for entering into a contract or provides the client with other intermediary services in connection with the conclusion of a contract, and the client pays the intermediary service fees. Pursuant to the PRC Contract Law, an intermediary must provide true information relating to the proposed contract. If an intermediary conceals any material fact intentionally or provides false information in connection with the conclusion of the proposed contract, which results in harm to the client’s interests, the intermediary may not claim for service fees and shall be held liable for damages incurred by the client. Certain Opinions Regarding Further Strengthening the Financial Judgment Work further specify that the relationship between an online lending information intermediary and each other party of an online lending loan agreement shall be defined as an intermediary contractual relationship, and the intermediary service fees charged by an online lending information intermediary to circumvent the statutory limit of the interest rate shall be invalid.

 

Our services offered through our platform constitute intermediary service, and the agreements with borrowers and investors on our platform may be deemed as intermediation contracts under the PRC Contract Law.

 

 83 

 

 

Regulations on Illegal Fund-Raising

 

The Measures for the Banning of Illegal Financial Institutions and Illegal Financial Business Operations, promulgated by the State Council in July 1998, and amended on January 2011, and the Notice on Relevant Issues Concerning the Penalty on Illegal Fund-Raising, issued by the General Office of the State Council in July 2007, explicitly prohibit illegal public fund-raising. The main features of illegal public fund-raising include: (i) illegally soliciting and raising funds from the general public by means of issuing stocks, bonds, lotteries or other securities without obtaining the approval of relevant authorities, (ii) promising a return of interest or profits or investment returns in cash, properties or other forms within a specified period of time, and (iii) using a legitimate form to disguise the unlawful purpose.

 

The Supreme People’s Court promulgated the Judicial Interpretations to Issues Concerning Applications of Laws for Trial of Criminal Cases on Illegal Fund-Raising, or the Illegal Fund-Raising Judicial Interpretations, which became effective in January 2011, to clarify the criminal charges and punishments regarding illegal public fund-raising. The Illegal Fund-Raising Judicial Interpretations provide that a public fund-raising will constitute a criminal offense of  “illegally soliciting deposits from the public” under the PRC Criminal Law, if it meets all of the following criteria: (i) the fund-raising has not been approved by relevant authorities or is concealed under the disguise of legitimate acts; (ii) the fund-raising employs general solicitation or advertising such as social media, promotion meetings, leafleting and short messaging service advertising; (iii) the fundraiser promises to repay, after a specified period of time, the capital and interests, or investment returns in cash, properties in kind or other payment forms; and (iv) the fund-raising targets the general public as opposed to specific individuals. An illegal fund-raising activity will be fined or prosecuted in the event that it constitutes a criminal offense. Pursuant to the Illegal Fund-Raising Judicial Interpretations, an offender that is an entity will be subject to criminal liabilities, if it illegally solicits deposits from the general public or illegally solicits deposits in disguised form (i) with the amount of deposits involved exceeding RMB1,000,000, (ii) with over 150 fund-raising targets involved, or (iii) with the direct economic loss caused to fund-raising targets exceeding RMB500,000, or (iv) the illegal fund-raising activities have caused baneful influences to the public or have led to other severe consequences. An individual offender is also subject to criminal liabilities but with lower thresholds. The Measures for the Banning of Illegal Financial Institutions and Illegal Financial Business Operations also prohibits facilitating loans to the public without the approval of the PBOC.

 

We act as a platform for borrowers and investors and are not a party to the loans facilitated through our platform. We rely on third-party payment platforms in handling funds transfer and settlement. We have entered into an agreement with Xinwang Bank, under which the bank provides custodian services for funds of borrowers and investors through our platform.

 

Regulations on Microcredit Companies

 

Pursuant to the Guiding Opinions on the Pilot Operation of Microcredit Companies, which was jointly promulgated by the CBRC and the PBOC in May 2008, if a provincial government determines a competent department to be responsible for the supervision and administration of microcredit companies and the regulation of risks associated with microcredit companies, such provincial government may carry out the pilot operation of microcredit companies within such province. Government authorities in Jiangxi Province, where Fuzhou Online Microcredit is incorporated, have issued a series of rules on the administration of microcredit companies incorporated within Jiangxi Province.

 

The Notice on Issuing Implementation Opinions on and Interim Measures of the Pilot Establishment of Microcredit Companies, issued by the Jiangxi Provincial Government in February 2009, require (i) the source of funds of microcredit companies must be limited to the capital contributions paid by shareholders, donated capital, and capital borrowed from no more than two financial institutions, and such borrowed capital financial institutions shall not exceed 50% of the net capital; (ii) for 70% of the loans granted to borrowers, the aggregate amount of loans borrowed by any individual must not exceed RMB0.5 million, and for the remaining 30% of loans granted to borrowers, the aggregate amount of loans borrowed by any individual must not exceed 5% of the net capital of the microcredit company; and (iii) microcredit companies are permitted to conduct business only in the county where it is incorporated.

 

 84 

 

 

In March 2012, Jiangxi Financial Service Office, the regulatory authority for microcredit companies in Jiangxi Province, promulgated Measures for the Supervision and Administration of Microcredit Companies in Jiangxi Province (Pilot Scheme), to impose the management duties upon the relevant regulatory authorities and to specify detailed requirements on the microcredit companies, which include, among others, (i) microcredit companies are prohibited from engaging in custodian services and illegal fund-raising; (ii) modification of certain company registration issues shall be subject to the approval of relevant regulatory authorities; and (iii) microcredit company shall engage in the loan business in the place of registration and surrounding counties within the corresponding municipality, and the loan balance for borrowers in the county of registration shall not be less than 60% of the loan balance in aggregate.

 

Jiangxi Financial Service Office, the regulatory authority for microcredit companies in Jiangxi Province, issued the Guidelines for the Supervision and Administration of Online Microcredit Companies of Jiangxi Province (Pilot Scheme), or Jiangxi Online Microcredit Companies Guidelines, in September 2016, to provide specific rules on the supervision and administration of online microcredit companies in Jiangxi Province, which include, among others, (i) apart from capital contributions paid by shareholders and capital borrowed from no more than two financial institutions, online microcredit companies may also raise funds through transferring credit asset and asset-backed securities with the approval from local regulatory authorities; (ii) online microcredit companies shall primarily conduct its microcredit loan business via online platform, and that the operation capital used in such business shall be no less than 70% the total operating capital, and (ii) the aggregate loan balance within the municipality where such online microcredit company is incorporated shall be no less than 30% of the total loan balance. In January 2017, Jiangxi Financial Service Office further issued the Circular on Adjusting and Supplementing the Guidelines for the Supervision and Administration of Online Microcredit Companies of Jiangxi Province (Pilot Scheme), pursuant to which, the minimum registered capital of an online Microcredit Company was increased to RMB500 million from RMB200 million. As of the date of this annual report, the registered capital of Fuzhou Online Microcredit is RMB200 million, and we have not receive any been subject to any fines or other penalties from the competent authority of Fuzhou Online Microcredit. In November 2017, the Internet Finance Rectification Office issued the Notice on the Immediate Suspension of Approvals for the Establishment of Online Microcredit Companies, which requires all relevant regulatory authorities of microcredit companies to suspend the approval of the establishment of any online microcredit companies and the approval of any microcredit business conducted across provinces.

 

On December 1, 2017, the Internet Finance Rectification Office and the Online Lending Rectification Office jointly issued Circular 141, which requires the relevant regulatory authorities to suspend the approval of the establishment of online microcredit companies and the approval of any microcredit business across provinces. Circular 141 also specifies that online microcredit companies shall not provide campus loans, shall suspend the funding of online micro-loans with no specific scenario or no designated purpose, and gradually reduce the outstanding amount of such loans and take rectification measures.

 

On December 8, 2017, the Notice on Specific Rectification Implementation Measures for Risk of Online Microcredit Businesses of Microcredit Companies, or Circular 56, which defines “online micro-loans” as micro-loans provided through the internet by online microcredit companies. The features of online micro-loans include online borrower acquisition, credit assessment based on the online information collected from business operation and internet consumption, as well as loan application, approval and funding made through online procedures.

 

Consistent with the Guidance on the Pilot Establishment of Microcredit Companies and the Circular 141, the Rectification Implementation Plans of Online Microcredit Companies emphasize several aspects where inspection and rectification measures must be carried out for the online micro-loans industry, which include, among others, (i) the online microcredit companies shall be approved by the local authorities in accordance with the applicable regulations promulgated by the State Council, and the approved online microcredit companies in violation of any regulatory requirements shall be re-examined; (ii) qualification requirements to conduct online micro-loan business (including the qualification of shareholders, sources of borrowers, internet scenario and the digital risk-management technology); (iii) whether the qualification and funding source of the shareholders of online microcredit companies are in compliance with the applicable laws and regulations; (iv) whether the online microcredit companies primarily fund loans with their own funds and whether the funding sources of online microcredit companies include online lending information intermediaries; (v) whether the financing activities of online microcredit companies, including credit assets transfer and asset securitization, are in compliance with the applicable regulations; (vi) whether the “integrated real interest” (namely the aggregated borrowing costs charged to borrowers in the form of interest and various fees) are annualized and subject to the limit on interest rate of private lending set forth in the Private Lending Judicial Interpretations issued by the Supreme People’s Court and, whether any interest, handling fee, management fee or deposit are deducted from the principal of loans provided to the borrowers in advance; (vii) whether a relatively comprehensive risk control system has been established and whether the loans are collected with violence; (viii) whether campus loans, or online micro-loans with no specific scenario or designated purpose are granted; (ix) whether online microcredit companies cooperate with internet platforms without relevant website registration or telecommunication business license to offer micro-loans and whether online microcredit companies cooperate with institutions with no lending qualification to offer loans or provide funds to such institutions for them to offer loans, and with respect to the loan business conducted in cooperation with third-party institutions, whether the online microcredit companies outsource their core business (including the credit assessment and risk control), or accept any credit enhancement services provided by any third-party institutions with no guarantee qualification; or whether any applicable third-party institution collects any interests or fees from the borrowers; (x) whether an online information security management system has been established and whether online microcredit companies properly store client data and transaction information and protect client privacy; and (xi) whether entities that conduct online micro-loans business have obtained relevant approval or license for lending business.

 

 85 

 

 

The Rectification Implementation Plans of Online Microcredit Companies also sets forth that all related institutions shall be subject to inspection and investigation before the end of January 2018. Depending on the results, different measures will be taken before the end of March 2018, including: (i) for institutions that hold online microcredit licenses but do not meet the qualification requirements to conduct online micro-loan business, their online microcredit licenses shall be revoked and such institutions will be prohibited from conducting loan business outside the administrative jurisdiction of their respective approved authorities; (ii) for institutions holding online microcredit licenses that meet the qualification requirements to conduct online micro-loan business but were found not in compliance with other requirements, such as the requirements on the integrated actual interest rate, the scope of loans and cooperation with third-party institutions, such institutions shall take rectification measures within a certain period specified by the local authorities, and in the event that the rectification measures do not meet the local authorities’ requirements, such institutions shall be subject to several sanctions, including revocation of their online microcredit licenses and to cease their business operations.

 

Fuzhou Online Microcredit plans to re-apply for the approval to operate microcredit businesses by the competent supervising authority. It remains unclear when the regulatory authorities will resume the approval process and whether they will conduct any onsite inspections of Fuzhou Online Microcredit.

 

Regulations on Anti-money Laundering

 

The PRC Anti-money Laundering Law, which became effective in January 2007, sets forth the principal anti-money laundering requirements applicable to financial institutions as well as non-financial institutions. Furthermore, the Guidelines, the Interim Measures and the Custodian Guidelines require online lending information intermediaries to comply with certain anti-money laundering requirements, including establishment of a customer identification program, monitoring and reporting of suspicious transactions, preservation of customer information and transaction records, and provision of assistance to the public security department and judicial authority in investigations and proceedings in relation to anti-money laundering matters.

 

Regulations on Guarantee

 

In June 1995, the Standing Committee of the National People’s Congress, or the SCNPC, promulgated the PRC Guarantee Law, and in March 2007, the National People’s Congress, or the NPC, promulgated the PRC Property Law, which took effective in October 2007. According to such applicable laws, a mortgage refers to where a debtor or a third party, mortgages property to a creditor instead of transferring of the possession of such property, for guaranteeing payment of debts. If the debtor defaults or if any condition for enforcement of creditor’s rights arises, the creditor shall have preemptive rights to the property. With respect to real estates used for mortgages, the mortgage shall be registered with the local regulatory authority and the mortgage shall come into effect as of the date of registration. With respect to vehicles used for mortgages, the mortgage shall come into effect as of the effective date of the mortgage contract, however, the creditor may not enforce his or her creditor’s right in such mortgage to any bone fide third party if the mortgage has not been registered with the local regulatory authority. Prior to the maturity of debt, a mortgagee shall not stipulate with the mortgagor that the ownership the mortgaged property will be transferred to a third party if the debtor defaults his or her payment. In cases where the debtor fails to pay the debts, the mortgagee may, by concluding an agreement with the mortgagor, convert the property under mortgage into market value or seek payments from auction or sale of the mortgaged property. In cases where an agreement has damaged the interests of any other third party, the third party may request the PRC court to discharge the agreement. In cases where the mortgagee and the mortgagor fail to agree on the method taken for determining the value of the mortgaged property, the mortgagee may request the PRC court to auction or sell the mortgaged property.

 

 86 

 

 

In addition, a debtor or a third party may pledge personal property to a creditor to be held in possession of the creditor, if the debtor defaults or if any condition for enforcement of creditor’s rights arises, the creditor shall have preemptive rights to pledged personal property. A contract for pledge of property generally includes the following: (i) the amount of the debt for the pledged property; (ii) the term for the debtor to repay his debts; (iii) the name, quantity, quality and conditions of the pledged property; (iv) the scope of the secured interest; and (v) the time for delivery of the pledged property. The interest of a pledge is established upon delivery of the pledged property by the pledgor to the pledgee. Prior to maturity of debt, the pledgee shall not enter into an agreement with the pledgor to claim the pledgor’s ownership of the pledged property if the debtor defaults. In cases where the debtor repays the debts prior to maturity of the debt, the pledgee shall return the pledged property to the pledgor. If the debtor defaults or if any condition for enforcement of pledgor’s rights arises, the pledgee may enter into an agreement with the pledgor that the pledged property be converted into market value, or the pledgee may enjoy preemptive rights to the proceeds obtained from auction or sale of the pledged property. In cases where the pledgee fails to cooperate, the pledgor may request the PRC court to auction or sell the mortgaged property.

 

Regulations on Foreign Investment

 

The Foreign Investment Law was formally adopted by the National People's Congress on March 15, 2019, which became effective on January 1, 2020 and replaced the trio of existing laws regulating foreign investment in China, namely, the PRC Equity Joint Venture Law, the PRC Cooperative Joint Venture Law and the Wholly Foreign-owned Enterprise Law, together with their implementation rules and ancillary regulations. Meanwhile, the Regulations for the Implementation of the Foreign Investment Law came into effect as of January 1, 2020, which clarified and elaborated the relevant provisions of the Foreign Investment Law. The organization form, organization and activities of foreign-invested enterprises are governed, among others, by the Company Law of PRC and the Partnership Enterprise Law of PRC. Foreign-invested enterprises established before the implementation of this Law may retain the original business organization so long for five years after the implementation of this Law. The Foreign Investment Law and the Implementation Regulations do not mention the concept and regulatory regime of VIE structures. However, since it is relatively new, uncertainties still exist in relation to its interpretation and implementation. See “Item 3. Key Information — D. Risk Factors — Risks Related to Doing Business in China — Uncertainties exist with respect to the interpretation and implementation of PRC Foreign Investment Law and how it may impact the viability of our current corporate structure, corporate governance and business operations.”

 

The Foreign Investment Law is formulated to further expand opening-up and to vigorously promote foreign investment while protecting the legitimate rights and interests of foreign investors. According to the Foreign Investment Law, “foreign investment” refers to investment activities directly or indirectly conducted by one or more natural persons, entities, or otherwise organizations of a foreign country (collectively referred to as “foreign investor”) within China, and the investment activities include the following situations: (i) a foreign investor, individually or collectively with other investors, establishes a foreign-invested enterprise within China; (ii) a foreign investor acquires stock shares, equity shares, shares in assets, or other similar rights and interests in an enterprise within China; (iii) a foreign investor, individually or collectively with other investors, invests in a new project within China; and (iv) investments in other means as provided by laws, administrative regulations, or the State Council. Among others, the state guarantees that foreign invested enterprises can equally participate in national standards formulation and can participate in government procurements through fair competition in accordance with law. Further, the state should not expropriate any foreign investment except under special circumstances. In special circumstances, the state may levy or expropriate investments of foreign investors in accordance with law for public interest. The expropriation and requisition should be conducted in accordance with legal procedures with timely and reasonable compensation.

 

 87 

 

 

Investment activities in the PRC by foreign investors are governed by the Catalog of Industries for Encouraging Foreign Investment, or the Catalog, and the Special Administrative Measures (Negative List) for Foreign Investment Access, or the Negative List, issued on June 30, 2019, and became effective on July 30, 2019, which were promulgated and are amended from time to time by the MOC and the National Development and Reform Commission. The Negative List sets out the industries in which foreign investments are prohibited or restricted. Foreign investors are not allowed to make investments in prohibited industries, while foreign investors must satisfy certain conditions stipulated in the Negative List for investment in restricted industries. According to the Negative List, the proportion of foreign investment in entities engaged in value-added telecommunication services (excluding e-commerce, domestic multi-party communications services, store-and-forward services, and call center services) should not exceed 50%.

 

Foreign investment in telecommunications companies in the PRC are governed by the Provisions for the Administration of Foreign-Invested Telecommunications Enterprises, or the Foreign-Invested Telecommunications Enterprises Provisions, which was promulgated by the State Council on December 11, 2001, and amended on September 10, 2008 and February 6, 2016, respectively. The Foreign-Invested Telecommunications Enterprises Provisions and the Negative List prohibit a foreign investor from holding over 50% of the total equity interest in any value-added telecommunications service business in China, except for e-commerce business, domestic multi-party communications services business, store-and-forward business and call center business, which may be 100% owned by foreign investors. In addition, the primary foreign investor in a foreign-invested value-added telecommunications enterprise in China must demonstrate a good track record and operational experience of value-added telecommunications business.

 

Regulations on Internet Companies

 

Regulations on Value-Added Telecommunication Services

 

The Telecommunications Regulations of the PRC, or the Telecommunications Regulations, promulgated by the State Council on September 25, 2000 and amended on July 29, 2014 and February 6, 2016, respectively, sets forth a general framework for telecommunications services providers in the PRC. Pursuant to the Telecommunications Regulations, telecommunications services providers are required to obtain an operating license prior to the commencement of their operations. The Telecommunications Regulations categorize various types of telecommunications services into basic telecommunication services and value-added telecommunications services. The Catalog of Telecommunications Business was issued as an attachment to the Telecommunications Regulations to categorize telecommunications services, which categorized information services provided via fixed network, mobile network and Internet, and call center services, as value-added telecommunications services.

 

In September 2000, the State Council issued the Administrative Measures on Internet Information Services, which was amended in January 2011. Pursuant to these measures, “internet information services” refer to provision of internet information to online users, and are divided into “commercial internet information services” and “non-commercial internet information services.” A commercial internet information services operator must obtain a value-added telecommunications services license, or VATS license, for internet information services from the relevant government authorities before engaging in any commercial internet information services operations in China.

 

In July 2017, the MIIT promulgated the Administrative Measures on Telecommunications Business Operating Licenses. Under these regulations, a commercial operator of value-added telecommunications services must first obtain a VATS license from the MIIT or its local branches and update the VATS license if there is any change to the shareholding structure of such commercial operator. In July 2006, the Ministry of Information Industry, the predecessor of the MIIT, issued the Circular on Strengthening the Administration of Foreign Investment in the Operation of Value-added Telecommunications Business, which prohibits holders of these services licenses from leasing, transferring or selling their licenses in any form, or providing any resource, sites or facilities, to any foreign investors intending to conduct such businesses in China.

 

 88 

 

 

Prior to the issuance of the Interim Measures in August 2016, there was no clear or official regulation or guidance from the PRC government as to whether online lending information services was a type of value-added telecommunication services and whether its provider should be subject to value-added telecommunication regulations. The Interim Measures require that online lending information intermediaries must apply for applicable telecommunication business licenses in accordance with the relevant provisions of telecommunications authorities after record-filing with a local financial regulatory authority. However, PRC telecommunication authorities have not explicitly stipulated which kind of telecommunications service license is required for online lending information intermediaries (including in the form of a website or mobile app) engaged in telecommunication services.

 

Our platform, operated by Weidai Financial Information, has obtained a VATS license, for the operations of internet content service from the Hangzhou Administration of Telecommunications in August 2016, which will remain valid until August 2021, and a VATS license for the operations of our domestic call center service from the MIIT in August 2017, which will remain valid until August 2022. As these VATS licenses do not reflect the latest shareholding structure of Weidai Financial Information, we plan to update these VATS licenses to address this issue.

 

Furthermore, since we operate mobile apps to reach mobile device users, it is uncertain whether Weidai Financial Information and its subsidiaries will be required to obtain a separate operating license in addition to the VATS License.

 

Regulation on Mobile Internet Applications Information Services

 

Administration of mobile internet application information services is strengthened through Regulations for Administration on Mobile Internet Applications Information Services, or the MIAIS Regulations, which was promulgated by the Cyberspace Administration of China, or the CAC, on June 28, 2016 and became effective on August 1, 2016. The MIAIS Regulations were enacted to regulate mobile app information service providers. Pursuant to the MIAIS Regulations, the CAC and local offices of cyberspace administration shall be responsible for the supervision and administration of nationwide or local mobile app information, respectively.

 

Under the MIAIS Regulations, mobile app information service providers are required to obtain relevant qualifications and are responsible for the supervision and administration of mobile app information. Mobile app information service providers are required to strictly implement information security management responsibilities, including, but not limited to: (i) authenticate the identity of the registered users, (ii) protect user information and obtain users’ consents for collecting and using their personal information in a lawful manner, (iii) establish information content audit and management mechanism, and prohibit any content in violation of laws or regulations, and (iv) record and keep users’ logged information for 60 days.

 

Regulations on Internet Security

 

Internet information in China is regulated and restricted from a national security standpoint. The SCNPC, has enacted the Decisions on Maintaining Internet Security on December 28, 2000, amended on August 27, 2009, which may subject violators to criminal punishment in China for any effort to: (i) gain improper entry into a computer or system of strategic importance; (ii) disseminate politically disruptive information; (iii) leak state secrets; (iv) spread false commercial information; or (v) infringe intellectual property rights. In 1997, the Ministry of Public Security has promulgated measures that prohibit use of the internet in ways which, among other things, result in a leakage of state secrets or a spread of socially destabilizing content. If an internet information service provider violates these measures, the Ministry of Public Security and the local security bureaus may revoke its operating license and shut down its websites.

 

On November 7, 2016, the SCNPC promulgated the Network Security Law of the PRC, or the Network Security Law, which became effective on June 1, 2017. The Network Security Law requires network operators, including online lending information intermediaries, to comply with laws and regulations and fulfill their obligations to safeguard security of the network when conducting business and providing services. The Network Security Law further requires network operators to take all necessary measures in accordance with applicable laws, regulations and compulsory national requirements to safeguard the safe and stable operation of the networks, respond to network security incidents effectively, prevent illegal and criminal activities, and maintain the integrity, confidentiality and usability of network data.

 

 89 

 

 

Regulations on Privacy Protection

 

In December 2011, the MIIT issued The Several Provisions on Regulating the Market Order of Internet Information Services, which provides that an internet information service provider may not collect any user’s personal information or provide any such information to third parties without such user’s consent. Pursuant to The Several Provisions on Regulating the Market Order of Internet Information Services, internet information service providers are required to, among others, (i) expressly inform the users of the method, content and purpose of the collection and processing of such users’ personal information and may only collect such information necessary for the provision of its services; and (ii) properly maintain the users’ personal information, and in case of any leak or possible leak of a user’s personal information, online lending service providers must take immediate remedial measures and, in severe circumstances, make an immediate report to the telecommunications regulatory authority.

 

In addition, pursuant to the Decision on Strengthening the Protection of Online Information, issued by the SCNPC in December 2012, and the Order for the Protection of Telecommunication and Internet User Personal Information, issued by the MIIT in July 2013, any collection and use of any user personal information must be subject to the consent of the user, and abide to the applicable law, rationality and necessity of the business and fall within the specified purposes, methods and scopes in the applicable law.

 

Pursuant to the Ninth Amendment to the Criminal Law, issued by the SCNPC in August 2015, which became effective in November, 2015, any internet service provider that fails to fulfill its obligations related to internet information security administration as required under applicable laws and refuses to rectify upon orders, shall be subject to criminal penalty. In addition, Interpretations of the Supreme People’s Court and the Supreme People’s Procuratorate on Several Issues Concerning the Application of Law in the Handling of Criminal Cases Involving Infringement of Personal Information, issued on May 8, 2017 and became effective on June 1, 2017, clarified certain standards for the conviction and sentencing of the criminals in relation to personal information infringement.

 

In addition, the PRC General Provisions of the Civil Law, promulgated on March 15, 2017, which became effective on October 1, 2017, require personal information of individuals to be protected. Any organization or individual requiring personal information of others shall obtain such information legally and ensure the security of such information, and shall not illegally collect, use, process, or transmit such personal information, or illegally buy, sell, provide, or publish such personal information.

 

Furthermore, the Interim Measures require online lending information intermediaries to reinforce the management of lenders’ and borrowers’ information, so as to ensure the legitimacy and security regarding the collection, processing and use of lenders’ and borrowers’ information. Also, online lending information intermediaries are required to keep information of lenders and borrowers collected during the course of their business confidential, and are prohibited to use such information for any other purpose without approval of lenders or borrowers, other than for the services online lending information intermediaries provide.

 

While we have taken measures to protect the confidentiality of information that we have access to, our security measures could be breached. Any accidental or willful security breaches or other unauthorized access to our platform could cause confidential information of borrowers and investors to be stolen and used for criminal purposes. Any security breaches or unauthorized access to confidential information could also expose us to liability for loss of information and negative publicity.

 

Regulations on Foreign Exchange

 

Regulations on Foreign Currency Exchange

 

The principal regulations governing foreign currency exchange in China are the Foreign Exchange Administration Regulations, which was most recently amended in August 2008. Under the PRC Foreign Exchange Administration Regulations, Renminbi is freely convertible for payments of current account items, such as distribution of dividends, interest payments and trade and service-related foreign exchange transactions, can be made in foreign currencies without prior approval from SAFE. On the contrast, approval from or registration with appropriate government authorities is required where Renminbi is to convert into foreign currency and remitted out of China to pay capital account items, such as direct investments, repayment of foreign currency-denominated loans, repatriation of investments and investments in securities outside of China.

 

 90 

 

 

On November 19, 2012, SAFE promulgated the Circular on Improving and Adjusting Foreign Exchange Administration Policies on Foreign Direct Investment, or Circular on Improving and Adjusting Foreign Exchange Policies, which became effective on December 17, 2012 and was further amended on May 4, 2015 and on December 30, 2019. Pursuant to the Circular on Improving and Adjusting Foreign Exchange Policies, the opening of various foreign exchange accounts for designated purposes, such as pre-establishment expenses accounts, foreign exchange capital accounts and guarantee accounts, the reinvestment of Renminbi proceeds derived by foreign investors in the PRC, and remittance of foreign exchange profits and dividends by foreign-invested enterprises to their foreign shareholders, no longer require approval or verification from SAFE, and the same entity may open multiple capital accounts in different provinces. In May 2013, SAFE also promulgated the Circular on Printing and Distributing the Provisions on Foreign Exchange Administration over Domestic Direct Investment by Foreign Investors and the Supporting Documents, which was amended on October 10, 2018 and on December 30, 2019, which specifies that the administration by SAFE or its local branches over direct investment by foreign investors in the PRC shall be conducted by way of registration and banks shall process foreign exchange business for direct investment in the PRC based on the registration information provided by SAFE and its local branches.

 

On February 13, 2015, SAFE promulgated the Notice on Further Simplifying and Improving the Administration of the Foreign Exchange Concerning Direct Investment, or SAFE Notice 13, which became effective on June 1, 2015 and amended on December 30, 2019. Pursuant to SAFE Notice 13, instead of applying for approvals regarding foreign exchange registrations of foreign direct investment and overseas direct investment from SAFE, entities and individuals will be required to apply for such foreign exchange registrations from qualified banks. The qualified banks, under the supervision of SAFE, will directly examine the applications and conduct the registration.

 

On March 30, 2015, SAFE promulgated the Circular on Reforming the Management Approach Regarding the Foreign Exchange Capital Settlement of Foreign Invested Enterprises, or SAFE Circular 19, which was amended on December 30, 2020. SAFE Circular 19 allows foreign-invested enterprises to make equity investments by using Renminbi fund converted from foreign exchange capital. SAFE Circular 19 allows foreign-invested enterprises to settle their foreign exchange capital at banks based on the operation needs of the enterprises upon the confirmation of rights and interests of capital contribution by the local foreign exchange bureau (or the book-entry registration of monetary contribution by the banks). The proportion of discretionary settlement of foreign exchange capital of foreign-invested enterprises is currently 100%. SAFE can adjust such proportion based on the international balance of payments. SAFE promulgated the Notice of the State Administration of Foreign Exchange on Reforming and Standardizing the Foreign Exchange Settlement Management Policy of Capital Account, or SAFE Circular 16, which became effective in June 2016. SAFE Circular 19 and SAFE Circular 16 prohibit foreign-invested enterprises from using Renminbi fund converted from their foreign exchange capitals for expenditure beyond their business scopes, providing entrusted loans or repaying loans between non-financial enterprises.

 

On January 26, 2017, SAFE issued the Notice of State Administration of Foreign Exchange on Improving the Check of Authenticity and Compliance to further Promote Foreign Exchange Control, or SAFE Circular 3, which stipulates several capital control measures with respect to the outbound remittance of profit from domestic entities to offshore entities, including (i) under the principle of genuine transaction, banks must check board resolutions regarding profit distribution, the original version of tax filing records and audited financial statements; and (ii) domestic entities must hold income to account for previous years’ losses before remitting the profits. Moreover, pursuant to SAFE Circular 3, domestic entities shall make detailed explanations of the sources of capital and utilization arrangements, and provide board resolutions, contracts and other proof when completing the registration procedures in connection with an outbound investment.

 

Regulations on Foreign Exchange Registration of Overseas Investment by PRC Residents

 

On July 4, 2014, SAFE issued the Circular on Relevant Issues Concerning Foreign Exchange Control on Domestic Residents’ Offshore Investment and Financing and Round-trip Investment through Special Purpose Vehicles, or SAFE Circular 37, which replaced the former circular commonly known as “SAFE Circular 75”. SAFE Circular 37 requires PRC residents to register with local branches of SAFE in connection with their direct establishment or indirect control of an offshore entity or entities for the purpose of seeking offshore investment or making offshore financing. SAFE Circular 37 refer to the PRC residents’ legally owned assets or equity interests in domestic enterprises or offshore assets or interests as a “special purpose vehicle”. SAFE Circular 37 further requires amendment to the registration in the event of any significant changes with respect to the special purpose vehicle, such as increase or decrease of investment amount, share transfers or exchanges, mergers or divisions, or any other material event. In the event that a PRC shareholder holding interests in a special purpose vehicle fails to fulfill the required SAFE registration, the PRC subsidiaries of such special purpose vehicle may be prohibited from making profit distributions to the offshore parent and from carrying out subsequent cross-border foreign exchange activities, and such special purpose vehicle may be restricted in its ability to contribute additional capital into its PRC subsidiary. Furthermore, failure to comply with the various SAFE registration requirements described above may result in liability under PRC law for evasion of foreign exchange controls. All beneficial owners of our ordinary shares who we know are PRC residents, including Mr. Hong Yao, have completed the foreign exchange registrations in 2018 in accordance with SAFE Circular 37.

 

 91 

 

 

SAFE Notice 13 has amended SAFE Circular 37 requiring PRC residents or entities to register with qualified banks rather than SAFE or its local branches in connection with their establishment or control of an offshore entity established for the purpose of seeking offshore investment or making offshore financing.

 

Regulations on Employee Share Incentive Plans of Overseas Publicly-Listed Company

 

In February 2012, SAFE promulgated the Notice on Issues Concerning the Foreign Exchange Administration for Domestic Individuals Participation in Share Incentive Plan of Companies Listed Overseas, or the 2012 SAFE Notice. Under such notice and other relevant rules and regulations, PRC residents, including PRC citizens or non-PRC citizens who reside in China for a continuous period of not less than one year, that participate in any share incentive plan of any overseas publicly-listed company are required to register with SAFE or its local branches and complete certain other procedures. Participants of a share incentive plan who are PRC residents must retain a qualified PRC agent, which could be a PRC subsidiary of the overseas publicly listed company or another qualified institution selected by the PRC subsidiary, to conduct the SAFE registration and other procedures with respect to the share incentive plan on behalf of the participants. We and our executive officers and other employees who are PRC residents that have been granted share incentive awards are now subject to these regulations. Failure by these individuals to complete their SAFE registrations may subject such individuals and us to fines and other legal sanctions.

 

The SAT has issued certain circulars concerning employee share incentive awards. Under these circulars, our employees working in China who exercise share incentive awards will be subject to PRC individual income tax. Our PRC subsidiary has the obligation to make filings related to employee share incentive awards with relevant tax authorities and to withhold individual income taxes of those employees who exercise their share incentive awards. If our employees fail to pay or we fail to withhold their income taxes according to relevant laws and regulations, we may face sanctions imposed by the tax authorities or other PRC governmental authorities.

 

Regulations on Intellectual Property Rights

 

The PRC has adopted comprehensive legislation governing intellectual property rights, including copyrights, patents, trademarks and domain names.

 

Copyright. The SCNPC adopted the PRC Copyright Law in September 1990 and amended it in October 2001 and February 2010, respectively. Copyright protection in the PRC, including copyright protection to software, is primarily regulated under the PRC Copyright Law and related rules and regulations. Under the PRC Copyright Law, the term of copyright protection for software is 50 years.

 

Patent. The Patent Law of the PRC promulgated in December 2008 and which became effective in October 2009, or the Patent Law, protect patentable inventions, utility models and designs. Any invention or utility model for which patents may be granted must meet three conditions: novelty, inventiveness and practical applicability. The State Intellectual Property Office under the State Council is responsible for examining and approving patent applications. The term of a patent right is either 10 years or 20 years from the date of application, depending on the type of patent right.

 

 92 

 

 

Trademark. The Trademark Law of the PRC promulgated in August 2013 which took effect in May 2014 and was amended in 2019, or the Trademark Law, and its implementation rules protect registered trademarks. The PRC Trademark Law has adopted a “first-to-file” principle with respect to trademark registrations. The State Intellectual Property Office, formerly the Trademark Office under the SAIC is responsible for the registration and administration of trademarks and grants a term of 10 years to registered trademarks and another 10 years if requested upon expiry of the initial or any renewed 10-year term. Trademark license agreements must be filed with the State Intellectual Property Office for record.

 

Domain Name. Domain names are protected under the Administrative Measures on the Internet Domain Names promulgated by the MIIT, which became effective on November 1, 2017. The MIIT is the primary regulatory authority responsible for the administration of the PRC Internet domain names. The registration of domain names in PRC has adopted a “first-to-file” principle. A domain name applicant will become the domain name holder upon the completion of its application procedure. Our domain name weidai.com.cn has been registered.

 

Regulations on Dividend Distribution

 

Under our current corporate structure, our Cayman Islands holding company may rely on dividend payments from Weidai Co., Ltd., which is a wholly foreign-owned enterprise incorporated in China, to fund any cash and financing requirements we may have. The principal regulations governing distribution of dividends of foreign-invested enterprises include the Company Law of the PRC, promulgated in January 2006 and last amended in October 2018, and the Wholly Foreign-owned Enterprise Law, promulgated in April 1986 and amended in September 2016, and its implementation regulations. The Wholly Foreign-owned Enterprise Law was replaced by the Foreign Investment Law on January 1, 2020. Under these regulations, wholly foreign-owned enterprises in China may pay dividends only out of their accumulated after-tax profits, if any, which is determined in accordance with PRC accounting standards and regulations. In addition, wholly foreign-owned enterprises in China are required to allocate at least 10% of their respective accumulated profits each year, if any, to fund certain reserve funds until these reserves have reached 50% of the registered capital of the enterprises. Wholly foreign-owned enterprises may, at their discretion, allocate a portion of their after-tax profits based on PRC accounting standards to staff welfare and bonus funds. These reserves are not distributable as cash dividends.

 

Regulations on Employment

 

Pursuant to the PRC Labor Law, promulgated by the NPC in July 1994 and last amended on December 29, 2018, and the PRC Labor Contract Law, promulgated by Standing Committee of the NPC in June 2007 and amended in December 2012, employers must execute written employment contracts with full-time employees. All employers must compensate their employees with wages equal to at least the local minimum wage. Violations of the PRC Labor Law and the PRC Labor Contract Law may result in the imposition of fines and other administrative sanctions, and serious violations may result in criminal liabilities.

 

Enterprises in China are required by PRC laws and regulations to participate in certain employee benefit plans, including social insurance funds, namely a pension plan, a medical insurance plan, an unemployment insurance plan, a work-related injury insurance plan and a maternity insurance plan, and a housing provident fund, and contribute to the plans or funds in amounts equal to certain percentages of salaries, including bonuses and allowances, of the employees as specified by the local government from time to time at locations where they operate their businesses or where they are located. According to the Social Insurance Law, implemented on July 1, 2011 and amended on December 29, 2018, and the Payment of Social Insurance Premiums, promulgated on January 22, 1999 and amended on March 24, 2019, enterprises are obliged to provide benefits to their employees in China, including pension insurance, unemployment insurance, maternity insurance, work injury insurance and medical insurance. These payments should be paid to the local administration, and any employer who fails to pay accordingly can be fined and ordered to make additional payments within a specified period. In addition, the PRC Individual Income Tax Law requires companies operating in China to withhold individual income tax on employees’ salaries based on the actual salary of each employee upon payment. We have not made adequate contributions to employee benefit plans, as required by applicable PRC laws and regulations.

 

 93 

 

 

Regulations Relating to Tax

 

Dividend Withholding Tax

 

Pursuant to the Enterprise Income Tax Law and its implementation rules, if a non-resident enterprise has not set up an organization or establishment in the PRC, or has set up an organization or establishment but the income derived has no actual connection with such organization or establishment, it will be subject to a withholding tax on its PRC-sourced income at a rate of 10%. Pursuant to the Arrangement between Mainland China and the Hong Kong Special Administrative Region for the Avoidance of Double Taxation and the Prevention of Fiscal Evasion with respect to Taxes on Income, the withholding tax rate in respect of the payment of dividends by a PRC enterprise to a Hong Kong enterprise is reduced to 5% from a standard rate of 10% if the Hong Kong enterprise directly holds at least 25% of the PRC enterprise. Pursuant to the Notice of the State Administration of Taxation on the Issues concerning the Application of the Dividend Clauses of Tax Agreements, or Circular 81, a Hong Kong resident enterprise must meet the following conditions, among others, in order to enjoy the reduced withholding tax: (i) it must directly own the required percentage of equity interests and voting rights in the PRC resident enterprise; and (ii) it must have directly owned such percentage in the PRC resident enterprise throughout the 12 months prior to receiving the dividends. There are also other conditions for enjoying the reduced withholding tax rate according to other relevant tax rules and regulations. On October 14, 2019, the SAT promulgated the Administrative Measures for Tax Convention Treatment for Non-resident Taxpayers, or Circular 35, which became effective on January 1, 2020. Under Circular 35, non-resident taxpayers who make their own tax declarations should conduct self-assessments in the declaration regarding whether they are entitled to tax treaty benefits and submit relevant supporting reports, statements and materials as stipulated in Article 7 of Circular 35, Those tax declarations made by non-resident taxpayers are subject to subsequent administrations by tax authorities. Accordingly, Weidai HK Limited, our Hong Kong subsidiary, may be able to enjoy the 5% withholding tax rate for the dividends it receives from our PRC subsidiary, if it satisfies the conditions prescribed under Circular 81 and other relevant tax rules and regulations. However, according to Circular 81 and Circular 35, if the relevant tax authorities consider the transactions or arrangements we have are for the primary purpose of enjoying a favorable tax treatment, the relevant tax authorities may adjust the favorable withholding tax in the future.

 

Enterprise Income Tax

 

PRC enterprise income tax is calculated based on taxable income, which is determined under (i) the PRC Enterprise Income Tax Law, or the EIT Law, promulgated by the NPC and implemented in January 2008, and (ii) the implementation rules to the EIT Law promulgated by the State Council and implemented in January 2008. The EIT Law imposes a uniform enterprise income tax rate of 25% on all resident enterprises in the PRC, including foreign-invested enterprises and domestic enterprises, unless they qualify for certain exceptions.

 

In addition, according to the EIT Law, enterprises registered in countries or regions outside the PRC with “de facto management bodies” located within China may be considered as PRC resident enterprises and will be subject to PRC enterprise income tax at the rate of 25% on their worldwide income. The implementation rules of the EIT Law define “de facto management bodies” as establishments that exercise full and substantial control over and overall management of the business, productions, personnel, accounts and properties of an enterprise. The only detailed guidance currently available for the definition of  “de facto management body” as well as the determination and administration of tax residency status of offshore-incorporated enterprises are set forth in the Notice Regarding the Determination of Chinese-Controlled Overseas Incorporated Enterprises as PRC Tax Resident Enterprises on the Basis of De Facto Management Bodies issued by the SAT in April 2009 and amended in December 2017, or Circular 82, and the Administrative Measures for Enterprise Income Tax of Chinese-Controlled Overseas Incorporated Resident Enterprises (Trial Version) issued by the SAT in July 2011 and last amended in June 2018, or Bulletin No. 45, which provides guidance on the administration as well as the determination of the tax residency status of a Chinese-controlled offshore-incorporated enterprise, defined as an enterprise that is incorporated under the law of a foreign country or territory and that has a PRC company or PRC corporate group as its primary controlling shareholder.

 

According to Circular 82, a Chinese-controlled offshore-incorporated enterprise will be regarded as a PRC resident enterprise by virtue of having its “de facto management body” in China and will be subject to PRC enterprise income tax on its global income only if all of the following conditions are met:

 

 94 

 

 

·the primary location of the day-to-day operational management and the places where they perform their duties are in the PRC;

 

·decisions relating to the enterprise’s financial and human resource matters are made or are subject to approval of organizations or personnel in the PRC;

 

·the enterprise’s primary assets, accounting books and records, company seals and board and shareholder resolutions are located or maintained in the PRC; and

 

·50% or more of voting board members or senior executives habitually reside in the PRC.

 

Bulletin No. 45 further clarifies certain issues related to the determination of tax resident status and competent tax authorities. It also specifies that when provided with a copy of Recognition of Residential Status from a resident Chinese-controlled offshore-incorporated enterprise, a payer does not need to withhold income tax when paying certain PRC-sourced income such as dividends, interest and royalties to such Chinese-controlled offshore-incorporated enterprise.

 

Income Tax for Share Transfers

 

According to the Announcement of the SAT on Several Issues Concerning the Enterprise Income Tax on Indirect Property Transfer by Non-Resident Enterprises, or Circular 7, promulgated by the SAT in February 2015 and amended in December 2017, if a non-resident enterprise transfers the equity interests of a PRC resident enterprise indirectly through transfer of the equity interests of an offshore holding company (other than a purchase and sale of shares issued by a PRC resident enterprise through or in a public securities market) without a reasonable commercial purpose, the PRC tax authorities have the power to reassess the nature of the transaction and the indirect equity transfer will be treated as a direct transfer. As a result, the gain derived from such transfer, which means the equity transfer price less the cost of equity, will be subject to PRC withholding tax at a rate of up to 10%. Under the terms of Circular 7, the transfer which meets all of the following circumstances shall be directly deemed as having no reasonable commercial purposes: (i) over 75% of the value of the equity interests of the offshore holding company are directly or indirectly derived from PRC taxable properties; (ii) at any time during the year before the indirect transfer, over 90% of the total properties of the offshore holding company are investments within PRC territory, or in the year before the indirect transfer, over 90% of the offshore holding company’s revenue is directly or indirectly derived from PRC territory; (iii) the function performed and risks assumed by the offshore holding company are insufficient to substantiate its corporate existence; and (iv) the foreign income tax imposed on the indirect transfer is lower than the PRC tax imposed on the direct transfer of the PRC taxable properties. In October, 2017, the SAT issued the Bulletin of SAT on Issues Concerning the Withholding of Non-resident Enterprise Income Tax at Source, or Bulletin 37, as amended in June 2018, which, among others, repeals certain rules stipulated in Circular 7. Bulletin 37 further details and clarifies the tax withholding methods in respect of income of non-resident enterprises.

 

PRC Value-Added Tax

 

Pursuant to applicable PRC regulations promulgated by the Ministry of Finance of China and the SAT, entities or individuals conducting business in the service industry are required to pay a valued-added tax, or VAT, at a rate of 6% with respect to revenues derived from the provision of online information services. A taxpayer is allowed to offset the qualified input VAT paid on taxable purchases against the output VAT chargeable on the revenue from services provided.

 

C. Organizational Structure

 

The following diagram illustrates our corporate structure as of the date of this annual report, including our principal subsidiaries and our principal variable interest entities and their principal subsidiaries.

 

 95 

 

 

 

 

 

 

(1) Shareholders of Weidai Financial Information include (i) Mr. Hong Yao, our founder, chairman and chief executive officer, who holds 73.3% of equity interest in Weidai Financial Information (60.1% of which is directly held by him and 13.2% of which is held by Deqing Partnership, an entity wholly owned by him and his wife), (ii) Zhejiang Hakim Unique Finance Service Co., Ltd., or Zhejiang Hakim, affiliate of Hakim Unique Technology Limited, who holds 15.5% of equity interest in Weidai Financial Information, and (iii) seven affiliates of our minority shareholders, who in aggregate hold 11.2% of equity interest in Weidai Financial Information.

 

(2) Mr. Hong Yao, our founder, chairman and chief executive officer, holds 100% of equity interest in Yuntuo (86.8% of which is directly held by him and 13.2% of which is held by Deqing Partnership, an entity wholly owned by him and his wife).

 

 96 

 

 

We are a “controlled company” as defined under the NYSE Listed Company Manual because Mr. Hong Yao will beneficially own a majority of the aggregate voting power of our company as of the date of this annual report.

 

Contractual Arrangements with Our Variable Interest Entities

 

Due to PRC legal restrictions on foreign ownership and investment in value-added telecommunications services, and Internet content provision services in particular, we currently conduct our business through Weidai Financial Information and expect to conduct a portion of our business through Yuntuo, which we effectively control through a series of contractual arrangements respectively. These contractual arrangements allow us to exercise effective control over Weidai Financial Information and Yuntuo, and receive substantially all of their economic benefits, and provide us an exclusive option to purchase all or part of their equity interests when and to the extent permitted by PRC law.

 

Contractual Arrangements with Weidai Financial Information

 

The following is a summary of the currently effective contractual arrangements by and among Weidai Co., Ltd., Weidai Financial Information and the shareholders of Weidai Financial Information.

 

Agreements that Provide Us with Effective Control over Weidai Financial Information

 

Exclusive Call Option Agreement

 

Weidai Co., Ltd., Weidai Financial Information and the shareholders of Weidai Financial Information entered into an exclusive call option agreement in April 2018. Pursuant to the exclusive call option agreement, each of the shareholders of Weidai Financial Information irrevocably grants Weidai Co., Ltd. an exclusive option to purchase, or have its designated person to purchase, at its discretion, to the extent permitted under PRC law, all or part of the shareholders’ equity interests in Weidai Financial Information at the lowest price permitted by applicable PRC law. We currently have no plan to exercise this exclusive call option to purchase Weidai Financial Information’s equity interest. We will consider all relevant factors, including our operational needs and the regulatory environment to decide whether and when to exercise this exclusive call option. As PRC laws continue to evolve, the “lowest price as permitted by the PRC laws” can only be determined at the time of such purchase. However, the Exclusive Call Option Agreement provides that once the exclusive call option is exercised, the shareholders of Weidai Financial Information and/or Weidai Financial Information shall return the purchase price they have received to Weidai Co., Ltd. or its designated party. Therefore, the exercise of the exclusive call option is not expected to have any material impact on us. In addition, Weidai Financial Information grants Weidai Co., Ltd. an exclusive option to purchase, or have its designated person to purchase, at its discretion, to the extent permitted under PRC law, all or part of Weidai Financial Information’s assets at the price of the net book value of such assets, or the lowest price permitted by applicable PRC law, whichever is higher. Without the prior written consent of Weidai Co., Ltd., Weidai Financial Information may not increase or decrease the registered capital, dispose of its assets, enter into any material contract with a value exceeding a specific amount except for those executed in the ordinary course of business, appoint or remove any directors, distribute dividends to the shareholders, guarantee its continuance, amend its articles of association and provide any loans to any third parties. The shareholders of Weidai Financial Information agree that, without the prior written consent of Weidai Co., Ltd., they will not transfer or otherwise dispose of their equity interests in Weidai Financial Information or create or allow any encumbrance on the equity interests. The exclusive call option agreement will remain effective until all equity interests in Weidai Financial Information held by its shareholders and all assets owned by Weidai Financial Information are transferred or assigned to Weidai Co., Ltd. or its designated representatives. No consideration was paid for the exclusive call option agreement.

 

 97 

 

 

Share Pledge Agreements

 

Weidai Co., Ltd., Weidai Financial Information and each of the shareholders of Weidai Financial Information has entered into a share pledge agreement in April 2018. Pursuant to the share pledge agreements, the shareholders of Weidai Financial Information has pledged all of their equity interests in Weidai Financial Information to Weidai Co., Ltd. to guarantee their and Weidai Financial Information’s performance of their obligations under the contractual arrangements, including, but not limited to, the exclusive business cooperation agreement, exclusive call option agreement and shareholders’ power of attorney. If Weidai Financial Information or any of its shareholders breaches any obligations under these agreements, Weidai Co., Ltd., as pledgee, will be entitled to dispose of the pledged equity interests. The shareholders of Weidai Financial Information agree that, during the term of the share pledge agreements, they will not dispose of the pledged equity interest, impose any encumbrance on the pledged equity interest without the prior written consent of Weidai Co., Ltd., except for the performance of the exclusive call option agreement, and Weidai Financial Information will not take any action or allow any action which may adversely impact the pledged equity interest or the pledgee’s rights under the contractual arrangements. During the term of the share pledge agreements, Weidai Co., Ltd. has the right to receive all of the dividends and profits distributed on the pledged equity interest. The share pledge agreements will remain effective until Weidai Financial Information and its shareholders discharge all their obligations under the contractual arrangements. We have completed the registration of the equity interest pledges with the relevant office of the State Administration for Market Regulation, in accordance with the PRC Property Rights Law. No consideration was paid for the share pledge agreements.

 

Power of Attorney

 

Through a power of attorney dated April 10, 2018, each of the shareholders of Weidai Financial Information irrevocably authorizes Weidai Co., Ltd. as their attorney-in-fact to exercise all shareholder rights, including, but not limited to, attending shareholders’ meeting, voting on all matters of Weidai Financial Information requiring shareholder approval, appointing directors and senior management members, and disposing of all or part of the shareholder’s equity interests in Weidai Financial Information. The shareholders’ power of attorney will remain in force for an unlimited term, unless Weidai Co., Ltd. issues a contrary instruction in writing otherwise.

 

Spouse Consent Letter

 

Pursuant to the spouse consent letter dated April 10, 2018, Mr. Hong Yao’s wife confirmed that Mr. Hong Yao can perform the obligations under the contractual arrangements and has sole discretion to amend and terminate the contractual arrangements. Mr. Hong Yao’s wife agreed that the equity interest in Weidai Financial Information held by and registered in the name of Mr. Hong Yao will be disposed of pursuant to the share pledge agreement, the exclusive call option agreement and the power of attorney. In addition, in the event that Mr. Hong Yao’s wife obtains any equity interest in Weidai Financial Information held by her for any reason, she agreed to be bound by the contractual arrangements.

 

Agreement that Allows Us to Receive Economic Benefits from Weidai Financial Information

 

Exclusive Business Cooperation Agreement

 

Weidai Co., Ltd., and Weidai Financial Information entered into an exclusive business cooperation agreement in April 2018. Under the exclusive business cooperation agreement, Weidai Co., Ltd. has the exclusive right to provide Weidai Financial Information with business support, technical and consulting services. In return, Weidai Co., Ltd. is entitled to receive a service fee from Weidai Financial Information on a monthly basis and at an amount equivalent to all of Weidai Financial Information ‘s net income as confirmed by and adjustable at the sole discretion of Weidai Co., Ltd. Weidai Co., Ltd. owns the exclusive intellectual property rights created as a result of the performance of this agreement. Except with Weidai Co., Ltd.’s prior written consent, Weidai Financial Information may not accept any consultation or services provided by any third party and may not cooperate with any third party regarding the matters contemplated by the exclusive business cooperation agreement, unless it is a third party appointed by Weidai Co., Ltd. This agreement will remain effective unless terminated unilaterally by Weidai Co., Ltd.

 

 98 

 

 

 

Financial Support Undertaking Letter with Weidai Ltd.

 

Weidai Ltd. executed a financial support undertaking letter addressed to Weidai Financial Information, pursuant to which Weidai Ltd. irrevocably undertakes to provide unlimited financial support to Weidai Financial Information to the extent permissible under the applicable PRC laws and regulations, regardless of whether Weidai Financial Information has incurred an operational loss. The form of financial support includes but is not limited to cash, entrusted loans and borrowings. Weidai Ltd. will not request repayment of any outstanding loans or borrowings from Weidai Financial Information if it or its shareholders do not have sufficient funds or are unable to repay such loans or borrowings. The letter is effective until the earlier of  (i) the date on which all of the equity interests of Weidai Financial Information have been acquired by Weidai Ltd. or its designee, and (ii) the date on which Weidai Ltd. in its sole and absolute discretion unilaterally terminates the applicable financial support undertaking letter.

 

Contractual Arrangements with Yuntuo

 

The following is a summary of the currently effective contractual arrangements by and among Weidai Co., Ltd., Yuntuo and the shareholders of Yuntuo.

 

Agreements that Provide Us with Effective Control over Yuntuo

 

Exclusive Call Option Agreement

 

Weidai Co., Ltd., Yuntuo and the shareholders of Yuntuo entered into an exclusive call option agreement in January 2019. Pursuant to the exclusive call option agreement, each of the shareholders of Yuntuo irrevocably grants Weidai Co., Ltd. an exclusive option to purchase, or have its designated person to purchase, at its discretion, to the extent permitted under PRC law, all or part of the shareholders’ equity interests in Yuntuo at the lowest price permitted by applicable PRC law. We currently have no plan to exercise this exclusive call option to purchase Yuntuo’s equity interest. We will consider all relevant factors, including our operational needs and the regulatory environment to decide whether and when to exercise this exclusive call option. As PRC laws continue to evolve, the “lowest price as permitted by the PRC laws” can only be determined at the time of such purchase. However, the Exclusive Call Option Agreement provides that once the exclusive call option is exercised, the shareholders of Yuntuo and/or Yuntuo shall return the purchase price they have received to Weidai Co., Ltd. or its designated party. Therefore, the exercise of the exclusive call option is not expected to have any material impact on us. In addition, Yuntuo grants Weidai Co., Ltd. an exclusive option to purchase, or have its designated person to purchase, at its discretion, to the extent permitted under PRC law, all or part of Yuntuo’s assets at the price of the net book value of such assets, or the lowest price permitted by applicable PRC law, whichever is higher. Without the prior written consent of Weidai Co., Ltd., Yuntuo may not increase or decrease the registered capital, dispose of its assets, enter into any material contract with a value exceeding a specific amount except for those executed in the ordinary course of business, appoint or remove any directors, distribute dividends to the shareholders, guarantee its continuance, amend its articles of association and provide any loans to any third parties. The shareholders of Yuntuo agree that, without the prior written consent of Weidai Co., Ltd., they will not transfer or otherwise dispose of their equity interests in Yuntuo or create or allow any encumbrance on the equity interests. The exclusive call option agreement will remain effective until all equity interests in Yuntuo held by its shareholders and all assets owned by Yuntuo are transferred or assigned to Weidai Co., Ltd. or its designated representatives. No consideration was paid for the exclusive call option agreement.

 

Share Pledge Agreements

 

Weidai Co., Ltd., Yuntuo and each of the shareholders of Yuntuo has entered into a share pledge agreement in January 2019. Pursuant to the share pledge agreements, the shareholders of Yuntuo has pledged all of their equity interests in Yuntuo to Weidai Co., Ltd. to guarantee their and Yuntuo’s performance of their obligations under the contractual arrangements, including, but not limited to, the exclusive business cooperation agreement, exclusive call option agreement and shareholders’ power of attorney. If Yuntuo or any of its shareholders breaches any obligations under these agreements, Weidai Co., Ltd., as pledgee, will be entitled to dispose of the pledged equity interests. The shareholders of Yuntuo agree that, during the term of the share pledge agreements, they will not dispose of the pledged equity interest, impose any encumbrance on the pledged equity interest without the prior written consent of Weidai Co., Ltd., except for the performance of the exclusive call option agreement, and Yuntuo will not take any action or allow any action which may adversely impact the pledged equity interest or the pledgee’s rights under the contractual arrangements. During the term of the share pledge agreements, Weidai Co., Ltd. has the right to receive all of the dividends and profits distributed on the pledged equity interest. The share pledge agreements will remain effective until Yuntuo and its shareholders discharge all their obligations under the contractual arrangements. We have completed the registration of the equity interest pledges with the relevant office of the State Administration for Market Regulation, in accordance with the PRC Property Rights Law. No consideration was paid for the share pledge agreements.

 

 99 

 

 

Power of Attorney

 

Through a power of attorney dated January 2019, each of the shareholders of Yuntuo irrevocably authorizes Weidai Co., Ltd. as their attorney-in-fact to exercise all shareholder rights, including, but not limited to, attending shareholders’ meeting, voting on all matters of Yuntuo requiring shareholder approval, appointing directors and senior management members, and disposing of all or part of the shareholder’s equity interests in Yuntuo. The shareholders’ power of attorney will remain in force for an unlimited term, unless Weidai Co., Ltd. issues a contrary instruction in writing otherwise.

 

Spouse Consent Letter

 

Pursuant to the spouse consent letter dated January 2019, Mr. Hong Yao’s wife confirmed that Mr. Hong Yao can perform the obligations under the contractual arrangements and has sole discretion to amend and terminate the contractual arrangements. Mr. Hong Yao’s wife agreed that the equity interest in Yuntuo held by and registered in the name of Mr. Hong Yao will be disposed of pursuant to the share pledge agreement, the exclusive call option agreement and the power of attorney. In addition, in the event that Mr. Hong Yao’s wife obtains any equity interest in Yuntuo held by her for any reason, she agreed to be bound by the contractual arrangements.

 

Agreement that Allows Us to Receive Economic Benefits from Yuntuo

 

Exclusive Business Cooperation Agreement

 

Weidai Co., Ltd., and Yuntuo entered into an exclusive business cooperation agreement in January 2019. Under the exclusive business cooperation agreement, Weidai Co., Ltd. has the exclusive right to provide Yuntuo with business support, technical and consulting services. In return, Weidai Co., Ltd. is entitled to receive a service fee from Yuntuo on a monthly basis and at an amount equivalent to all of Yuntuo ‘s net income as confirmed by and adjustable at the sole discretion of Weidai Co., Ltd. Weidai Co., Ltd. owns the exclusive intellectual property rights created as a result of the performance of this agreement. Except with Weidai Co., Ltd.’s prior written consent, Yuntuo may not accept any consultation or services provided by any third party and may not cooperate with any third party regarding the matters contemplated by the exclusive business cooperation agreement, unless it is a third party appointed by Weidai Co., Ltd. This agreement will remain effective unless terminated unilaterally by Weidai Co., Ltd.

 

In the opinion of CM Law Firm, our PRC counsel:

 

·the ownership structure of Weidai Financial Information and our wholly foreign owned subsidiary in China does not violate any applicable PRC laws or regulations currently in effect; and

 

·the ownership structure of Yuntuo and our wholly foreign owned subsidiary in China does not violate any applicable PRC laws or regulations currently in effect;

 

·the contractual arrangements among our wholly foreign owned subsidiary, Weidai Financial Information and the shareholders of Weidai Financial Information governed by PRC law are valid, binding and enforceable in accordance with their terms and applicable PRC laws or regulations currently in effect and do not and will not violate any applicable PRC laws or regulations currently in effect; and

 

 100 

 

 

·the contractual arrangements among our wholly foreign owned subsidiary, Yuntuo and the shareholders of Yuntuo governed by PRC law are valid, binding and enforceable in accordance with their terms and applicable PRC laws or regulations currently in effect and do not and will not violate any applicable PRC laws or regulations currently in effect.

 

However, there are substantial uncertainties regarding the interpretation and application of current and future PRC laws, regulations and rules. Accordingly, the PRC regulatory authorities may in the future take a view that is contrary to or otherwise different from the above opinion of our PRC legal counsel. See “Item 3. – Key information – D. Risk Factors — Risks Related to Our Corporate Structure — If the PRC government deems that the contractual arrangements in relation to our variable interest entities do not comply with PRC regulatory restrictions on foreign investment in the relevant industries, or if these regulations or the interpretation of existing regulations change in the future, we could be subject to severe penalties or be forced to relinquish our interests in those operations” and “ — Risks Related to Doing Business in China — Uncertainties in the interpretation and enforcement of PRC laws and regulations could limit the legal protections available to us” for more details.

 

D. Property, Plants and Equipment

 

Our corporate headquarters is located in Hangzhou, Zhejiang Province where we leased office space with a floor area of approximately 11,000 square meters as of December 31, 2019. The lease for our corporate headquarters has a term of five years and will expire in 2025. As of the same date, we had also leased office space, parking lots and parking space with an aggregate floor area of over 95,000 square meters across China, with leases generally ranging from one to three years. Our servers are hosted at Internet data centers owned by major domestic Internet data center providers. We believe that we will be able to obtain adequate facilities, principally through leasing, to accommodate our future expansion plans.

 

ITEM 4A. UNRESOLVED STAFF COMMENTS

 

None.

 

ITEM 5. OPERATING AND FINANCIAL REVIEW AND PROSPECTS

 

The following discussion of our financial condition and results of operations is based upon, and should be read in conjunction with, our audited consolidated financial statements and the related notes included in this annual report on Form 20-F. This report contains forward-looking statements. See “Forward-Looking Statements” on page 3 of this annual report. In evaluating our business, you should carefully consider the information provided under the caption “Item 3. Key Information — D. Risk Factors” in this annual report on Form 20-F. We caution you that our businesses and financial performance are subject to substantial risks and uncertainties.

 

A. Operating Results

 

Overview

 

We are one of the largest auto-backed financing solution provider in China. Our platform connects borrowers, the majority of which are small and micro enterprise owners, with investors.

 

We provide borrowers convenient and ready access to credit and a variety of loan products based on their specific financing needs and risk profiles. Since our inception in 2011, we have strategically focused on auto-backed loans with innovative “collateral registration + GPS system” features, which are specifically designed to serve the credit needs of small and micro enterprise owners, and have since become the industry standard. In 2019, we facilitated and originated RMB61.1 billion (US$8.8 billion) loans through our platform, representing a 22.4% decrease from 2018. In 2018, we facilitated and originated RMB78.8 billion loans through our platform, representing an 18.7% decrease from 2017. In 2017, 2018 and 2019, 82.7%, 79.3% and 67.6% of the total loan volume facilitated and originated through our platform were auto-backed loans, respectively. We also offer a number of other loans to meet the varied financial needs of our borrowers such as professional credit loans, construction machinery loans and consumption loans.

 

 101 

 

 

Starting from February 2020, institutional funding partners has become our primary funding source for the loans we facilitate on our platform.

 

We generate revenues primarily from fees charged to borrowers for loan solution services which include facilitating and monitoring the execution of loan agreements over the life of the loans.

 

Our net revenues were RMB3,545.5 million, RMB3,913.5 million and RMB3,357.5 million (US$482.3 million) in 2017, 2018 and 2019, respectively. Our net income was RMB474.8 million, RMB604.6 million and RMB263.2 million (US$37.8 million) in 2017, 2018 and 2019, respectively. Our adjusted net income, net of taxes, was RMB505.4 million, RMB691.7 million and RMB316.2 million (US$45.4 million) in 2017, 2018 and 2019, respectively.

 

Key Factors Affecting Our Results of Operations

 

Major factors affecting our results of operations include the following:

 

·our ability to maintain and expand our borrower and investor base and attract sufficient investor commitments;

 

·the effectiveness of our risk management;

 

·our ability to integrate and expand our online and offline operations in a cost-effective manner; and

 

·regulatory environments and economic and market conditions in China.

 

Our Ability to Maintain and Expand Our Borrower and Investor Base and Attract Sufficient Investor Commitments

 

Our revenues are dependent on our ability to maintain and expand borrower and investor base and attract sufficient investor commitments. Maintaining and expanding our borrower and investor base and attract sufficient investor commitments efficiently will depend, in part, on the effectiveness of our sales and marketing efforts. We intend to enhance the efficiency of our sales and marketing efforts by utilizing our own online channels going forward to acquire more borrowers, including launching a wide range of marketing campaigns and initiatives through these channels to improve borrower. We also intend to actively expand our collaboration with institutional funding partners.

 

Our results of operations are also dependent on our ability to retain and increase the engagement and participation of existing borrowers and investors. In 2019, 62.2% of borrowers of auto-backed loans through our platform were repeat borrowers. The extent to which we facilitate borrowings to repeat borrowers and investments to repeat online investors is an important factor in our future growth and results of operations.

 

Our ability to attract sufficient investor commitments depends on a variety of factors. Changes in market conditions or decrease in investment returns may also result in investors seeking other investment options. If there are insufficient investor commitments, borrowers may not be able to obtain capital through our platform and may turn to other sources for their borrowing needs, and the volume of loans we facilitate may be significantly impacted. We plan to use institutional funding partners as our primary funding source and will also facilitate loans through our microcredit company. As of March 31, 2020, our institutional funding partners had committed funding of up to RMB4.0 billion (US$574.6 million) for loans to borrowers referred by us, subject to their internal approval procedures.

 

 102 

 

 

Our ability to attract new borrowers and investors and retain existing ones also depends on our efforts to continuously enhance and optimize products and services we offer, our fee rates, as well as user experience on our platform in a changing market environment. Changes in our product mix and the launch of new products with different fee rates will affect our results of operations and profitability.

 

The Effectiveness of Our Risk Management

 

Our ability to accurately determine loan applicants’ creditworthiness and appraise the value of automobiles used as loan collaterals affects our ability to facilitate loans to borrowers as well as our ability to offer attractive, risk-adjusted returns to investors, both of which directly relate to the level of user confidence in our platform.

 

We used to voluntarily compensating online investors for their default losses by purchasing their delinquent loans. We provided guarantees for certain of our consumption loan products before 2019. We have been obligated to compensate a portion of our institutional funding partners and corporate investors for their default losses. We therefore record a provision for the potential losses of these acquired delinquent loans and loans we originate, which is periodically adjusted based on past loan loss history, known and inherent risks in the loan portfolio, adverse situations that may affect the borrowers’ ability to repay, composition of the loan portfolio and other factors. We recognize any increase in this allowance as provision for loans and advances for the relevant period. As such, any increase in the delinquency rates of loans we acquired or originated will adversely affect our results of operations.

 

Our Ability to Integrate and Expand Our Online and Offline Operations in a Cost-Effective Manner

 

Our omni-channel operational capability and the seamless integration between our online and offline operations have contributed to the growth of our borrower base and the number of transactions on our platform, effectively differentiating us from our competitors. Such approach has enabled a fast, highly-automated loan application process and enhanced our ability to manage outstanding loans efficiently and prevent delinquency.

 

Our continued ability to efficiently operate, expand and further integrate our online and offline operations in a cost-efficient manner will affect our borrower base, financial performance and profitability. We plan to continuously improve our online and offline integration to further enable a fast and highly streamlined transaction process and superior user experience. We may selectively expand the geographic coverage of our service center network to cover additional cities or strengthen our positioning in existing markets.

 

Regulatory Environments and Economic and Market Conditions in China

 

The regulatory environment for the marketplace lending industry in China is developing and evolving, creating both challenges and opportunities that could affect our financial performance. Since mid-2015, multiple PRC governmental authorities have promulgated various laws, regulations and rules to regulate the marketplace lending industry in China, imposing, among others, restrictions on the facilitation of  “cash loans”, the maximum amount of loans that can be extended to each individual and entity borrower, as well as the maximum interest rates and fees permitted to be charged on loans facilitated by marketplace lending platforms, or the upper limits for APRs. The growth in the popularity of the marketplace lending industry increases the likelihood that the PRC government will seek to further regulate this industry, and we may need to invest significant financial and other resources to comply with evolving laws, regulations and rules. However, while new laws and regulations, changes to existing laws and regulations or regulatory uncertainties could impose challenges on our future growth, including the growth of our loan balance and loan volume, they could also provide new market opportunities.

 

The demand for our platform is dependent upon the overall economic conditions in China. General economic factors, including the interest rate environment and unemployment rates, may affect borrowers’ willingness to seek loans and investors’ ability and desire to invest in loans. As we primarily target small and micro enterprise owners, our future growth also depends on small and micro enterprise owners’ overall demand on financing products and the competitive landscape in China’s small and micro enterprise financing market. Our business may be adversely affected if small and micro enterprise owners’ financing needs fluctuate or if our competitors introduce financing products that more effectively address their financing needs.

 

 103 

 

 

Loan Performance Data

 

Delinquency Rates by Vintage

 

We focus on repayment performance of loans for which any payment of principal or interest was more than 90 calendar days (“M3+”) past due. We closely monitor the credit performance measured by the M3+ Delinquency Rates by Vintage, which track the lifetime performance of the loans facilitated or originated in a certain vintage.

 

M3+ Delinquency Rates by Vintage We define “M3+ Delinquency Rate by Vintage” as the total balance of outstanding principal of a vintage for which any payment of principal or interest is over 90 calendar days past due as of a particular date (adjusted to reflect total amount of past due payments for principal and interest that have been subsequently collected), divided by the total initial principal in such vintage. Loan products that have been discontinued prior to the date of this annual report (including home equity loans, certain types of consumption loans and unsecured auto-financing loans offered to those who have taken out auto-financing loans from certain commercial banks) are not included in the calculation of M3+ Delinquency Rate by Vintage.

 

 104 

 

 

 

 

Critical Accounting Policies, Judgments and Estimates

 

The discussion and analysis of our financial condition and results of operations are based upon our consolidated financial statements as of and for the years ended December 31, 2017, 2018 and 2019, which have been prepared in accordance with U.S. GAAP. Our management is required to make estimates and assumptions that affect the amounts reported and disclosed in the consolidated financial statements and accompanying notes.

 

The application of our accounting policies is impacted significantly by judgments, assumptions and estimates used in the preparation of our consolidated financial statements, and actual results could differ materially from these estimates. For further information on our significant accounting policies, see note 2 to our consolidated financial statements included elsewhere in this annual report. We consider the policies discussed below to be critical to an understanding of our financial statements as their application places the most significant demands on the judgment of our management.

 

Revenue Recognition

 

We operate an online platform which matches borrowers with investors. Our platform enables investors to directly invest in individual loans or subscribe to our investment programs which provide them with pre-specified investment returns while minimizing the time needed to manage their investments. Our arrangements with investors can be broadly categorized into three types of arrangements.

 

In the first type of arrangement, we may advance funds to borrowers while the loan is being listed on our online platform for online investors to subscribe to. However, we do not provide a guarantee to these investors and are not the legal title holder of the underlying collateral. We determined that we are not the legal lender and legal borrower in the loan origination and repayment process, respectively, because when the loan is fully subscribed by investors, investors’ funds will be used to settle the advance made by us to borrowers. Therefore, we do not record loan receivables and payables arising from the loans between borrowers and investors on our consolidated balance sheets.

 

In the second type of arrangement, we do not advance funds to borrowers prior to a loan being subscribed by the institutional funding partners and online investors. Furthermore, we may provide a guarantee to the institutional funding partners and online investors which guarantees the contractual payments of the loan when borrowers default. We determined that we are not the legal lender and legal borrower in the loan origination and repayment process, respectively. Therefore, we do not record loan receivables and payables arising from the loans between borrowers and the institutional funding partners and online investors on our consolidated balance sheets.

 

 105 

 

 

In the third type of arrangement, we advance funds to borrowers prior to a loan being subscribed by the investors, and provide a guarantee which guarantees the contractual payments of the loan in the event of borrowers default. As the transaction does not represent a transfer of an entire financial asset or a participating interest and is not legally isolated from us, the arrangement is accounted for as loan origination by us and a secured borrowing in accordance with ASC 860, Transfers and Servicing.

 

After adoption of ASU 2014-09, “Revenue from Contracts with Customers (Topic 606)” with modified retrospective method

 

We provide loan solution services which include facilitating and monitoring the execution of loan agreements. Borrowers make repayments through us, and we will then remit the requisite returns to the investors on a periodic basis.

 

We also generate revenue from other contingent fees, such as late payment penalties and net revenue from sale of collateral.

 

On January 1, 2019, we adopted the revenue standard using the modified retrospective method to those contracts that were not completed as of January 1, 2019. Results for periods beginning after January 1, 2019 are presented under ASC 606, Revenue from Contracts with Customers, or ASC 606, while prior period amounts are not adjusted and continue to be reported in accordance with historic accounting under ASC 605, Revenue recognition, or ASC 605.

 

Upon initial adoption, we recognized the cumulative effect of the initial application of the revenue standard as a decrease of approximately RMB255.7 million, net of tax, to the opening balances of retained earnings. These adjustments primarily arose from the timing of revenue recognition for transaction fees collected upfront at loan inception to being recognized overtime under ASC 606. The table below sets forth the cumulative effect of the changes made to the consolidated balance sheet as of January 1, 2019 due to the adoption of ASC 606.

 

Assets  Balance at
December 31, 2018
   Adjustments due
to ASC 606
   Balance at
January 1, 2019
 
   RMB   RMB   RMB 
   (in thousands) 
Deferred tax assets   329,796    85,243    415,039 
                
Liabilities               
Deferred revenue   23,305    (23,305)   - 
Contract liabilities   -    364,278    364,278 
                
Shareholders’ equity               
Retained earnings   1,040,443    (255,730)   784,713 

 

The table below sets forth the impact to the consolidated statement of comprehensive income as a result of adoption of ASC 606:

 

   For the year ended December 31, 2019 
   As reported   Amounts without
adoption of ASC
606
   Effect of
change
 
   RMB   RMB   RMB 
   (in thousands) 
Revenue from loan service fee   2,955,050    3,090,589    (135,539)

 

 106 

 

 

Consistent with the criteria of ASC 606, we recognize revenue by applying the following five steps:

 

(i)            identify the contract with a customer;

 

(ii)           identify the performance obligations in the contract;

 

(iii)         determine the transaction price;

 

(iv)         allocate the transaction price to performance obligations in the contract; and

 

(v)          recognize revenue when (or as) performance obligations are satisfied.

 

We determine that both the borrowers and the investors are our customers because they both receive services provided by the us pursuant to the contractual terms among the borrowers, the investors and us. For each loan facilitated on the platform, we consider the loan services and guarantee service as two separate services, of which the guarantee service is accounted for in accordance with ASC 460, Guarantees, at fair value. Revenue from the guarantee services is recognized once we are released from the underlying risk (see “Critical Accounting Policies — Guarantee Liabilities”).

 

We identified one performance obligation for borrowers and one performance obligation for investors under ASC 606, as the loan services are not distinct.

 

We determine the total transaction price to be the service fees chargeable to the borrowers and the investors. The transaction price includes variable consideration in the form of early repayments of the loans by the borrowers.

 

We recognize revenue when (or as) the entity satisfies the service or performance obligation by transferring the promised service (that is, an asset) to customers. Both revenue from combined loan services to borrowers and revenue from post-origination to investors are recognized on a straight-line basis over the term of the underlying loans as the customers simultaneously receive and consume the benefit provided by the services we perform.

 

Contract balances

 

Contract assets represent our right to consideration in exchange for loan service that we have transferred to the customer before payment is due. Contract liabilities represent our obligation to transfer loan solution services to the customer due to received payment which are amortized over the period of the loan.

 

Customer incentives

 

For certain transactions with the investors, we, at our sole discretion may provide various incentives to investors when a loan is successfully matched during the relevant incentive program period. The cash incentive from us is either provided upfront or on a monthly basis over the term of the loan as additional interest.

 

For arrangements where we do not originate loans to borrowers, these cash incentives are accounted for as reduction of revenue in accordance with ASC 606. Cash incentives accounted for as reduction of revenue amounted to RMB359.6 million (US$51.6 million) in 2019. For arrangements where we originate loans to the borrowers and the related loan payables to investors are recorded on our balance sheet, cash incentives paid upfront will reduce loan payables to investors and loan payables are effectively issued at a discount. If cash incentives are paid to investors over the loan period, the cash incentives are included as repayment to investors for the loan and considered in the effective interest rate of the loan payable to investors. There is no cash incentives as reduction of loan payables in 2019.

 

 107 

 

 

Net financing income

 

We earn interest income arising from loans originated by us. We record interest income net of funding costs (i.e. interest paid to investors) over the life of the underlying loan principal using the effective interest method on unpaid principal amounts in accordance with ASC 310, Receivables. Customer incentives provided to certain investors are recorded as a reduction in loans receivable using the effective interest method.

 

Other revenues

 

We also receive various services fees which are contingent on future events, such as borrower late payment penalties and net revenue from sale of collateral. These contingent fees are not recognized until the contingencies are resolved and the fees become fixed and determined, which also coincide with when the services are performed and collectability is reasonably assured. These fees are classified within other revenue in our consolidated statements of comprehensive income.

 

Other revenues consist of:

 

   Year Ended December 31, 2019 
   RMB   US$ 
   (in thousands) 
Late payment penalties   102,910    14,782 
Others   170,523    24,494 
Total   273,433    39,276 

 

Revenue through service center operation partners

 

We collaborate with service center operation partners for the operation of partner-operated service centers under a revenue sharing model. We are the principal in a contract which satisfies a performance obligation in accordance with ASC 606-10-55 and recognizes revenue on a gross basis when all the revenue recognition criteria set forth in ASC 606 are met. Pursuant to the one-year cooperation agreements with the service center operation partners, we record all of each partner-operated service center’s loan facilitation service fee and post facilitation service fee as revenue, and subsequently pay the service center operation partners an agreed percentage of such amounts as the partner-operated service center’s operating cost and expenses which are recorded as origination and servicing expenses. If loans facilitated by the partner-operated service centers become delinquent and are subsequently purchased by us, the relevant service center operation partners are obligated to compensate us for an agreed percentage of the purchase price of the delinquent loans.

 

Before adoption of ASU 2014-09, “Revenue from Contracts with Customers (Topic 606)”

 

We earn a loan facilitation fee and a recurring service fee for post facilitation services for each successful loan facilitation, including provision of global positioning system (“GPS”) automobile tracking services, collection services and sending short message services (“SMS”) payment reminder to borrower throughout the term of the loans. Borrowers make repayments through us, and we will then remit the requisite return to the investors on a periodic basis.

 

We also generate revenue from other contingent fees, such as late payment penalties and loan collection fees.

 

Multiple element revenue recognition

 

In accordance with ASC 605, Revenue recognition, or ASC 605, for arrangements where we do not originate loans to borrowers, we recognize loan facilitation services and post facilitation services when the following four revenue recognition criteria are met:

 

(i)           persuasive evidence of an arrangement exists;

 

 108 

 

 

(ii)          services have been provided;

 

(iii)         the fee is fixed and determinable; and

 

(iv)         collectability is reasonably assured.

 

The two deliverables provided by us are loan facilitation and post facilitation services. We consider the loan facilitation services and the post facilitation services as a multiple element revenue arrangement. We do not have vendor specific objective evidence (“VSOE”) of selling price for the loan facilitation services or post facilitation services because we do not provide loan facilitation services or post facilitation services on a standalone basis. There is also no third-party evidence of the prices charged by third-party service providers when such services are sold separately. As a result, we use our best estimate of selling prices of loan facilitation services and post facilitation services as the basis of revenue allocation.

 

The fee allocated to loan facilitation is recognized as revenue upon each successful loan facilitation, while the fee allocated to post facilitation services are deferred and amortized over the period of the loan on a straight line method as the post facilitation services are performed. If the fee is not received entirely upfront, the amount allocated to the delivered loan facilitation services is limited to the amount that is not contingent on the delivery of the undelivered post facilitation services and the borrower’s timely installment repayment in accordance with ASC 605-25. The remaining loan facilitation service income is recorded when the contingency is resolved and cash is received from borrowers. The loan facilitation services and post facilitation services fees are recorded as revenues in our consolidated statements of comprehensive income.

 

For certain arrangements, we provide an additional deliverable in the form of guarantee to institutional funding partners and online investors, which requires us to make either delinquent installment repayments and/or purchase the loans after a specified period on an individual loan basis. In accordance with ASC 605-25-30-4, we first allocate the consideration to the guarantee equaling to the fair value of the guarantee. The remaining consideration is then allocated to loan facilitation services and post facilitation services.

 

Customer incentives

 

For certain transactions with investors, we, at our sole discretion, may provide various incentives to investors when a loan is successfully matched during the relevant incentive program period. The cash incentive from us is either provided upfront or on a monthly basis over the term of the loan as additional interest.

 

For arrangements where we do not originate loans to borrowers, these cash incentives are accounted for as reduction of revenue in accordance with ASC 605-50. Cash incentives accounted for as reduction of revenue amounted to RMB65.9 million, RMB268.8 million in 2017 and 2018, respectively. For arrangements where we originate loans to the borrowers and the related loan payables to investors are recorded on the balance sheet, cash incentives paid upfront will reduce loan payables to investors and loan payables are effectively issued at a discount. If cash incentives are paid to investors over the loan period, the cash incentives are included as repayment to investors for the loan and considered in the effective interest rate of the loan payable to investors. Cash incentives accounted for as reduction of loan payables amounted to RMB7.5 million and RMB10.7 million in 2017 and 2018, respectively.

 

Net financing income

 

We earn interest income arising from loans originated by us. We record interest income net of funding costs (i.e. interest paid to investors) over the life of the underlying loan principal using the effective interest method on unpaid principal amounts in accordance with ASC 310, Receivables. Customer incentives provided to certain investors are recorded as a reduction in loans receivable using the effective interest method.

 

 109 

 

 

Other revenues

 

We also receive various services fees which are contingent on future events, such as borrower late payment penalties, loan collection fees, and net revenues from sale of collateral. These contingent fees are not recognized until the contingencies are resolved and the fees become fixed and determined, which also coincide with when the services are performed and collectability is reasonably assured. These fees are classified within other revenues in our consolidated statements of comprehensive income.

 

Other revenues consist of:

 

   Year Ended December 31, 
   2017   2018 
   RMB   RMB 
   (in thousands) 
Late payment penalties and loan collection fees   218,675    113,313 
Others   86,362    76,399 
Total   305,037    189,712 

 

Revenue through service center operation partners

 

We collaborate with service center operation partners for the operation of partner-operated service centers under a revenue sharing model. We are acting as the primary obligor in the arrangement in accordance with ASC 605-45 and recognize revenue on a gross basis when all the revenue recognition criteria set forth in ASC 605 are met. Pursuant to the one-year cooperation agreements with the service center operation partners, we record all of each partner-operated service center’s loan facilitation service fee and post facilitation service fee as revenue, and subsequently pay the service center operation partners an agreed percentage of such amounts as the partner-operated service center’s operating costs and expenses, which are recorded as origination and servicing expenses. If loans facilitated by the partner-operated service centers become delinquent and are subsequently purchased by us, the relevant service center operation partners are obligated to compensate us for an agreed percentage of the purchase price of the delinquent loans.

 

Deferred Revenue

 

Deferred revenue mainly consists of post facilitation service fees which are non-contingent service fees collected at the inception of the loan, and deferred and amortized over the period of the loan.

 

VAT, Business Related Tax and Surcharges

 

We are subject to VAT at the rate of 17%, 6% or 3%, depending on whether the entity is a general taxpayer or small-scale taxpayer, and related surcharges on revenue are generated from providing services. The Notice of the Ministry of Finance and the SAT on Adjusting Value-added Tax Rates, or the Notice, was promulgated on April 4, 2018 and came into effect on May 1, 2018. According to the Notice, the VAT tax rate of 17% and 11% were changed into 16% and 10%, respectively.

 

VAT is reported as a deduction to revenue when incurred, and amounted to RMB268.0 million, RMB330.1 million and RMB340.9 million (US$49.0 million) in 2017, 2018 and 2019, respectively. Entities that are VAT general taxpayers are allowed to offset qualified input VAT paid to suppliers against their output VAT liabilities. Net VAT balance between input VAT and output VAT is recorded in accrued expenses and other liabilities on our consolidated balance sheets.

 

We are also subject to certain government surcharges on the VAT payable in the PRC. In our consolidated statements of comprehensive income, these surcharges are included in the “business related tax and surcharges”, which are deducted from gross revenues to arrive at net revenues.

 

 110 

 

 

Loans and Advances, Net

 

Loans and advances represent payments due from borrowers. Loans and advances are recorded at amortized cost (i.e. unpaid principal and deferred origination costs), net of allowance for loans and advances. Deferred origination costs are netted against net financing income and amortized over the financing term using the effective interest method.

 

We do not accrue interest income on loan principals that are considered impaired or past due. A corresponding allowance is determined under ASC 450-20 and allocated accordingly. After an impaired loan has been placed on nonaccrual status, interest receivable will be recognized when cash is received by applying first to reduce loan principal and then to interest income thereafter. Interest income accrued but not received is generally reversed against interest income. Interest receivables may be returned to accrual status after all of the borrower’s delinquent balances of loan principal and interest have been settled and the borrower remains current for an appropriate period.

 

Allowance for Loans and Advances

 

We segregate loans into secured and unsecured, and then into various portfolios, such as automobile and home equity, and apply our credit risk management framework to the various portfolio of loans in accordance with ASC 450-20, Loss Contingencies.

 

The allowance for loans and advances is calculated based on historical loss experience using a roll rate-based model. The roll rate-based model stratifies the loan principal and interest receivables by delinquency stages (i.e., current, 1 – 30 days past due, and 31 – 60 days past due etc.) and projected forward in one-month increments using historical roll rates. In each month of the simulation, losses on the loans and advances types are captured, and the ending delinquency stratification serves as the beginning point of the next iteration. This process is repeated on a monthly rolling basis. The loss rate calculated for each delinquency stage is then applied to the respective loans and advances balance. We adjust the allowance that is determined by the roll rate-based model for various Chinese macroeconomic factors, including gross-domestic product rates, per capita disposable income, interest rates and consumer price indexes. Each of these macroeconomic factors are equally weighted, and a score is applied to each factor based on year-on-year increases and decreases in that respective factor.

 

Loans will be charged off when a settlement is reached for an amount that is less than the outstanding balance or when we have determined the balance is uncollectable. In general, unsecured loans are charged off when outstanding loans are 180 days past due. Secured loans may be charged off upon the death of the borrower, significant damage to the collateral, and when we consider the balance to be uncollectable. In 2017, the volume of loans that were charged off totaled RMB164.2 million, primarily consisting of auto-backed loans. In 2018 and 2019, the volume of loans that were charged off totaled RMB415.8 million and RMB778.4 million (US$111.8 million), respectively, primarily consisting of auto-backed loans and the consumption loans involving smaller loan amounts and shorter tenures, which we have ceased to offer since the fourth quarter of 2017, and to a lesser extent, auto-backed loans that have been delinquent over 180 days. As the respective loans in 2017, 2018 and 2019 were fully offset by the allowance for loans and advances before charge off, the subsequent charge-offs only resulted in a net off of the balance of loans and advances and allowance for loans and advances.

 

The following table sets forth the movement of our allowance for loans and advances for the periods indicated:

 

    Year ended December 31, 2017  
    Loans receivable   Acquired non-performing loans      
    Auto-backed loans   Other secured
loans
   Unsecured loans   Auto-backed loans   Other secured
loans
   Unsecured loans   Total  
    RMB   RMB   RMB   RMB   RMB   RMB   RMB  
    (in thousands)  
Beginning balance     -     -     -     (67,156 )   -     (372 )   (67,528 )
Current year provision     (5,149 )   (913 )   (64,515 )   (327,453 )   (4,832 )   (81,201 )   (484,063 )
Recoveries of loans previously written off     -     -     -     (18,943 )   -     -     (18,943 )
Write-offs     -     -     -     161,378     1,077     1,789     164,244  
Ending balance     (5,149 )   (913 )   (64,515 )   (252,174 )   (3,755 )   (79,784 )   (406,290 )

 

 111 

 

 

    Year ended December 31, 2018  
    Loans receivable   Acquired non-performing loans      
    Auto-backed loans   Other secured loans    Unsecured loans   Auto-backed loans   Other secured loans    Unsecured loans   Total  
    RMB   RMB   RMB   RMB   RMB   RMB   RMB  
    (in thousands)  
Beginning balance     (5,149 )   (913 )   (64,515 )   (252,174 )   (3,755 )   (79,784 )   (406,290 )
Current year provision     (7,864 )   (4,427 )   4,106     (430,213 )   (53,245 )   (259,929 )   (751,572 )
Recoveries of loans previously written off     -     -     -     (27,879 )   (24 )   (355 )   (28,258 )
Write-offs     -     -     -     242,492     18,323     154,955     415,770  
Ending balance     (13,013 )   (5,340 )   (60,409 )   (467,774 )   (38,701 )   (185,113 )   (770,350 )

 

    Year ended December 31, 2019  
    Loans receivable   Acquired non-performing loans          
    Auto-backed loans   Other secured loans    Unsecured loans   Auto-backed loans   Other secured loans    Unsecured loans   Total   Total  
    RMB   RMB   RMB   RMB   RMB   RMB   RMB   US$  
    (in thousands)  
Beginning balance     (13,013 )   (5,340 )   (60,409 )   (467,774 )   (38,701 )   (185,113 )   (770,350 )   (110,654 )
Current year provision     9,803     2,447     34,844     (790,565 )   (42,696 )   (453,795 )   (1,239,962 )   (178,109 )
Recoveries of loans previously written off     -     -     -     (33,587 )   (1,180 )   (340 )   (35,107 )   (5,043 )
Write-offs     -     -     -     388,541     3,979     385,878     778,398     111,810  
Deregistration of subsidiary     -     -     -     -     -     7,396     7,396     1,062  
Ending balance     (3,210 )   (2,893 )   (25,565 )   (903,385 )   (78,598 )   (245,974 )   (1,259,625 )   (180,934 )

 

Acquired Non-Performing Loans

 

We record acquired non-performing loans in accordance with ASC 310-30, Loan and Debt Securities Acquired with Deteriorated Credit Quality, when we voluntarily purchase a delinquent loan. Such acquired non-performing loans are expected to be recovered either through the sale of the loan collateral upon foreclosure or from the subsequent payments made by the borrowers and are initially recorded at their purchase price. As the cash flows expected to be collected cannot be estimated because the timing of the collection and the condition of the collateral are indeterminable, the acquired non-performing loans are placed on non-accrual status and impairment is measured based on the fair value of the collateral less the estimated selling costs.

 

 112 

 

 

We derecognize the acquired non-performing loans when the non-performing loans are settled through foreclosure or repayment by borrowers. Any difference between the proceeds from sale of the collateral or subsequent payments made by the borrowers, and the acquired non-performing loan balance is recognized in other revenues in our consolidated statements of comprehensive income.

 

Borrowings

 

For certain transactions with borrowers, we may provide a loan to borrowers and then transfer the loan to investors at varying rates and tenures. Although the loan is transferred to the investors, the loan principal is not derecognized upon transfer, as the transaction does not represent a transfer of an entire financial asset or a participating interest and the loan is not legally isolated from us. Additionally, the terms of the transfer require us to guarantee the principal and interest in case of borrower defaults. As a result, the arrangement is accounted for as a secured borrowing in accordance with ASC 860, Transfers and Servicing. The loan remains on our consolidated balance sheets and the funds received from investors are recorded as payable to institutional funding partners and online investors in our consolidated balance sheets. Borrowings are initially recognized at fair value, which is cash received from investors, and measured subsequently at amortized cost using the effective interest method.

 

Guarantee Liabilities

 

We provide guarantee to various institutional funding partners and online investors. The guarantee requires us to either make delinquent installment repayments or purchase the loans after a specified period on an individual loan basis. The guarantee liability is exempted from being accounted for as a derivative in accordance with ASC 815-10-15-58.

 

The guarantee liability consists of two components. Our obligation to stand ready to make delinquent payments or to purchase the loan over the term of the arrangement (the non-contingent aspect) is accounted for in accordance with ASC 460, Guarantees (“ASC 460”). The contingent obligation relating to the contingent loss arising from the arrangement is accounted for in accordance with ASC 450, Contingencies (“ASC 450”). At inception, we recognize the non-contingent aspect of the guarantee liability at fair value, which considers the premium required by a third-party market participant to issue the same risk assurance in a standalone transaction.

 

Subsequent to the initial recognition, the non-contingent aspect of the risk assurance liability is reduced over the term of the arrangement as we are released from our stand ready obligation on a loan-by-loan basis based on the borrower’s repayment of the loan principal. The contingent loss arising from the obligation to make future payments is recognized when borrower default is probable and the amount of loss is estimable. We consider the underlying risk profile including delinquency status, overdue period, and historical loss experience when assessing the probability of contingent loss. Borrowers are grouped based on common risk characteristics, such as product type. We measure contingent loss based on the future payout of the arrangement estimated using the historical default rates of a portfolio of similar loans less the fair value of the recoverable collateral. The amount of provision for financial guarantee liabilities was nil, RMB21.7 million and RMB19.2 million (US$2.8 million) in 2017, 2018 and 2019. The maximum potential undiscounted future payment which we would be required to make under our guarantee obligation is RMB2,938.7 million and RMB3,030.7 million (US$435.3 million) as of December 31, 2018 and 2019, respectively.

 

Restricted Cash

 

Our restricted cash mainly represents (i) cash received but has not yet been disbursed, including idle funds due to investors whom recharge to the accounts on our platform but have not yet invested or fully funded the loans and funds due to borrowers that investors lend to borrowers but borrowers have not yet withdrawn. Such funds were processed through a designated bank account. As of December 31, 2018 and 2019, the restricted cash related to (i) cash not yet disbursed amounted to RMB1.6 billion and RMB1.0 billion (US$146.5 million), respectively; and (ii) cash held by banks as guaranteed deposits paid on contracts and other restrictions amounted to RMB56.1 million and RMB120.7 million (US$17.3 million) as of December 31, 2018 and 2019, respectively.

 

 113 

 

 

Income Taxes

 

We account for income taxes using the liability method in accordance with ASC 740, Income Taxes, or ASC 740. Under this method, deferred tax assets and liabilities are determined based on the differences between the financial reporting and tax bases of assets and liabilities using enacted tax rates that will be in effect when the differences are expected to reverse. Changes in deferred tax assets and liabilities are recorded in earnings. Deferred tax assets are reduced by a valuation allowance through a charge to income tax expense when, in the opinion of management, it is more-likely-than-not that a portion of or all of the deferred tax assets will not be realized.

 

We evaluate our uncertain tax positions using the provisions of ASC 740, which prescribes a recognition threshold that a tax position is required to meet before being recognized in the consolidated financial statements. We recognize in the consolidated financial statements the benefit of a tax position which is “more likely than not” to be sustained under examination based solely on the technical merits of the position assuming a review by tax authorities having all relevant information. Tax positions that meet the recognition threshold are measured using a cumulative probability approach, at the largest amount of tax benefit that has a greater than fifty percent likelihood of being realized upon settlement. It is our policy to recognize interest and penalties related to unrecognized tax benefits, if any, as a component of income tax expense.

 

Share-based Compensation

 

We apply ASC 718, Compensation—Stock Compensation, or ASC 718, to account for restricted shares, stock appreciation right and stock options granted to certain directors, executives and employees. In accordance with ASC 718, we determine whether the restricted shares, the stock appreciation rights and stock options should be classified and accounted for as an equity award or liability award. Grants of restricted shares and stock options to directors, executives and employees are classified as equity awards and are measured at fair value on grant date and are recognized as an expense, net of forfeitures, over the requisite service period. The cash-settled stock appreciation rights granted to employees are classified as liability awards and are re-measured to fair value at the end of each reporting period until the date of settlement with an adjustment for fair value recorded to the current period expenses. We have elected to recognize share-based compensation for all awards with graded vesting using the accelerated method. We early adopted ASU 2016-09, Compensation Stock Compensation (Topic 718): Improvement to Employee Share Based Payment Accounting, on January 1, 2016 using full retrospective method, and account for forfeitures in the period they occur as a reduction to expense.

 

A change in any of the terms or conditions of share-based payment awards is accounted for as a modification of awards. We measure the incremental compensation cost of a modification as the excess of the fair value of the modified awards over the fair value of the original awards immediately before its terms are modified, based on the share price and other pertinent factors at the modification date. For vested awards, we recognize incremental compensation cost in the period the modification occurred. For unvested awards, we recognize, over the remaining requisite service period, the sum of the incremental compensation cost and the remaining unrecognized compensation cost for the original award on the modification date.

 

Key Components of Results of Operations

 

Our revenues are primarily derived from loan service fee (loan facilitation service fees and post facilitation service fees before the year ended December 31, 2019). To a lesser extent, we generate revenues from other contingent fees, such as late payment penalties and net revenue from sale of collateral.

 

Net Revenues

 

Our primary sources of revenues consist of loan service fee (loan facilitation service fees and post facilitation service fees before the year ended December 31, 2019) charged to borrowers and investors for the services our platform provides over the life of loans we facilitate.

 

 114 

 

 

The following table sets forth the breakdown of our net revenues, both in absolute amount and as a percentage of our net revenues, for the periods indicated:

 

   Year Ended December 31, 
   2017  2018  2019(1) 
   RMB  %  RMB  %  RMB  US$  % 
   (in thousands, except for percentages) 
Net revenues:                      
Loan facilitation service fees:                      
Auto-backed loans  2,529,980  71.4  2,857,298  73.0       
Other secured loans(2)  107,564  3.0  115,140  2.9       
Unsecured loans(3)  54,409  1.5  183,283  4.8       
   2,691,953  75.9  3,155,721  80.7       
                       
Post loan facilitation service fees:                      
Auto-backed loans  283,182  8.0  308,011  7.9       
Other secured loans(2)  10,958  0.3  12,793  0.3       
Unsecured loans(3)  6,045  0.2  21,248  0.5       
   300,185  8.5  342,052  8.7       
                       
Loan service fee:                      
Auto-backed loans          2,046,907  294,019  60.9 
Other secured loans(2)          86,959  12,491  2.6 
Unsecured loans(3)          821,184  117,956  24.5 
           2,955,050  424,466  88.0 
                       
Other revenues  305,037  8.6  189,712  4.8  273,433  39,276  8.1 
Financing income  303,292  8.6  402,750  10.3  195,364  28,062  5.8 
Less: Funding costs  (39,056) (1.1) (156,138) (4.0) (50,610) (7,270) (1.5)
Net financing income  264,236  7.5  246,612  6.3  144,754  20,792  4.3 
Business related taxes and surcharges  (15,981) (0.5) (20,623) (0.5) (15,743) (2,261) (0.4)
Total net revenues  3,545,430  100.0  3,913,474  100.0  3,357,494  482,273  100.0 
Provision for loans and advances  (484,063) (13.7) (751,572) (19.2) (1,239,962) (178,109) (36.9)
Net revenues after provision for loans and advances  3,061,367  86.3  3,161,902  80.8  2,117,532  304,164  63.1 

 

 

(1) On January 1, 2019, we adopted new revenue guidance ASC Topic 606, “Revenue from Contracts with Customers,” using the modified retrospective method applied to those contracts which were not completed as of January 1, 2019. Results for reporting periods beginning after January 1, 2019 are presented under Topic 606, while prior period amounts are not adjusted and continue to be reported in accordance with our historic accounting method under Topic 605.

 

(2) Primarily including home equity loans and construction machinery loans. We ceased to offer home equity loans to new borrowers in the fourth quarter of 2017, the loan volume of which totaled RMB8.8 billion, RMB2.7 billion and RMB9.7 million (US$1.4 million) in 2017, 2018 and 2019, respectively.

 

(3) Primarily including professional credit loans and consumption loans. We ceased to offer certain types of consumption loans and unsecured auto-financing loans offered to those who have taken out auto-financing loans from certain commercial banks to new borrowers in the fourth quarter of 2017, the loan volume of which totaled RMB3.8 billion, RMB1.2 billion and nil in 2017, 2018 and 2019, respectively.

 

Loan Service Fee

 

For each loan we facilitate, we charge fees for the services our platform provides over the life of the loan.

 

The loan service fee charged to borrowers is based upon the amount, tenure and other terms of the loans. We also charge loan service fee to online investors for our facilitation of their investments, which equal to a fixed percentage of the interest they receive from borrowers.

 

Other Revenues

 

Other revenues mainly include (i) late payment penalties, (ii) loan collection fees, and (iii) net revenue from sale of collateral.

 

 115 

 

 

Net Financing Income

 

We earn interest income from loans originated by us. Interest income, net of the funding costs of such loans, is recorded as net financing income. See “— Critical Accounting Policies, Judgements and Estimates — Revenue Recognition — Net Financing Income” for more details.

 

Business Related Taxes and Surcharges

 

Business related taxes and surcharges are mainly VAT related surcharges.

 

Provision for Loans and Advances

 

We record an allowance for the potential losses of loans and advances recorded on our balance sheet. This allowance is calculated using a roll rate-based model based on past loan loss history, known and inherent risks in the loan portfolio, adverse situations that may affect borrowers’ ability to repay, composition of the loan portfolio and other factors. See “— Critical Accounting Policies, Judgements and Estimates — Loans and Advances, Net — Allowance for Loans and Advances” for more details. We recognize any increase in this allowance as provision for loans and advances for the relevant period.

 

Operating Costs and Expenses

 

Our operating costs and expenses consist of provision for financial guarantee liabilities, origination and servicing expenses, sales and marketing expenses, general and administrative expenses and research and development expenses. The following table sets forth our operating costs and expenses, both in absolute amount and as a percentage of our net revenues, for the periods presented:

 

   Year Ended December 31, 
   2017  2018  2019 
   RMB   %  RMB  %  RMB  US$  % 
   (in thousands, except for percentages) 
Operating costs and expenses:                      
Provision for financial guarantee liabilities      21,712  0.5  19,206  2,759  0.6 
Origination and servicing  1,784,914  50.5  1,757,935  44.9  1,388,640  199,466  41.4 
Sales and marketing  273,838  7.7  221,117  5.7  138,068  19,832  4.1 
General and administrative  316,772  8.9  379,415  9.7  281,956  40,500  8.4 
Research and development  100,966  2.8  139,318  3.6  81,664  11,730  2.4 
Total operating costs and expenses  2,476,490  69.9  2,519,497  64.4  1,909,534  274,287  56.9 

 

Provision for Financial Guarantee Liabilities

 

We record provision for financial guarantee liabilities for our off-balance sheet loan facilitations where we provided financial guarantees.

 

Origination and Servicing Expenses

 

Origination and servicing expenses consist primarily of  (i) salaries and benefits for our directly-operated service centers and provincial branch offices’ employees, who are responsible for pre-loan customer service and risk management and post-loan management and servicing, among others, (ii) partner-operated service centers’ operating costs and expenses paid to our service center operation partners, including related parties. See “Item 7. Major Shareholders and Related Party Transactions — B. Related Party Transactions” for more details of operating costs and expenses paid to related parties, (iii) costs related to operation of our GPS tracking system and purchase of GPS tracking devices, and (iv) others, primarily including loan collection fee and rental costs for our directly-operated service centers.

 

 116 

 

 

Sales and Marketing Expenses

 

Sales and marketing expenses consist primarily of advertising expenses, primarily online marketing and promotion expenses and advertising expenses for building brand awareness.

 

General and Administrative Expenses

 

General and administrative expenses consist primarily of  (i) salaries and benefits for our management, finance and administrative personnel, and (ii) other expenses, primarily related to travel expenses and professional service fees.

 

Research and Development Expenses

 

Research and development expenses consist primarily of  (i) salaries and benefits for our technology personnel, and (ii) costs related to the development and upgrade of our technology infrastructure and data analytics capabilities, including costs related to servers, other research and development equipment and data centers. We expense all research and development expenses as incurred.

 

Taxation

 

Cayman Islands

 

We are incorporated in the Cayman Islands. The Cayman Islands currently have no income, corporation or capital gains tax and no estate duty, inheritance tax or gift tax. The Cayman Islands does not impose a withholding tax on payments of dividends to shareholders.

 

Hong Kong

 

Weidai HK and Rymo Technology Industry Limited, or Rymo, our subsidiaries incorporated in Hong Kong, are subject to Hong Kong profit tax at a rate of 16.5%. No Hong Kong profit tax has been levied as we did not have assessable profit that was earned in or derived from the Hong Kong subsidiary during the periods presented. Hong Kong does not impose a withholding tax on dividends. Under the Hong Kong tax law, Weidai HK and Rymo are exempted from income tax on its foreign-derived income and there are no withholding taxes in Hong Kong on remittance of dividends.

 

China

 

Generally, our PRC subsidiary, our variable interest entities and subsidiaries of our variable interest entities, which are considered PRC resident enterprises under PRC tax law, are subject to enterprise income tax on their worldwide taxable income as determined under PRC tax laws and accounting standards at a rate of 25%. Zhejiang Qunshuo Electronics Co., Ltd. and Hangzhou Yaohong Technology Co., Ltd. qualify as High and New Technology Enterprise companies in the PRC, and are entitled to pay a reduced income tax rate of 15% for the period from January 1, 2019 to December 31, 2021.

 

In addition, under the PRC Enterprise Income Tax Law, qualified enterprises can enjoy a 150% super deduction for eligible research and development expenses in 2017, 175% in 2018 and 2019. In 2017, 2018 and 2019, RMB95.3 million, RMB86.7 million, and RMB85.8 million (US$12.3 million) of our research and development expenses were eligible for the super deduction, which account for an RMB11.9 million, RMB16.3 million and RMB13.9 million (US$2.0 million) decrease in tax expense, respectively.

 

We are subject to value added tax, or VAT, at a rate of 6% on the services we provide to borrowers and investors, less any deductible VAT we have already paid or borne. We are also subject to surcharges on VAT payments in accordance with PRC law. VAT has been phased in since May 2012 to replace the business tax that was previously applicable to the services we provide. During the periods presented, we were not subject to business tax on the services we provide.

 

Dividends paid by our wholly foreign-owned subsidiary in China to our intermediary holding company in Hong Kong will be subject to a withholding tax rate of 10%, unless the relevant Hong Kong entity satisfies all the requirements under the Arrangement between Mainland China and the Hong Kong Special Administrative Region for the Avoidance of Double Taxation and the Prevention of Fiscal Evasion with respect to Taxes on Income and receives approval from the relevant tax authority. If our Hong Kong subsidiary satisfies all the requirements under the tax arrangement and receives approval from the relevant tax authority, then the dividends paid to the Hong Kong subsidiary would be subject to withholding tax at the standard rate of 5%. See “Item 3. Key Information — D. Risk Factors — Risks Related to Doing Business in China — We rely on dividends and other distributions on equity paid by our PRC subsidiary to fund any cash and financing requirements we may have, and any limitation on the ability of our PRC subsidiary to make payments to us could have a material adverse effect on our ability to conduct our business.”

 

 117 

 

 

If our holding company in the Cayman Islands or any of our subsidiaries outside of China were deemed to be a “resident enterprise” under the PRC Enterprise Income Tax Law, it would be subject to enterprise income tax on its worldwide income at a rate of 25%. See “Item 3. Key Information — D. Risk Factors — Risks Related to Doing Business in China — If we are classified as a PRC resident enterprise for PRC income tax purposes, such classification could result in unfavorable tax consequences to us and our non-PRC shareholders or ADS holders.” Despite the present uncertainties resulting from limited PRC tax guidance on the issue, we do not believe that the legal entities organized outside the PRC should be characterized as PRC residents for enterprise income tax purposes.

 

Results of Operations

 

The following table sets forth a summary of our consolidated results of operations for the periods indicated, both in absolute amount and as a percentage of our net revenues. This information should be read together with our consolidated financial statements and related notes included elsewhere in this annual report. The operating results in any period are not necessarily indicative of the results that may be expected for any future period.

 

   Year Ended December 31, 
   2017  2018  2019(1) 
   RMB  %  RMB  %  RMB  US$  % 
   (in thousands, except for percentages) 
Net revenues:                      
Loan facilitation service fees:                      
Auto-backed loans  2,529,980  71.4  2,857,298  73.0       
Other secured loans(2)  107,564  3.0  115,140  2.9       
Unsecured loans(3)  54,409  1.5  183,283  4.8       
   2,691,953  75.9  3,155,721  80.7       
                       
Post loan facilitation service fees:                      
Auto-backed loans  283,182  8.0  308,011  7.9       
Other secured loans(2)  10,958  0.3  12,793  0.3       
Unsecured loans(3)  6,045  0.2  21,248  0.5       
   300,185  8.5  342,052  8.7       
                       
Loan service fee:                      
Auto-backed loans          2,046,907  294,019  60.9 
Other secured loans(2)          86,959  12,491  2.6 
Unsecured loans(3)          821,184  117,956  24.5 
           2,955,050  424,466  88.0 
                       
Other revenues  305,037  8.6  189,712  4.8  273,433  39,276  8.1 
Financing income  303,292  8.6  402,750  10.3  195,364  28,062  5.8 
Less: Funding costs  (39,056) (1.1) (156,138) (4.0) (50,610) (7,270) (1.5)
Net financing income  264,236  7.5  246,612  6.3  144,754  20,792  4.3 
Business related taxes and surcharges  (15,981) (0.5) (20,623) (0.5) (15,743) (22,61) (0.4)
Total net revenues  3,545,430  100.0  3,913,474  100.0  3,357,494  482,273  100.0 
Provision for loans and advances  (484,063) (13.7) (751,572) (19.2) (1,239,962) (178,109) (36.9)
Net revenues after provision for loans and advances  3,061,367  86.3  3,161,902  80.8  2,117,532  304,164  63.1 
                       
Operating costs and expenses:                      
Provision for financial guarantee liabilities      (21,712) (0.5) (19,206) (2,759) (0.6)
Origination and servicing  (1,784,914) (50.5) (1,757,935) (44.9) (1,388,640) (199,466) (41.4)
Sales and marketing  (273,838) (7.7) (221,117) (5.7) (138,068) (19,832) (4.1)
General and administrative  (316,772) (8.9) (379,415) (9.7) (281,956) (40,500) (8.4)
Research and development  (100,966) (2.8) (139,318) (3.6) (81,664) (11,730) (2.4)
Total operating costs and expenses  (2,476,490) (69.9) (2,519,497) (64.4) (1,909,534) (274,287) (56.9)
                       
Income from operations  584,877  16.4  642,405  16.4  207,998  29,877  6.2 
Interest income, net  30,303  0.9  66,791  1.7  39,616  5,690  1.2 
Government subsidies  53,616  1.5  70,351  1.8  106,873  15,351  3.2 
Other (expense) income, net  (772) 0.0  (15,288) (0.4) 13,998  2,011  0.4 
Net income before income taxes  668,024  18.8  764,259  19.5  368,485  52,929  11.0 
Income tax expenses  (193,203) (5.4) (159,629) (4.1) (105,243) (15,117) (3.2)
Net income  474,821  13.4  604,630  15.4  263,242  37,812  7.8 

 

 118 

 

 

 

(1) On January 1, 2019, we adopted new revenue guidance ASC Topic 606, “Revenue from Contracts with Customers,” using the modified retrospective method applied to those contracts which were not completed as of January 1, 2019. Results for reporting periods beginning after January 1, 2019 are presented under Topic 606, while prior period amounts are not adjusted and continue to be reported in accordance with our historic accounting method under Topic 605

 

(2) Primarily including home equity loans and construction machinery loans. We ceased to offer home equity loans to new borrowers in the fourth quarter of 2017, the loan volume of which totaled RMB8.8 billion, RMB2.7 billion and RMB9.7 million (US$1.4 million) in 2017, 2018 and 2019, respectively.

 

(3) Primarily including professional credit loans and consumption loans. We ceased to offer certain types of consumption loans and unsecured auto-financing loans offered to those who have taken out auto-financing loans from certain commercial banks to new borrowers in the fourth quarter of 2017, the loan volume of which totaled RMB3.8 billion, RMB1.2 billion and nil in 2017, 2018 and 2019, respectively.

 

Year Ended December 31, 2019 Compared to Year Ended December 31, 2018

 

Net Revenues

 

Our net revenues decreased by 14.2% from RMB3,913.5 million in 2018 to RMB3,357.5 million (US$482.3 million) in 2019. This decrease was primarily due to decrease in loan service fee.

 

Loan Service Fee

 

Loan service fee decreased by 15.5% from RMB3,497.8 million in 2018 (which was the aggregate of (i) revenues from loan facilitation service fees and (ii) revenues from post facilitation services fees in 2018) to RMB2,955.1 million (US$424.5 million) in 2019. The decrease was primarily due to change of accounting policy and decreases in our loan volume and outstanding balance.

 

Other Revenues

 

Other revenues increased by 44.1% from RMB189.7 million in 2018 to RMB273.4 million (US$39.3 million) in 2019, primarily due to an increase in insurance income.

 

Net Financing Income

 

Net financing income decreased by 41.3% from RMB246.6 million in 2018 to RMB144.8 million (US$20.8 million) in 2019, mainly attributable to a decrease in loan balance of our on-balance sheet loans.

 

Provision for Loans and Advances

 

Provision for loans and advances increased by 65.0% from RMB751.6 million in 2018 to RMB1,240.0 million (US$178.1 million) in 2019, primarily due to (i) increase in delinquency rates as a result of industry-wide turmoil, and macroeconomic headwinds that negatively impacted small and micro enterprises, and (ii) the significant deterioration of the general macroeconomic environment in China which resulted in the Company recording additional allowance for loans and advances after taking into consideration current economic factors. Provision for loans and advances as a percentage of net revenues increased to 36.9% in 2019 from 19.2% in 2018.

 

 119 

 

 

Operating Costs and Expenses

 

Operating costs and expenses decreased by 24.2% from RMB2,519.5 million in 2018 to RMB1,909.5 million (US$274.3 million) in 2019. Operating costs and expenses as a percentage of our net revenues decreased from 64.4% in 2018 to 56.9% in 2019.

 

Provision for Financial Guarantee Liabilities

 

Provision for financial guarantee liabilities provision for financial guarantee liabilities decreased by 11.5% from RMB21.7 million in 2018 to RMB19.2 million (US$2.8 million) in 2019.

 

Origination and Servicing Expenses

 

Origination and servicing expenses as a percentage of net revenues decreased from 44.9% in 2018 to 41.4% in 2019. Origination and servicing expenses decreased by 21.0% from RMB1,757.9 million in 2018 to RMB1,388.6 million (US$199.5 million) in 2019, which was primarily attributable to the decrease in our loan volume and our cost and personnel optimization efforts.

 

Sales and Marketing Expenses

 

Sales and marketing expenses decreased by 37.6% from RMB221.1 million in 2018 to RMB138.1 million (US$19.8 million) in 2019, which was primarily due to our cost and personnel optimization efforts. Sales and marketing expenses as a percentage of net revenues increased from 5.7% in 2018 to 4.1% in 2019.

 

General and Administrative Expenses

 

General and administrative expenses decreased by 25.7% from RMB379.4 million in 2018 to RMB282.0 million (US$40.5 million) in 2019, which was primarily attributable to our cost and personnel optimization efforts. General and administrative expenses as a percentage of net revenues decreased from 9.7% in 2018 to 8.4% in 2019.

 

Research and Development Expenses

 

Research and development expenses decreased by 41.4% from RMB139.3 million in 2018 to RMB81.7 million (US$11.7 million) in 2019, which was primarily attributable to our cost and personnel optimization efforts. Research and development expenses as a percentage of net revenues decreased from 3.6% in 2018 to 2.4% in 2019.

 

Interest Income, Net

 

Interest income, net decreased by 40.7% from RMB66.8 million in 2018 to RMB39.6 million (US$5.7 million) in 2019, which was primarily attributable to the decrease of cash and cash equivalents and short-term investments.

 

Government Subsidies

 

Government subsidies increased by 51.9% from RMB70.4 million in 2018 to RMB106.9 million (US$15.4 million) in 2019.

 

Other Income (Expense), Net

 

We recorded other expense, net of RMB15.3 million in 2018 while we recorded other income, net of RMB14.0 million (US$2.0 million) in 2019.

 

Income Tax Expenses

 

Our income tax expenses decreased by 34.1% from RMB159.6 million in 2018 to RMB105.2 million (US$15.1 million) in 2019.

 

 120 

 

 

Net Income

 

As a result of the foregoing, our net income decreased by 56.5% from RMB604.6 million in 2018 to RMB263.2 million (US$37.8 million) in 2019.

 

Year Ended December 31, 2018 Compared to Year Ended December 31, 2017

 

Net Revenues

 

Our net revenues increased by 10.4% from RMB3,545.4 million in 2017 to RMB3,913.5 million in 2018. This increase was primarily due to to an increase in loan facilitation service fees and post facilitation service fees.

 

Loan Facilitation Service Fees and Post Facilitation Service Fees

 

Loan facilitation service fees increased by 17.2% from RMB2,692.0 million in 2017 to RMB3,155.7 million in 2018; post facilitation service fees increased by 14.0% from RMB300.2 million in 2017 to RMB342.1 million in 2018.

 

The increases in loan facilitation service fees and post facilitation service fees were primarily attributable to product mix changes that resulted in a higher blended take rate, which increased from 17.7% in 2017 to 19.6% in 2018.

 

Other Revenues

 

Other revenues decreased by 37.8% from RMB305.0 million in 2017 to RMB189.7 million in 2018, primarily due to a decrease in loan collection fees, as we continued to optimize our collection policies.

 

Net Financing Income

 

Net financing income decreased by 6.7% from RMB264.2 million in 2017 to RMB246.6 million in 2018, mainly attributable to reduced take rate of on-balance sheet loans.

 

Provision for Loans and Advances

 

Provision for loans and advances increased by 55.3% from RMB484.1 million in 2017 to RMB751.6 million in 2018, primarily due to (i) increase in delinquency rates as a result of industry-wide turmoil, and macroeconomic headwinds that negatively impacted small and micro enterprises, and (ii) the significant deterioration of the general macroeconomic environment in China which resulted in the Company recording additional allowance for loans and advances after taking into consideration current economic factors. Provision for loans and advances as a percentage of net revenues increased to 19.2% in 2018 from 13.7% in 2017.

 

Operating Costs and Expenses

 

Operating costs and expenses increased by 1.7% from RMB2,476.5 million in 2017 to RMB2,519.5 million in 2018. Operating costs and expenses as a percentage of our net revenues decreased from 69.9% in 2017 to 64.4% in 2018.

 

Provision for Financial Guarantee Liabilities

 

Provision for financial guarantee liabilities provision for financial guarantee liabilities was RMB21.7 million in 2018.

 

 121 

 

 

Origination and Servicing Expenses

 

Origination and servicing expenses as a percentage of net revenues decreased from 50.5% in 2017 to 44.9% in 2018, primarily due to our improved operating efficiency and greater economies of scale. Origination and servicing expenses decreased by 1.5% from RMB1,784.9 million in 2017 to RMB1,757.9 million in 2018, which was primarily attributable to continued cost optimization efforts, including closing of certain underperforming service centers and termination of certain employees.

 

Sales and Marketing Expenses

 

Sales and marketing expenses decreased by 19.3% from RMB273.8 million in 2017 to RMB221.1 million in 2018, which was primarily due to our enhanced brand awareness and profile as a public company, which has enabled us to engage in fewer marketing activities and increasingly leverage word-of-mouth marketing to attract investors. Sales and marketing expenses as a percentage of net revenues decreased from 7.7% in 2017 to 5.7% in 2018.

 

General and Administrative Expenses

 

General and administrative expenses increased by 19.8% from RMB316.8 million in 2017 to RMB379.4 million in 2018, which was primarily attributable to (i) increases in salaries and benefits for our headquarters’ management, finance and administrative personnel primarily due to salary increases and increase in headcounts, (ii) IPO-related expenses. General and administrative expenses as a percentage of net revenues increased from 8.9% in 2017 to 9.7% in 2018.

 

Research and Development Expenses

 

Research and development expenses increased by 38.0% from RMB101.0 million in 2017 to RMB139.3 million in 2018, which was primarily attributable to (i) an increase in staff salaries and benefits, and an increase in the number of technology personnel, and (ii) costs related to the development and upgrading of our technology infrastructure.

 

Interest Income, Net

 

Interest income, net increased by 120.5% from RMB30.3 million in 2017 to RMB66.8 million in 2018, primarily due to an increase in loans we originated.

 

Government Subsidies

 

Government subsidies increased by 31.3% from RMB53.6 million in 2017 to RMB70.4 million in 2018.

 

Other Expense, Net

 

Other expense, net increased significantly from RMB0.8 million in 2017 to RMB15.3 million in 2018, as we made certain charitable donations in 2018.

 

Income Tax Expenses

 

Our income tax expenses decreased by 17.4% from RMB193.2 million in 2017 to RMB159.6 million in 2018.

 

Net Income

 

As a result of the foregoing, our net income increased by 27.3% from RMB474.8 million in 2017 to RMB604.6 million in 2018.

 

 122 

 

 

Share-based Compensation

 

Restricted Shares

 

On January 16, 2018, Mr. Hong Yao granted 131,000 restricted shares for nil consideration to certain of our directors and executives. The restricted shares granted were immediately vested. We calculated the estimated fair value of the shares on the respective grant dates using the income approach with assistance from an independent valuation firm. The fair value of the granted shares was RMB134.42 per share on January 16, 2018. Share-based compensation of RMB17.6 million was charged to our consolidated statements of comprehensive income in 2018.

 

Stock Appreciation Rights

 

On December 18, 2015, Weidai Financial Information approved a plan to issue options for virtual shares, or the Virtual Share Plan, for the purpose of providing incentives and rewards to certain employees and executives. In 2016, 2017 and 2018, Weidai Financial Information issued a total of nil, 2.72% and 2.13%, respectively, of the equity interest under the Virtual Share Plan. These virtual share options have no exercise price and will be settled in cash at the amount equal to the differences between the fair value on the exercise date and the fair value on the grant date. 33%, 33% and 34% of these options are vested on the second, third and fourth anniversary of the grant date, respectively. The vested virtual share options are exercisable within five years from the grant date. These virtual share options are in substance stock appreciation rights, which are classified as liability awards. At our discretion, each grantee may receive certain percentage of annual attributable net profit as annual dividend, which is also settled in cash. In addition, each grantee has an option to purchase Weidai Financial Information’s shares when the grantee’s accumulated number of virtual shares granted exceeds 0.1% of Weidai Financial Information’s total paid-in-capital. The purchase price will be determined by us.

 

In 2017, 2018 and 2019, no dividend was declared to the grantees and none of the grantees’ accumulated number of virtual shares granted exceeded 0.1% of Weidai Financial Information’s total paid-in-capital.

 

On October 1, 2018, we modified the stock appreciation rights by replacing the cash-settlement feature with a net share settlement feature, which converted the award from a liability award to an equity award because we no longer has an obligation to transfer cash to settle the arrangement. All of the outstanding virtual share options were exchanged for 1,349,367 restricted shares of our company with no other terms or conditions changed.

 

The Virtual Share Plan was terminated upon October 1, 2018.

 

We compared the fair value of the instrument immediately before the modification to the fair value of the modified equity award. As the modification affected no other terms or conditions, the fair value was unchanged by the modification and, therefore, no incremental compensation cost was recognized. The modified award would be accounted for as an equity award from the date of modification with a fair value of RMB216.4 per share. Therefore, at the modification date, we reclassified the liability of RMB106,465 recognized on September 30, 2018, as additional paid-in capital.

 

2018 Share Incentive Plan

 

In August 2018, our board of directors approved our 2018 share incentive plan, or the 2018 Plan, to provide incentives to employees, directors and consultants and promote the success of our business. The maximum number of ordinary shares that may be issued under the 2018 Plan is 3,300,000 after giving effect to the 50-for-1 share split effected by us in September 2018. As of December 31, 2019, the Company had granted 1,972,951 share awards under the 2018 Plan, including 1,901,561 options and 71,390 restricted share units. As of the same date, none of the options have been exercised and 14,278 restricted share units were vested, respectively.

 

We recognized total share-based compensation expenses of RMB40.7 million, RMB106.6 million and RMB64.8 million (US$9.3 million) in 2017, 2018 and 2019, respectively.

 

 123 

 

 

Non-GAAP Financial Measure

 

In evaluating our business, we consider and use adjusted net income, a non-GAAP measure, as supplemental measure to review and assess our operating performance. The presentation of the non-GAAP financial measure is not intended to be considered in isolation or as a substitute for the financial information prepared and presented in accordance with U.S. GAAP. We define adjusted net income as net income excluding share-based compensation expenses.

 

We present this non-GAAP financial measure because it is used by our management to evaluate our operating performance and formulate business plans. Adjusted net income enables our management to assess our operating results without considering the impact of share-based compensation expenses. We also believe that the use of this non-GAAP financial measure facilitates investors’ assessment of our operating performance.

 

This non-GAAP financial measure is not defined under U.S. GAAP and is not presented in accordance with U.S. GAAP. This non-GAAP financial measure has limitations as an analytical tool. One of the key limitations of using adjusted net income is that they do not reflect all items of income and expense that affect our operations. Share-based compensation expenses have been and may continue to be incurred in our business and are not reflected in the presentation of adjusted net income. Further, this non-GAAP financial measure may differ from the non-GAAP financial information used by other companies, including peer companies, and therefore their comparability may be limited.

 

We compensate for these limitations by reconciling the non-GAAP financial measure to the most directly comparable U.S. GAAP financial measure, which should be considered when evaluating our performance. We encourage you to review our financial information in its entirety and not rely on a single financial measure.

 

The following tables reconcile our adjusted net income, respectively, in 2017, 2018 and 2019 to the most directly comparable financial measure calculated and presented in accordance with U.S. GAAP:

 

   Year Ended December 31, 
   2017   2018   2019 
   RMB   RMB   RMB   US$ 
   (in thousands) 
Reconciliation of Net Income to Adjusted Net Income:    
Net income    474,821    604,630    263,242    37,812 
Add:                    
Share-based compensation expenses    40,719    106,571    64,796    9,307 
Adjusted net income before related taxes    515,540    711,201    328,038    47,119 
Income tax expenses    (10,180)   (19,457)   (11,881)   (1,707)
Adjusted net income, net of taxes    505,360    691,744    316,157    45,412 

 

Discussion of Certain Balance Sheet Items

 

Loans and Advances, Net

 

Loans and advances, net is comprised of loans receivable, acquired non-performing loans and advances to borrowers, partially offsets by allowance for loans and advances.

 

Loans and advances, net decreased from RMB1,903.9 million as of December 31, 2018 to RMB1,567.5 million (US$225.2 million) as of December 31, 2019. The decrease was primarily due to a decrease in loans receivable from RMB1,388.6 million as of December 31, 2018 to RMB400.2 million (US$57.5 million) as of December 31, 2019 and an increase in allowance of loans and advances from RMB770.4 million in 2018 to RMB1,259.6 million (US$180.9 million) in 2019. The decrease in loans receivable was primarily due to decrease in loan volume and outstanding balance and the increase in allowance for loans and advances was due to increase in delinquency rate. The decrease was partially offset by the increase of acquired non-performing loans, from RMB1,285.6 million as of December 31, 2018 to RMB2,426.9 million (US$348.6 million) as of December 31, 2019.

 

 124 

 

 

Loans and advances, net decreased from RMB2,328.7 million as of December 31, 2017 to RMB1,903.9 million as of December 31, 2018. The decrease was primarily due to a decrease in loans receivable from RMB2,113.6 million as of December 31, 2017 to RMB1,388.6 million as of December 31, 2018. The decrease in loans receivable was primarily due to reduced take rate of on-balance sheet loans as a result of our change of cooperation arrangements with institutional funding partners.

 

Payable to Institutional Funding Partners and Online Investors

 

Payable to institutional funding partners and online investors decreased significantly from RMB2,186.8 million as of December 31, 2017 to RMB1,455.4 million as of December 31, 2018 and further decreased to RMB340.5 million (US$48.9 million) as of December 31, 2019, primarily because the decrease of the balance of our on-balance sheet loans.

 

Current Account with Online Investors and Borrowers

 

Current account with online investors represents idle funds in online investors’ accounts that have not yet been invested, withdrawn or funded to borrowers; current account with online borrowers on our platform represents loan proceeds in borrowers’ accounts that have not yet been withdrawn and deposits we receive from borrowers. Current account with online investors and borrowers increased from RMB1,883.4 million as of December 31, 2017 to RMB2,005.6 million as of December 31, 2018. The increase was due to an increase in idle funds in our online investors’ accounts which were not invested. Current account with online investors and borrowers decreased from RMB2,005.6 million as of December 31, 2018 to RMB1,275.2 million (US$183.2 million) as of December 31, 2019. The decrease was due to a decrease in loan volume and investment amount.

 

Recent Accounting Pronouncements

 

As a company with less than US$1.07 billion in revenue for the last fiscal year, we qualify as an “emerging growth company” pursuant to the Jumpstart Our Business Startups Act of 2012, the “JOBS Act”. An emerging growth company may take advantage of specified reduced reporting and other requirements that are otherwise applicable generally to public companies. These provisions include a provision that an emerging growth company does not need to comply with any new or revised financial accounting standards until such date that a private company is otherwise required to comply with such new or revised accounting standards. We will take advantage of the extended transition period.

 

Recently Adopted Accounting Standards

 

In May 2014, the FASB issued ASU No. 2014-09, Revenue from Contracts with Customers (Topic 606), which supersedes the revenue recognition requirements in Topic 605. The core principle of the guidance is that an entity should recognize revenues to depict the transfer of promised goods or services to customers in an amount that reflects the consideration to which the entity expects to be entitled in exchange for those goods or services. We adopted Topic 606 as of January 1, 2019 using the modified retrospective transition method applied to those contracts which were not completed as of January 1, 2019.

 

Accounting Pronouncements Issued But Not Yet Adopted

 

In February 2016, the FASB issued ASU No. 2016-02, Leases (Topic 842). This ASU modifies existing guidance for off-balance sheet treatment of a lessees’ operating leases by requiring lessees to recognize lease assets and lease liabilities, whilst, lessor accounting is largely unchanged. The amendments in this ASU are effective for fiscal years beginning after December 15, 2020, and interim periods within fiscal years beginning after December 15, 2021. We are in the process of evaluating the impact of adoption of this guidance on our consolidated financial statements.

 

 125 

 

 

In June 2016, the FASB issued ASU No. 2016-13, Financial Instruments—Credit Losses (Topic 326): Measurement of Credit Losses on Financial Instruments. This ASU is intended to improve financial reporting by requiring timelier recording of credit losses on loans and other financial instruments held by financial institutions and other organizations. This ASU requires the measurement of all expected credit losses for financial assets held at the reporting date based on historical experience, current conditions, and reasonable and supportable forecasts. This ASU requires enhanced disclosures to help investors and other financial statement users better understand significant estimates and judgments used in estimating credit losses, as well as the credit quality and underwriting standards of the Company’s portfolio. These disclosures include qualitative and quantitative requirements that provide additional information about the amounts recorded in the financial statements. The amendments in this ASU are effective for fiscal years beginning after December 15, 2022, including interim periods within fiscal years beginning after December 15, 2022. In November 2018, the FASB issued ASU No. 2018-19, Codification Improvements to Topic 326, Financial Instruments—Credit Losses, which clarifies that receivables arising from operating leases should be accounted for in accordance with ASC Topic 842, Leases instead of ASC Subtopic 326-20. We are in the process of evaluating the impact of adoption of this guidance on our consolidated financial statements.

 

In June 2018, the FASB issued ASU 2018-07, Compensation—Stock Compensation (Topic 718): Improvements to Nonemployee Share-Based Payment Accounting, which aligns the measurement and classification guidance for share based payments to nonemployees with that for employees, with certain exceptions. It expands the scope of ASC 718 to include share-based payments granted to nonemployees in exchange for goods or services used or consumed in the entity’s own operations and supersedes the guidance in ASC 505-50. The ASU retains the existing cost attribution guidance, which requires entities to recognize compensation cost for nonemployee awards in the same period and in the same manner (i.e., capitalize or expense) as if they paid cash for the goods or services, but it moves the guidance to ASC 718. This standard is effective for fiscal years beginning after December 15, 2019, and interim periods within fiscal years beginning after December 15, 2020. Early adoption is permitted, including in an interim period for which financial statements have not been issued (or made available for issuance), but not before an entity adopts ASC 606. We are in the process of evaluating the impact of adoption of this guidance on our consolidated financial statements.

 

In August 2018, the FASB issued ASU No. 2018-13, Fair Value Measurement (Topic 820): Disclosure Framework—Changes to the Disclosure Requirements for Fair Value Measurement which eliminates, adds and modifies certain disclosure requirements for fair value measurements. The guidance is effective for all entities for fiscal years beginning after December 15, 2019 and for interim periods within those fiscal years, but entities are permitted to early adopt either the entire standard or only the provisions that eliminate or modify the requirements. We are in the process of evaluating the impact of adoption of this guidance on our consolidated financial statements.

 

In December 2019, the FASB issued ASU 2019-12, Income Taxes (Topic 740), a new accounting standard update to simplify the accounting for income taxes. The new guidance removes certain exceptions for recognizing deferred taxes for investments, performing intra period allocation and calculating income taxes in interim periods. It also adds guidance to reduce complexity in certain areas, including recognizing deferred taxes for tax goodwill and allocating taxes to members of a consolidated group. This guidance will be effective for fiscal years beginning after December 15, 2021, and interim periods within fiscal years beginning after December 15, 2022. We are currently evaluating the impact of the new guidance on our consolidated financial statements and related disclosures.

 

B.Liquidity and Capital Resources

 

Cash Flows and Working Capital

 

To date, we have financed our operations primarily through cash generated by our operating activities. As of December 31, 2017, 2018 and 2019, we had RMB1,765.6 million, RMB1,741.9 million and RMB1,075.6 million (US$154.5 million), respectively, in cash and cash equivalents. Our cash and cash equivalents primarily consist of cash and bank deposits. We believe that our current cash and cash equivalents and anticipated cash flows from operating activities will be sufficient to meet our anticipated working capital requirements and capital expenditures for the 12 months following this annual report. We may, however, need additional capital in the future to fund our continued operations. If we determine that our cash requirements exceed the amount of cash and cash equivalents we have on hand at the time, we may seek to issue equity or debt securities or obtain credit facilities. The issuance and sale of additional equity would result in further dilution to our shareholders. The incurrence of indebtedness would result in increased fixed obligations and could result in operating covenants that might restrict our operations. We cannot assure you that financing will be available in amounts or on terms acceptable to us, if at all.

 

 126 

 

 

 

Although we consolidate the results of Weidai Financial Information, we only have access to the assets or earnings of Weidai Financial Information through our contractual arrangements with Weidai Financial Information and its shareholders. See “Item 4. Information on the Company — C. Organizational Structure .” For restrictions and limitations on liquidity and capital resources as a result of our corporate structure, see “— Holding Company Structure.”

 

Substantially all of our future revenues are likely to continue to be in the form of Renminbi. Under existing PRC foreign exchange regulations, payments of current account items, including profit distributions, interest payments and trade and service-related foreign exchange transactions, can be made in foreign currencies without prior SAFE approval as long as certain routine procedural requirements are fulfilled. Therefore, our PRC subsidiary is allowed to pay dividends in foreign currencies to us without prior SAFE approval by following certain routine procedural requirements. However, current PRC regulations permit our PRC subsidiary to pay dividends to us only out of its accumulated profits, if any, determined in accordance with Chinese accounting standards and regulations. Our PRC subsidiary is required to set aside at least 10% of its after-tax profits after making up previous years’ accumulated losses each year, if any, to fund certain reserve funds until the total amount set aside reaches 50% of its registered capital. These reserves are not distributable as cash dividends. Furthermore, capital account transactions, which include foreign direct investment and loans, must be approved by and/or registered with SAFE and its local branches. See “Item 3. Key Information — D. Risk Factors — Risks Relating to Doing Business in China — Governmental control of currency conversion may limit our ability to utilize our net revenues effectively and affect the price of our ADSs.”

 

The following table sets forth a summary of our cash flows for the periods presented:

 

   Year Ended December 31, 
   2017   2018   2019 
   RMB   RMB   RMB   US$ 
   (in thousands) 
Net cash provided by operating activities   2,284,077    1,214,774    887,112    127,427 
Net cash used in investing activities   (2,941,921)   (6,468)   (922,049)   (132,445)
Net cash provided (used in) by financing activities   2,205,523    (686,883)   (1,130,093)   (162,319)
Net increase (decrease) in cash, cash equivalents and restricted cash   1,547,679    518,723    (1,164,840)   (167,319)
Cash, cash equivalents and restricted cash at the beginning of the year   1,314,814    2,862,493    3,381,216    485,681 
Cash, cash equivalents and restricted cash at the end of the year   2,862,493    3,381,216    2,216,376    318,362 

 

Operating Activities

 

Net cash provided by operating activities was RMB887.1 million (US$127.4 million) in 2019, which was primarily due to net income of RMB263.2 million (US$37.8 million), adjusted for (i) provision for loans and advances of RMB1,240.0 million (US$178.1 million), (ii) share-based compensation expenses of RMB64.8 million (US$9.3 million), and (iii) depreciation and amortization of RMB42.6 million (US$6.1 million), partially offset by changes in working capital. Changes in working capital primarily consisted of  (i) a decrease in current account with online investors and borrowers of RMB730.4 million (US$104.9 million), (ii) a decrease in deferred tax asset of RMB260.1 million (US$37.4 million), (iii) an increase in income tax payable of RMB166.4 million (US$23.9 million), (iv) a decrease of accrued expenses and other liabilities of RMB115.0 million (US$16.5 million), (v) an increase of prepaid expenses and other assets of RMB110.0 million (US$15.8 million), and (vi) an increase in deferred revenue and contract liabilities of RMB105.7 million (US$15.2 million).

 

Net cash provided by operating activities was RMB1,214.8 million in 2018, which was primarily due to net income of RMB604.3 million, adjusted for (i) provision for loans and advances of RMB751.6 million, (ii) share-based compensation expenses of RMB106.6 million, and (iii) depreciation and amortization of RMB42.4 million, partially offset by changes in working capital. Changes in working capital primarily consisted of  (i) a decrease in income tax payable of RMB172.7 million, (ii) an increase in deferred tax asset of RMB171.2 million, and (iii) an increase in current account with online investors and borrowers of RMB122.2 million.

 

 127 

 

 

Net cash provided by operating activities was RMB2,284.1 million in 2017, which was primarily due to net income of RMB474.8 million, adjusted for (i) provision for loans and advances of RMB484.1 million, (ii) share-based compensation expenses of RMB40.7 million, (iii) depreciation and amortization of RMB12.7 million, and (iv) changes in working capital. Adjustments for changes in working capital primarily consisted of  (i) an increase in current account with online investors and borrowers of RMB993.3 million, (ii) an increase in accrued expenses and other liabilities of RMB231.1 million, and (iii) an increase in income tax payable of RMB131.9 million. These increases were partially offset by an increase in deferred tax assets of RMB124.9 million.

 

Investing Activities

 

Net cash used in investing activities was RMB922.0 million (US$132.4 million) in 2019, which was primarily attributable to (i) RMB11,053.9 million (US$1,587.8 million) in payments to originate loans and advances, which was partially offset by RMB10,150.4 million (US$1,458.0 million) in proceeds from collection of loans and advances.

 

Net cash used in investing activities was RMB6.5 million in 2018, which was primarily attributable to (i) RMB7.4 billion in payments to originate loans and advances, (ii) RMB3.7 billion in purchase of short-term investments, and (iii) RMB1.5 billion in addition of long-term investments, which was partially offset by (i) RMB7.1 billion in proceeds from collection of loans and advances, (ii) RMB3.7 billion in redemption of short-term investments, and (iii) RMB1.6 billion in redemption of long-term investments.

 

Net cash used in investing activities was RMB2,941.9 million in 2017, which was primarily attributable to (i) RMB11,423.8 million in purchase of short-term investments, and (ii) RMB6,885.3 million in payments to originate loans and advances, which was partially offset by (i) RMB11,415.3 million in redemption of short-term investments, and (ii) RMB4,360.3 million in proceeds from collection of loans and advances.

 

Financing Activities

 

Net cash used in financing activities was RMB1,130.1 million (US$162.3 million) in 2019, which was primarily attributable to payments to institutional funding partners and online investors.

 

Net cash used in financing activities was RMB686.9 million in 2018, which was primarily attributable to RMB4.2 billion in payments to institutional funding partners and online investors, which was partially offset by RMB3.4 billion in proceeds from institutional funding partners and online investors.

 

Net cash provided by financing activities was RMB2,205.5 million in 2017, which was primarily attributable to (i) RMB4,627.1 million in proceeds from institutional funding partners and online investors and (ii) RMB200.0 million in proceeds from short-term borrowings, which was partially offset by (i) RMB2,587.3 million in payments to institutional funding partners and online investors, and (ii) RMB32.2 million in payments of dividends to our shareholders.

 

Capital Expenditures

 

We made capital expenditures of RMB62.4 million, RMB32.6 million and RMB22.4 million (US$3.2 million) in 2017, 2018 and 2019, respectively. In these periods, our capital expenditures were mainly used for the purchase of equipment, automobiles and software. We will continue to make capital expenditures to meet the expected growth of our business.

 

 128 

 

 

Holding Company Structure

 

Weidai Ltd. is a holding company with no material operations of its own. We conduct our operations primarily through our PRC subsidiary, our variable interest entities and subsidiaries of our variable interest entities in China. As a result, Weidai Ltd.’s ability to pay dividends depends upon dividends paid by our PRC subsidiary. If our existing PRC subsidiary or any newly formed ones incur debt on their own behalf in the future, the instruments governing their debt may restrict their ability to pay dividends to us. In addition, our PRC subsidiary is permitted to pay dividends to us only out of its retained earnings, if any, as determined in accordance with PRC accounting standards and regulations. Under PRC law, each of our PRC subsidiary and variable interest entities is required to set aside at least 10% of its after-tax profits each year, if any, to fund certain statutory reserve funds until such reserve funds reach 50% of its registered capital. In addition, our PRC subsidiary may allocate a portion of its after-tax profits based on PRC accounting standards to enterprise expansion funds and staff bonus and welfare funds at its discretion, and our variable interest entities may allocate a portion of its after-tax profits based on PRC accounting standards to a discretionary surplus fund at its discretion. The statutory reserve funds and the discretionary funds are not distributable as cash dividends. Remittance of dividends by a wholly foreign-owned company out of China is subject to examination by the banks designated by SAFE. Our PRC subsidiary has not paid any dividends and will not be able to pay dividends until it generates accumulated profits and meet the requirements for statutory reserve funds.

 

C.Research and Development, Patents, and Licenses, etc.

 

See “Item 4. Information On the Company — B. Business Overview — Technology and Risk Management” and “Item 4. Information On the Company — B. Business Overview — Intellectual Property.”

 

D.Trend Information

 

Other than as disclosed elsewhere in this annual report, we are not aware of any trends, uncertainties, demands, commitments or events for the year ended December 31, 2019 that are reasonably likely to have a material and adverse effect on our net revenues, income, profitability, liquidity or capital resources, or that would cause the disclosed financial information to be not necessarily indicative of future results of operations or financial conditions.

 

E.Off-Balance Sheet Commitments and Arrangements

 

We are obligated to compensate a portion of our institutional funding partners for delinquent principal and interest payments in the event of borrower default. In addition, we also voluntarily provide guarantee to online investors who opt to participate in the asset management arrangement. Under each of these arrangements, we bear credit risks of loans we facilitate. We have not entered into any derivative contracts that are indexed to our shares and classified as shareholder’s equity or that are not reflected in our consolidated financial statements. Furthermore, we do not have any retained or contingent interest in assets transferred to an unconsolidated entity that serves as credit, liquidity or market risk support to such entity. We do not have any variable interest in any unconsolidated entity that provides financing, liquidity, market risk or credit support to us or engages in leasing, hedging or product development services with us.

 

F.Tabular Disclosure of Contractual Obligations

 

The following table sets forth our contractual obligations as of December 31, 2019:

 

   Total   Less than one year   1-3 years   3-5 years   More than five
year
 
   RMB   US$   RMB   US$   RMB   US$   RMB   US$   RMB   US$ 
   (in thousands) 
Operating Lease Obligations   84,770    12,176    59,420    8,534    24,724    3,552    471    68    155    22 
Capital and other
commitments
   27,200    3,907    13,900    1,997    13,300    1,910    -    -    -    - 

 

 129 

 

 

Our operating lease obligations relate to our leases of office premises. We lease certain office premises under non-cancelable operating lease arrangements. Rental expenses under operating leases for 2017, 2018 and 2019 were RMB107.9 million, RMB131.8 million and RMB105.0 million (US$15.1 million), respectively.

 

Other than those shown above, we did not have any significant capital and other commitments, long-term obligations, or guarantees as of December 31, 2019.

 

  G. Safe Harbor

 

See “Forward-Looking Statements” on page 3 of this annual report.

 

ITEM 6. DIRECTORS, SENIOR MANAGEMENT AND EMPLOYEES

 

A.Directors and Senior Management

 

The following table sets forth information regarding our directors and executive officers as of the date of this annual report.

 

Directors and Executive Officers  Age   Position/Title
Hong Yao  40   Founder, chairman of the board of directors and chief executive officer
Feng Chen  44   Director, Chief financial officer and vice president of sales operations
Yuqun Sun  40   Director
Desheng Ding  38   Director and vice president of finance and risk management, Chief risk officer
Tony Cai  53   Independent Director
Poi Lam William Yuen  53   Independent Director
Pengfei Wang  38   Vice president of brand development, strategy and compliance
Jianzhong Zhu  41   Vice president of technology, research and development

 

Mr. Hong Yao is our founder and the chairman of our board of directors and has served as our chief executive officer since our inception in 2011. Mr. Yao has over 13 years of experience in China’s small and micro enterprise sector. Mr. Yao has received various industry awards and accolades, including the “2014 New Zhejiang Merchants Award”, from Zhejiang Youth Entrepreneurs’ Association, Youth Times and Xinhua News Agency and the “2017 Top Ten Finance Innovation Award” from Zhejiang Online News Network. Mr. Yao received his bachelor’s degree in computer applications and maintenance from Zhejiang Business College in 2000 and his EMBA degree from China Europe International Business School in 2015.

 

Mr. Feng Chen has served as our director since March 2018, our vice president of finance and risk management from 2015 to January 2018, our president since October 2018 and our chief financial officer since July 2019. Prior to joining us, Mr. Chen served as chief financial officer and vice president of Greentown E-commerce, an online platform for construction materials, from 2014 to 2015 and as chief financial officer and vice president of Fullerton Investment & Credit Guarantee Co. Ltd. from 2013 to 2014. Mr. Chen was special assistant to vice-chairman of Bank of Chengdu from 2012 to 2013 and financial controller of Tianjin Rural Commercial Bank Co., Ltd. from 2010 to 2012. Prior to 2010, Mr. Chen served as a senior manager of Deloitte Consulting LLP, a director of SAS Institute Inc., a manager of BearingPoint, Inc. and a manager of Ernst & Young LLP. Mr. Chen received his bachelor’s degree in economics from Shenzhen University in 1998. Mr. Chen is a certified public accountant in China and Australia and a certified tax agent in China.

 

Ms. Yuqun Sun has served as our director since March 2018. Ms. Sun served as our vice president of human resources from 2014 to 2019. Prior to joining us, Ms. Sun served as director of executive office and chief operating officer of Greentown E-commerce from 2011 to 2014. From 2009 to 2011, Ms. Sun worked as branch manager and senior product manager of the China division of Best Buy Co., Inc., a consumer electronics corporation listed on the New York Stock Exchange (NYSE: BBY). From 2001 to 2008, Ms. Sun served as general manager and senior manager of public affairs of the China branch of Tesco, a grocery and general merchandise retailer listed on the London Stock Exchange (LSE: TSCO). Ms. Sun received her bachelor’s degree in business administration from Zhejiang Gongshang University in 2006.

 

 130 

 

 

Mr. Desheng Ding has served as our director since March 2018 and has been our vice president of sales operations from 2015 to January 2018 and our vice president of finance and risk management since January 2018. Prior to joining us, Mr. Ding served as a department manager of Bank of Ningbo’s Hangzhou branch from 2008 to 2015, a business director of Industrial Bank, Co., Ltd.’s cardholder center from 2005 to 2008 and a client manager of China Merchants Bank’s Shenzhen Branch from 2004 to 2005. Mr. Ding received his bachelor’s degree in business administration from Beijing Mingyuan University in 2004 and his master’s degree in software engineering from East China Normal University in 2011.

 

Prof. Tony Cai has served as our independent director since November 14, 2018. Professor Cai is a Vice Dean and a Dorothy Silberberg Professor of Statistics at the Wharton School of the University of Pennsylvania, where he focuses his research on big data analytics, including high-dimensional data analysis, statistical machine learning, large-scale multiple testing, functional data analysis, statistical decision theory, as well as applications to genomics, and financial engineering. Professor Cai is a member of the editorial board of the journal of Annals of Statistics and has served on the editorial boards of many other academic journals. He received the COPSS Presidents’ Award from the Committee of Presidents of Statistical Societies in 2008 and was elected to the presidency of International Chinese Statistical Association (ICSA) in 2017. Professor Cai has received numerous research grants, including consecutive research grants from National Science Foundation (NSF) since 2000, multi-year research grants from National Institutes of Health (NIH) in 2012 and 2017 and a grant from Wharton School Global Initiatives in 2016. Professor Cai received his bachelor’s degree in science from Shanghai Jiao Tong University in 1989 and his Ph.D. degree in statistics from Cornell University in 1996.

 

Mr. Poi Lam William Yuen has served as our independent director since November 14, 2018. Mr. Yuen has been the chief financial officer and the company secretary of Neo Telemedia Limited (“NTL”), an information and communication technology company listed on the Hong Kong Stock Exchange (HKSE: 8167), since 2016 and 2017, respectively. Mr. Yuen also served as NTL’s company secretary from 2011 to 2014 and consultant from 2014 to 2016. From 2016 to 2017, Mr. Yuen was an independent non-executive director of Ever Smart International Holdings Limited, a footwear design and development company listed on the Hong Kong Stock Exchange (HKSE: 8187). From 2015 to 2016, Mr. Yuen served as the company secretary of Kong Shum Union Property Management Holdings Limited, a property management company listed on the Hong Kong Stock Exchange (HKSE: 8181). From 2010 to 2012, Mr. Yuen served as the chief financial officer of Superb Summit International Group Limited, a timber resources exploitation and management company listed on the Hong Kong Stock Exchange (HKSE: 1228). From 2008 to 2010, Mr. Yuen served as the chief financial officer of China E-Learning Group Limited, an online-training provider listed on the Hong Kong Stock Exchange (HKSE: 8055). Prior to that, Mr. Yuen served in various capacities in leading international accounting firms, including senior manager — global capital markets group of Ernst & Young in Hong Kong, audit senior manager of Ernst & Young in Los Angeles, audit senior manager of Deloitte & Touche in Los Angeles and audit manager of KPMG in Hong Kong. Mr. Yuen received his bachelor’s degree in accounting from the University of Southern California in 1990. He is a member of the American Institute of Certified Public Accountants and the Hong Kong Institute of Certified Public Accountants. He is a certified public accountant in the state of California and a Chartered Global Management Accountant.

 

Mr. Pengfei Wang has served as our vice president of brand development, strategy and compliance since 2015. Prior to joining us, Mr. Wang was the general manager of Hangzhou’s Gongbei branch of Bank of China from 2012 to 2014 and the general manager of Hangzhou’s Hushu branch of Bank of China from 2008 to 2012. Mr. Wang received his bachelor’s degree in chemical science from Nanjing Tech University in 2004 and his master’s degree in business administration from Zhejiang University in 2011.

 

Mr. Jianzhong Zhu has served as our vice president of technology, research and development since 2016. Prior to joining us, Mr. Zhu was a system architect at IBM Global Business Services from 2012 to 2014, Taobao from 2008 to 2012 and Alibaba Group Holding Limited (NYSE:BABA) from 2006 to 2007. Mr. Zhu is a member of the National Committee of Experts on the Internet Financial Security Technology. Mr. Zhu received his bachelor’s degree in software engineering from Zhejiang University in 2007.

 

 131 

 

 

B.Compensation

 

In 2019, we paid an aggregate of approximately RMB9.0 million (US$1.3 million) in cash to our executive officers and directors. We have not set aside or accrued any amount to provide pension, retirement or other similar benefits to our executive officers and directors. Our PRC subsidiary and our variable interest entities are required by law to make contributions equal to certain percentages of each employee’s salary for his or her pension insurance, medical insurance, unemployment insurance and other statutory benefits and a housing provident fund.

 

Employment Agreements and Indemnification Agreements

 

We have entered into employment agreements with each of our executive officers. Under these agreements, each of our executive officers is employed for a specified time period. We may terminate employment for cause, at any time, without advance notice or remuneration, for certain acts of the executive officer, such as conviction or plea of guilty to a felony or any crime involving moral turpitude, negligent or dishonest acts to our detriment, or misconduct or a failure to perform agreed duties. We may also terminate an executive officer’s employment without cause upon three-month advance written notice. In such case of termination by us, we will provide severance payments to the executive officer as expressly required by applicable law of the jurisdiction where the executive officer is based. The executive officer may resign at any time with a three-month advance written notice.

 

Each executive officer has agreed to hold, both during and after the termination or expiry of his or her employment agreement, in strict confidence and not to use, except as required in the performance of his or her duties in connection with the employment or pursuant to applicable law, any of our confidential information or trade secrets, any confidential information or trade secrets of our clients or prospective clients, or the confidential or proprietary information of any third party received by us and for which we have confidential obligations. The executive officers have also agreed to disclose in confidence to us all inventions, designs and trade secrets which they conceive, develop or reduce to practice during the executive officer’s employment with us and to assign all right, title and interest in them to us, and assist us in obtaining and enforcing patents, copyrights and other legal rights for these inventions, designs and trade secrets.

 

In addition, each executive officer has agreed to be bound by non-competition and non-solicitation restrictions during the term of his or her employment and typically for one year following the last date of employment. Specifically, each executive officer has agreed not to (i) approach our suppliers, clients, customers or contacts or other persons or entities introduced to the executive officer in his or her capacity as a representative of us for the purpose of doing business with such persons or entities that will harm our business relationships with these persons or entities; (ii) assume employment with or provide services to any of our competitors, or engage, whether as principal, partner, licensor or otherwise, any of our competitors, without our express consent; or (iii) seek directly or indirectly, to solicit the services of any of our employees who is employed by us on or after the date of the executive officer’s termination, or in the year preceding such termination, without our express consent.

 

We have entered into indemnification agreements with each of our directors and executive officers. Under these agreements, we may agree to indemnify our directors and executive officers against certain liabilities and expenses incurred by such persons in connection with claims made by reason of their being a director or officer of our company.

 

Share Incentive Plans

 

Share Incentive Plan of Weidai Financial Information

 

On December 18, 2015, the board of Weidai Financial Information approved the Virtual Share Plan for the purpose of providing incentives and rewards to certain of its employees and executives. In 2016, 2017 and 2018, Weidai Financial Information issued a total of nil, 2.72% and 2.13%, respectively, of the equity interest under the Virtual Share Plan. These virtual share options have no exercise price and will be cash settled at the amount equal to the differences between the fair value on the exercise date and the fair value on the grant date. 33%, 33% and 34% of these options are vested on the second, third and fourth anniversary of the vesting commencement date, respectively. The vested virtual share options are exercisable within five years from the grant date. These virtual share options are in substance stock appreciation rights, which are classified as liability awards. At our discretion, each grantee may receive certain percentage of annual attributable net profit as annual dividend, which is also settled in cash. In addition, each grantee has an option to purchase Weidai Financial Information’s shares when the grantee’s accumulated number of virtual shares granted exceed 0.1% of Weidai Financial Information’s total paid-in-capital. The purchase price will be determined by us. On October 1, 2018, we modified the stock appreciation rights by replacing the cash-settlement feature with a net share settlement feature, which converted the award from a liability award to an equity award because we no longer had an obligation to transfer cash to settle the arrangement. All of the outstanding virtual share options were exchanged for 1,349,367 restricted shares of our company with no other terms or conditions changed. The Virtual Share Plan was terminated upon October 1, 2018. See “Item 5. — Operating and Financial Review and Prospects — A. Operating Results — Critical Accounting Policies, Judgments and Estimates — Share-based Compensation” for more detail.

 

 132 

 

 

Share Incentive Plan of Our Company

 

In August 2018, our board of directors approved our 2018 share incentive plan, or the 2018 Plan, to provide incentives to employees, directors and consultants and promote the success of our business. The maximum number of ordinary shares that may be issued under the 2018 Plan is 3,300,000 after giving effect to the 50-for-1 share split effected by us in September 2018. As of March 31, 2020, there are 1,179,151 outstanding share incentive awards under the 2018 Plan.

 

The following paragraphs describe the principal terms of the 2018 Plan:

 

Type of Awards. The 2018 Plan permits the awards of options, restricted shares, restricted share units or any other type of awards that the plan administrator decides.

 

Plan Administration. Our board of directors or the chairman of the board of directors will administer the 2018 Plan. The chairman or the board of directors, as applicable, will determine the participants to receive awards, the type and number of awards to be granted to each participant, and the terms and conditions of each award grant.

 

Award Agreement. Awards granted under the 2018 Plan are evidenced by an award agreement that sets forth terms, conditions and limitations for each award, which may include the term of the award, the provisions applicable in the event of the grantee’s employment or service terminates, and our authority to unilaterally or bilaterally amend, modify, suspend, cancel or rescind the award.

 

Eligibility. We may grant awards to directors, officers, employees and consultants of our company or any of our subsidiaries.

 

Vesting Schedule. In general, the plan administrator determines the vesting schedule, which is specified in the relevant award agreement.

 

Exercise of Options. The plan administrator determines the exercise price for each award, which is stated in the award agreement. The vested portion of option will expire if not exercised prior to the time as the plan administrator determines at the time of its grant. However, the maximum exercisable term is ten years from the date of a grant.

 

Transfer Restrictions. Awards may not be transferred in any manner by the recipient other than by will or the laws of descent and distribution, except as otherwise provided by the plan administrator.

 

Termination and Amendment. Unless terminated earlier, the 2018 Plan has a term of ten years. Our board of directors has the authority to amend or terminate the 2018 Plan. However, no such action may adversely affect in any material way any awards previously granted unless agreed by the recipient.

 

The following table summarizes options and restricted share units that we have granted to our directors, officers and employees under our 2018 share incentive plan as of March 31, 2020.

 

Name  Ordinary Shares Underlying Options Awarded   Exercise Price (US$/Share)   Date of Grant  Date of Expiration
Feng Chen   *    1   February 1, 2019  January 31, 2029
Yuqun Sun   *    1   February 1, 2019  January 31, 2029
Desheng Ding   *    1   February 1, 2019  January 31, 2029
Jianzhong Zhu   *    1   February 1, 2019  January 31, 2029
Other individuals as a group   979,151   1   January 1, 2019 to January 1, 2020  December 31, 2028 to December 31, 2029

 

 133 

 

 

Name  Ordinary Shares
Underlying Restricted
Stocks Awarded
  Date of Grant
Tony Cai  *  January 1, 2019
Poi Lam William Yuen  *  January 1, 2019

 

 

*Upon exercise of all options granted and vesting restricted share units granted, would beneficially own less than 1% of our outstanding ordinary shares.

 

C.Board Practices

 

Our board of directors consists of six directors. A director is not required to hold any shares in our company to qualify to serve as a director. A director may vote with respect to any contract, proposed contract or arrangement notwithstanding that he may be interested therein, and if he does so his vote shall be counted and he may be counted in the quorum at any meeting of our directors at which any such contract or proposed contract or arrangement is considered, provided (a) such director, if his interest (whether direct or indirect) in such contract or arrangement is material, has declared the nature of his interest at the earliest meeting of the board at which it is practicable for him to do so, either specifically or by way of a general notice and (b) if such contract or arrangement is a transaction with a related party, such transaction has been approved by the audit committee. The directors may exercise all the powers of the company to borrow money, to mortgage or charge its undertaking, property and uncalled capital, and to issue debentures or other securities whenever money is borrowed or as security for any debt, liability or obligation of the company or of any third party. None of our non-executive directors has a service contract with us that provides for benefits upon termination of service.

 

A company of which more than 50% of the voting power is held by a single entity is considered a “controlled company” under the New York Stock Exchange Listed Company Manual. A controlled company need not comply with the applicable NYSE corporate governance rules requiring its board of directors to have a majority of independent directors and independent compensation and nominating committees. Because more than 50% of the voting power in the election of directors of our company is held by Mr. Hong Yao, we qualify as a controlled company under the New York Stock Exchange Listed Company Manual and avail ourselves of the controlled company exception provided under those rules. In the event that we are no longer a controlled company, a majority of our board of directors will be required to be independent and it will be necessary for us to have compensation and nominating committees that are composed entirely of independent directors, subject to a phase-in period during the first year we cease to be a controlled company, unless we invoke the home country exception to such requirement available to foreign private issuers, such as us, under the New York Stock Exchange Listed Company Manual.

 

Committees of the Board of Directors

 

We have established three committees under the board of directors: an audit committee, a compensation committee and a nominating and corporate governance committee. We have adopted a charter for each of the three committees. Each committee’s members and functions are described below.

 

Audit Committee. Our audit committee consists of Poi Lam William Yuen and Tony Cai. Poi Lam William Yuen is the chairman of our audit committee. We have determined that each of Poi Lam William Yuen and Tony Cai satisfies the “independence” requirements of Section 303A of the Corporate Governance Rules of the New York Stock Exchange and Rule 10A-3 under the Securities Exchange Act of 1934, as amended. We have determined that Poi Lam William Yuen qualifies as an “audit committee financial expert.” The audit committee oversees our accounting and financial reporting processes and the audits of the financial statements of our company. The audit committee is responsible for, among other things:

 

 134 

 

 

·appointing the independent auditors and pre-approving all auditing and non-auditing services permitted to be performed by the independent auditors;

 

·reviewing with the independent auditors any audit problems or difficulties and management’s response;

 

·discussing the annual audited financial statements with management and the independent auditors;

 

·reviewing the adequacy and effectiveness of our accounting and internal control policies and procedures and any steps taken to monitor and control major financial risk exposures;

 

·reviewing and approving all proposed related party transactions;

 

·meeting separately and periodically with management and the independent auditors; and

 

·monitoring compliance with our code of business conduct and ethics, including reviewing the adequacy and effectiveness of our procedures to ensure proper compliance.

 

Compensation Committee. Our compensation committee consists of Hong Yao, Yuqun Sun and Tony Cai. Hong Yao is the chairman of our compensation committee. We have determined that Tony Cai satisfies the “independence” requirements of Section 303A of the Corporate Governance Rules of the New York Stock Exchange. The compensation committee assists the board in reviewing and approving the compensation structure, including all forms of compensation, relating to our directors and executive officers. Our chief executive officer may not be present at any committee meeting during which his compensation is deliberated. The compensation committee is responsible for, among other things:

 

·reviewing and approving, or recommending to the board for its approval, the compensation for our chief executive officer and other executive officers;

 

·reviewing and recommending to the board for determination with respect to the compensation of our non-employee directors;

 

·reviewing periodically and approving any incentive compensation or equity plans, programs or similar arrangements; and

 

·selecting compensation consultant, legal counsel or other advisers only after taking into consideration all factors relevant to that person’s independence from management.

 

Nominating and Corporate Governance Committee. Our nominating and corporate governance committee consists of Hong Yao, Yuqun Sun and Tony Cai. Hong Yao is the chairman of our nominating and corporate governance committee. Tony Cai satisfies the “independence” requirements of Section 303A of the Corporate Governance Rules of the New York Stock Exchange. The nominating and corporate governance committee assists the board of directors in selecting individuals qualified to become our directors and in determining the composition of the board and its committees. The nominating and corporate governance committee is responsible for, among other things:

 

·selecting and recommending nominees for election by the shareholders or appointment by the board;

 

·reviewing annually with the board the current composition of the board with regards to characteristics such as independence, knowledge, skills, experience and diversity;

 

·making recommendations on the frequency and structure of board meetings and monitoring the functioning of the committees of the board; and

 

 135 

 

 

·advising the board periodically with regards to significant developments in the law and practice of corporate governance as well as our compliance with applicable laws and regulations, and making recommendations to the board on all matters of corporate governance and on any remedial action to be taken.

 

Duties of Directors

 

Under Cayman Islands law, our directors owe fiduciary duties to our company, including a duty of loyalty, a duty to act honestly and a duty to act in what they consider in good faith to be in our best interests. Our directors must also exercise their powers only for a proper purpose. A director must exercise the skill and care of a reasonably diligent person having both – (a) the general knowledge, skill and experience that may reasonably be expected of a person in the same position (an objective test), and (b) if greater, the general knowledge, skill and experience that that director actually possesses (a subjective test). In fulfilling their duty of care to us, our directors must ensure compliance with our memorandum and articles of association, as amended and restated from time to time, and the class rights vested thereunder in the holders of the shares. Our company has the right to seek damages if a duty owed by our directors is breached. A shareholder may in certain limited exceptional circumstances have the right to seek damages in our name if a duty owed by the directors is breached.

 

Our board of directors has all the powers necessary for managing, and for directing and supervising, our business affairs. The functions and powers of our board of directors include, among others:

 

·convening shareholders’ annual and extraordinary general meetings;

 

·declaring dividends and distributions;

 

·appointing officers and determining the term of office of the officers;

 

·exercising the borrowing powers of our company and mortgaging the property of our company; and

 

·approving the transfer of shares in our company, including the registration of such shares in our register of members.

 

Terms of Directors and Officers

 

Our directors may be elected by a resolution of our board of directors, or by an ordinary resolution of our shareholders. Our directors are not subject to a term of office and hold office until such time as they are removed from office by ordinary resolution of the shareholders. A director will cease to be a director if, among other things, the director (i) becomes bankrupt or makes any arrangement or composition with his creditors; (ii) dies or is found by our company to be or becomes of unsound mind, (iii) resigns his office by notice in writing to the company, or (iv) without special leave of absence from our board, is absent from three consecutive board meetings and our directors resolve that his office be vacated. Our officers are elected by and serve at the discretion of the board of directors.

 

D.Employees

 

We had 11,847, 9,919 and 6,970 full-time employees as of December 31, 2017, December 31, 2018 and December 31, 2019, respectively. All of our employees are located in China. The following table sets forth the numbers of our full-time employees categorized by function as of December 31, 2019:

 

   As of December 31, 2019 
   Number   % of Total Employees 
Functions:        
Operations   6,346    91.0 
Risk Management   306    4.4 
Online Investor Operations   68    1.0 
Technology   141    2.0 
General and Administration   109    1.6 
Total number of employees   6,970    100.0 

 

 136 

 

 

As required by laws and regulations in China, we participate in various employee social security plans that are organized by municipal and provincial governments, including, among other things, housing, pension, medical insurance and unemployment insurance. We are required under PRC laws to make contributions to employee benefit plans at specified percentages of the salaries, bonuses and certain allowances of our employees, up to a maximum amount specified by the local government from time to time.

 

We enter into standard employment, confidentiality and non-compete agreements with our senior management and key personnel. These contracts include a standard non-compete covenant that prohibits the employee from competing with us, directly or indirectly, during his employment and for two years after the termination of his employment, provided that we pay compensation equal to a certain percentage of the employee’s salary during the restriction period. We believe that we maintain a good working relationship with our employees.

 

We also engage certain dispatched workers from independent third-party professional employment agencies, who primarily provide collection and call center services. As of the date of this annual report, we have not experienced any business interruption due to this arrangement, and we do not foresee any difficulty in finding any replacement employment agencies.

 

E.Share Ownership

 

Except as specifically noted, the following table sets forth information with respect to the beneficial ownership of our ordinary shares as of March 31, 2020 by:

 

·each of our directors and executive officers; and

 

·each of our principal shareholders who beneficially own more than 5% of our total outstanding ordinary shares.

 

We have adopted a dual class ordinary share structure. The calculations in the table below are based on 70,461,455 ordinary shares outstanding as of March 31, 2020, consisting of 35,390,055 Class A ordinary shares and 35,071,400 Class B ordinary shares.

 

Beneficial ownership is determined in accordance with the rules and regulations of the SEC. In computing the number of shares beneficially owned by a person and the percentage ownership of that person, we have included shares that the person has the right to acquire within 60 days, including through the exercise of any option, warrant or other right or the conversion of any other security. These shares, however, are not included in the computation of the percentage ownership of any other person.

 

    Ordinary Shares Beneficially Owned as of March 31, 2020  
    Class A
ordinary shares
    Class B
ordinary shares
    Total ordinary
shares on an
as-converted
basis
    % of aggregate
voting power†
 
Directors and Executive Officers**:                        
Hong Yao (1)           35,071,400       35,071,400       83.2 %
Feng Chen     *             *       *  
Yuqun Sun     *             *       *  
Desheng Ding     *             *       *  
Tony Cai     *                    
Poi Lam William Yuen     *                    
Pengfei Wang     *             *       *  
Jianzhong Zhu     *             *       *  
All Directors and Executive Officers as a Group     1,263,528       35,071,400       36,339,928       83.8 %
                                 
Principal Shareholders:                        
YAOH WDAI LTD (1)           35,071,400       35,071,400       83.2 %
Hakim Unique Technology Limited (2)     9,953,300             9,953,300       4.7 %

 

 137 

 

 

 

* Less than 1% of our total outstanding shares.

 

** Except as indicated otherwise below, the business address of our directors and executive officers is No. 9 Baiyun Road, Shangcheng District, Hangzhou, Zhejiang Province, People’s Republic of China.

 

† For each person and group included in this column, percentage of voting power is calculated by dividing the voting power beneficially owned by such person or group by the voting power of all of our Class A and Class B ordinary shares as a single class. Each holder of Class A ordinary shares is entitled to one vote per share and each holder of our Class B ordinary shares is entitled to five votes per share on all matters submitted to them for a vote. Our Class A ordinary shares and Class B ordinary shares vote together as a single class on all matters submitted to a vote of our shareholders, except as may otherwise be required by law. Our Class B ordinary shares are convertible at any time by the holder thereof into Class A ordinary shares on a one-for-one basis.

 

(1) Represents 35,071,400 Class B ordinary shares held by YAOH WDAI LTD, a British Virgin Islands company. YAOH WDAI LTD is indirectly wholly owned by a family trust, of which Mr. Hong Yao is the sole beneficiary. The registered address of YAOH WDAI LTD is Sertus Chambers, P.O. Box 905, Quastisky Building, Road Town, Tortola, British Virgin Islands.

 

(2) The registered address of Hakim Unique Technology Limited is Craigmuir Chamers, Road Town, Tortola, VG 1110, British Virgin Islands. Hakim Unique Technology Limited is wholly owned by Hakim Unique internet Co., Ltd., a public company listed on the Shenzhen Stock Exchange.

 

As of March 31, 2020, a total of 7,988,316 Class A ordinary shares are held by two of our shareholders in the United States, representing approximately 11.3% of our total outstanding shares. None of our outstanding Class B ordinary shares are held by record holders in the United States. We are not aware of any arrangement that may, at a subsequent date, result in a change of control of our company.

 

ITEM 7. MAJOR SHAREHOLDERS AND RELATED PARTY TRANSACTIONS

 

A.Major Shareholders

 

Please refer to “Item 6. Directors, Senior Management and Employees — E. Share Ownership.”

 

B.Related Party Transactions

 

Transactions with Mr. Hong Yao, Companies Controlled by Mr. Yao or His Immediate Family Members

 

As of December 31, 2017, 2018 and 2019, we had RMB4.3 million, RMB1.0 million and RMB0.3 million (US$47.1 thousand) due to Mr. Hong Yao, respectively. Such amounts mainly represented Mr. Yao’s investment balance on our platform.

 

 138 

 

 

We derived RMB3.7 million, RMB13.4 million and nil of our revenues from Beijing Lezhihui Technology Co., Ltd., or Beijing Lezhihui, a company controlled by Mr. Hong Yao, relating to our collaboration with Beijing Lezhihui for the facilitation of home equity loans in 2017, 2018 and 2019, respectively.

 

We incurred RMB49.4 million, RMB22.7 million and nil of service fees to Beijing Lezhihui relating to our collaboration with Beijing Lezhihui for the facilitation of home equity loans in 2017, 2018 and 2019, respectively. As of December 31, 2017, 2018 and 2019, we had RMB2.9 million, RMB274.9 thousand and RMB274.9 thousand (US$39.5 thousand) due to Beijing Lezhihui in relation to such collaboration, respectively.

 

In 2017, 2018 and 2019, we incurred service fees in the amounts of nil, RMB5.0 million and nil to Zhejiang Ruituo Information Technology Co., Ltd., or Zhejiang Ruituo Information, a company controlled by Mr. Hong Yao, respectively. Such amount represented service fees for collection of delinquent loans.

 

We incurred RMB99.6 million, nil and nil of partner-operated service centers’ operating costs and expenses to Chunan Wencai Information Advisory Services Company, or Chunan Wencai, our service center operation partner controlled by an immediate family member of Mr. Hong Yao, in 2017, 2018 and 2019, respectively. As of December 31, 2017, 2018 and 2019, we had RMB5.7 million, nil and nil due to Chunan Wencai, respectively.

 

We incurred nil, RMB84.6 million and RMB46.9 million (US$6.7 million) of partner-operated service centers’ operating costs and expenses to certain other companies, which are also our service centers operation partners controlled by immediate family members of Mr. Hong Yao, in 2017, 2018 and 2019, respectively. As of December 31, 2017, 2018 and 2019, we had nil, RMB4.3 million and RMB34.6 thousand (US$5.0 thousand) due to these companies, respectively. As of December 31, 2017, 2018 and 2019, we had nil, nil and RMB8.1 million (US$1.2 million) due from these companies, respectively.

 

In 2017, 2018 and 2019, we incurred service fees in the amounts of RMB20.5 million, RMB6.3 million and nil to Zhejiang Hongrui Investment Management Co., Ltd., or Zhejiang Hongrui, a company controlled by an immediate family member of Mr. Hong Yao, respectively. Such amounts represented service fees for collection of delinquent loans.

 

As of December 31, 2017, 2018 and 2019, we had RMB4.5 million, RMB7.1 million and RMB7.0 million (US$1.0 million) due from Hangzhou Ruituo, a company controlled by Mr. Hong Yao, respectively. Such amounts mainly represented loans provided to Hangzhou Ruituo and receivable from the disposal of automobile collaterals Hangzhou Ruituo of overdue loans.

 

As of December 31, 2017, 2018 and 2019, we had RMB10.1 million, RMB0.7 million and RMB23.7 million (US$3.4 million) due to Hangzhou Ruituo, respectively. Such amounts mainly represented Hangzhou Ruituo’s investment balance on our platform.

 

As of December 31, 2017, 2018 and 2019, we had RMB0.2 million, RMB2.7 million and RMB2.7 million (US$0.4 million) due from Zhejiang Ruituo Nonfinancing Guarantee Co., Ltd., or Zhejiang Ruituo Non-financing, a company controlled by Mr. Hong Yao, respectively. Such amounts mainly represented loans provided to Zhejiang Ruituo Non-financing.

 

We incurred RMB25.3 million, nil and nil of GPS costs to Zhejiang Qunshuo Electronics Co., Ltd. in 2017, 2018 and 2019, respectively, in which Mr. Yao held a minority interest prior to October 10, 2017.

 

We incurred RMB7.9 million, RMB9.6 million and nil of promotion expenses from Weiyi (Hangzhou) Internet Financial Information Service Co., Ltd., a company controlled by Mr. Yao in 2017, 2018 and 2019, respectively.

 

Transactions with Certain Other Members of Our Management, Companies Controlled by Them or Their Immediate Families

 

In addition to our transactions with Mr. Hong Yao, we have engaged in transactions with certain other members of our key management and their immediate families.

 

We derived RMB0.9 million and RMB0.7 million of loan facilitation service fee in 2017 and 2018, and RMB0.3 million (US$39.3 thousand) of loan service fee in 2019 from our key management and their immediate family members, respectively. As of December 31, 2017, 2018 and 2019, we had RMB30.7 million, RMB7.6 million and RMB3.8 million (US$0.6 million) due to our key management and their immediate families, respectively. Such amounts mainly represented their investment balance on our platform.

 

 139 

 

 

We incurred RMB62.5 million, nil and nil of partner-operated service centers’ operating costs and expenses to Chunan Wangcai Information Advisory Services Company, or Chunan Wangcai, our service center operation partner controlled by an immediate family member of Mr. Yuqun Sun, in 2017, 2018 and 2019, respectively. As of December 31, 2017, 2018 and 2019, we had RMB6.2 million, nil and nil due to Chunan Wangcai, respectively.

 

We incurred nil, RMB44.2 million and RMB25.2 million (US$3.6 million) of partner-operated service centers’ operating costs and expenses to certain other companies, which are our service centers operation partners controlled by immediate family members of Ms. Yunqun Sun, in 2017, 2018 and 2019, respectively. As of December 31, 2017, 2018 and 2019, we had nil, RMB4.7 million and RMB39.0 thousand (US$5.6 thousand) due to these companies, respectively. As of December 31, 2017, 2018 and 2019, we had nil, RMB1.3 million and RMB3.4 million (US$0.5 million) due from these companies, respectively.

 

As of December 31, 2017, 2018 and 2019, we had RMB10.0 thousand, RMB10.0 million and nil due from Zhejiang Zhongbo Finance Lease Co., Ltd., or Zhongbo, a company controlled by Mr. Desheng Ding, respectively. Such amount presents loans we provided to Zhongbo to advance to borrowers a certain type of loan product. As of December 31, 2017, 2018 and 2019, we had nil, RMB9.5 million and nil due to Zhongbo, respectively, which represent its custodian account balance on our platform.

 

As of December 31, 2017, 2018 and 2019, we had RMB4.0 million, nil and nil due from Shanghai Zaohui Finance Lease Co., Ltd., or Shanghai Zaohui, a financial leasing company then controlled by Mr. Desheng Ding, respectively. Such amounts mainly represented excess advance payments we made to Shanghai Zaohui for the procurement of automobiles. In June 2018, we, through our wholly owned subsidiary Weidai Hong Kong Limited, acquired all equity interest in Rymo, Shanghai Zaohui’s parent company, for a total consideration of HK$1. The transaction was conducted pursuant to an equity transfer agreement among Weidai Hong Kong Limited. Rymo, Mr. Desheng Ding and Rymo’s other two shareholders. Rymo’s sole operation is to hold equity interests in Shanghai Zaohui.

 

Contractual Arrangements with Weidai Financial Information and Its Shareholders

 

PRC laws and regulations currently restrict foreign ownership and investment in value added telecommunications services in China. As a result, we operate our relevant business through Weidai Financial Information, our variable interest entity, based on a series of contractual arrangements. For a description of these contractual arrangements, see “Item 4. Information on the Company — C. Organizational Structure — Contractual Arrangements with Weidai Financial Information.”

 

Employment Agreements and Indemnification Agreements

 

See “Item 6. Directors, Senior Management and Employees — B. Compensation — Employment Agreements and Indemnification Agreements.”

 

Share Incentive Plan

 

See “Item 6. Directors, Senior Management and Employees — B. Compensation — Share Incentive Plans.”

 

C.Interest of Experts and Counsel

 

Not applicable.

 

ITEM 8. FINANCIAL INFORMATION

 

A.Consolidated Statements and Other Financial Information

 

We have appended consolidated financial statements filed as part of this annual report.

 

 140 

 

 

Legal Proceedings

 

We are currently not a party to any material legal or administrative proceedings. We have been, and may from time to time in the future, be subject to various legal or administrative claims and proceedings arising in the ordinary course of business. Litigation or any other legal or administrative proceeding, regardless of the outcome, is likely to result in substantial cost and diversion of our resources, including our management’s time and attention.

 

Dividend Policy

 

Our board of directors has discretion on whether to distribute dividends, subject to certain restrictions under Cayman Islands law, namely that our company may only pay dividends out of profits or share premium, and provided always that in no circumstances may a dividend be paid if this would result in our company being unable to pay its debts as they fall due in the ordinary course of business. In addition, our shareholders may by ordinary resolution declare a dividend, but no dividend may exceed the amount recommended by our board of directors. Even if our board of directors decides to pay dividends, the form, frequency and amount will depend upon our future operations and earnings, capital requirements and surplus, general financial condition, contractual restrictions and other factors that the board of directors may deem relevant.

 

In 2017, we declared and paid dividends of RMB32.2 million to holders of ordinary shares and preferred shares outstanding as of December 31, 2016.

 

We currently do not have any plan to pay any cash dividends on our ordinary shares in the foreseeable future and intend to retain most, if not all, of our available funds and any future earnings to operate and expand our business.

 

We are a holding company incorporated in the Cayman Islands. We may rely on dividends from our subsidiaries in China for our cash requirements, including any payment of dividends to our shareholders. PRC regulations may restrict the ability of our PRC subsidiary to pay dividends to us. See “Item 4. Information on the Company — B. Business Overview — Regulation  — Regulations on Dividend Distribution” and “Item 10. Additional Information — E. Taxation — People’s Republic of China Taxation.”

 

If we pay any dividends on our ordinary shares, we will pay those dividends which are payable in respect of the ordinary shares underlying our ADSs to the depositary, as the registered holder of such ordinary shares, and the depositary then will pay such amounts to our ADS holders in proportion to the ordinary shares underlying the ADSs held by such ADS holders, subject to the terms of the deposit agreement, including the fees and expenses payable thereunder. See “Item 12. Description of Securities Other Than Equity Securities — Description of American Depositary Shares.” Cash dividends on our ordinary shares, if any, will be paid in U.S. dollars.

 

B.Significant Changes

 

Except as disclosed elsewhere in this annual report, we have not experienced any significant changes since the date of our audited consolidated financial statements included in this annual report.

 

ITEM 9. THE OFFER AND LISTING

 

A.Offering and Listing Details

 

Our ADSs, each representing one of our Class A ordinary shares, have been listed on the NYSE since November 15, 2018. Our ADSs trade under the symbol “WEI.” In 2016, 2017 and 2018, no significant trading suspensions occurred.

 

B.Plan of Distribution

 

Not applicable.

 

C.Markets

 

The principal trading market for our ADSs is the NYSE.

 

 141 

 

 

D.Selling Shareholders

 

Not applicable.

 

E.Dilution

 

Not applicable.

 

F.Expenses of the Issue

 

Not applicable.

 

ITEM 10. ADDITIONAL INFORMATION

 

A.Share Capital

 

Not applicable.

 

B.Memorandum and Articles of Association

 

We are a Cayman Islands exempted company with limited liability and our corporate affairs are governed by our memorandum and articles of association, as amended from time to time and the Companies Law of the Cayman Islands, and the common law of the Cayman Islands.

 

The following are summaries of material provisions of our third amended and restated memorandum and articles of association and the Companies Law insofar as they relate to the material terms of our Class A and Class B ordinary shares.

 

General. Holders of Class A ordinary shares and Class B ordinary shares have the same rights except for voting and conversion rights. All of our outstanding ordinary shares are fully paid and non-assessable. Certificates representing the ordinary shares are issued in registered form. Our shareholders who are non-residents of the Cayman Islands may freely hold and transfer their ordinary shares.

 

Dividends. The holders of our ordinary shares are entitled to such dividends as may be declared by our board of directors. Our third amended and restated articles of association provide that dividends may be declared and paid out of our profits, realized or unrealized, or from any reserve set aside from profits which our board of directors determine is no longer needed. Dividends may also be declared and paid out of share premium account or any other fund or account which can be authorized for this purpose in accordance with the Companies Law. Holders of Class A ordinary shares and Class B ordinary shares will be entitled to the same amount of dividends, if declared.

 

Voting Rights. In respect of all matters subject to a shareholders’ vote, each Class A ordinary share is entitled to one vote, and each Class B ordinary share is entitled to five (5) votes, voting together as one class. Voting at any meeting of shareholders is by show of hands unless a poll is demanded. A poll may be demanded by the chairman of such meeting or any one or more shareholders who together hold not less than 10% of the nominal value of the total issued voting shares of our company present in person or by proxy. An ordinary resolution to be passed at a meeting by the shareholders requires the affirmative vote of a simple majority of the votes attaching to the ordinary shares cast at a meeting, while a special resolution requires the affirmative vote of no less than two-thirds of the votes cast attaching to the outstanding ordinary shares at a meeting. A special resolution will be required for important matters such as a change of name or making changes to our third amended and restated memorandum and articles of association.

 

 142 

 

 

Conversion. Each Class B ordinary share is convertible into one Class A ordinary share at any time at the option of the holder thereof. Class A ordinary shares are not convertible into Class B ordinary shares under any circumstances. Upon any transfer of Class B ordinary shares by a holder to any person or entity which is not an affiliate of such holder, such Class B ordinary shares shall be automatically and immediately converted into the equivalent number of Class A ordinary shares.

 

Transfer of Ordinary Shares. Subject to the restrictions contained in our third amended and restated articles of association, any of our shareholders may transfer all or any of his or her ordinary shares by an instrument of transfer in the usual or common form or any other form approved by our board of directors.

 

Our board of directors may, in its absolute discretion, decline to register any transfer of any ordinary share which is not fully paid up or on which we have a lien. Our board of directors may also decline to register any transfer of any ordinary share unless:

 

·the instrument of transfer is lodged with us, accompanied by the certificate for the ordinary shares to which it relates and such other evidence as our board of directors may reasonably require to show the right of the transferor to make the transfer;

 

·the instrument of transfer is in respect of only one class of ordinary shares;

 

·the instrument of transfer is properly stamped, if required;

 

·in the case of a transfer to joint holders, the number of joint holders to whom the ordinary share is to be transferred does not exceed four; and

 

·a fee of such maximum sum as the NYSE may determine to be payable or such lesser sum as our directors may from time to time require is paid to us in respect thereof.

 

If our directors refuse to register a transfer, they shall, within three months after the date on which the instrument of transfer was lodged, send to each of the transferor and the transferee notice of such refusal.

 

The registration of transfers may, after compliance with any notice required of the NYSE, be suspended and the register of members closed at such times and for such periods as our board of directors may from time to time determine, provided, however, that the registration of transfers shall not be suspended nor the register of members closed for more than 30 days in any year as our board may determine.

 

Liquidation. On a return of capital on winding up or otherwise (other than on conversion, redemption or purchase of ordinary shares), assets available for distribution among the holders of ordinary shares shall be distributed among the holders of the ordinary shares on a pro rata basis. If our assets available for distribution are insufficient to repay all of the paid-up capital, the assets will be distributed so that the losses are borne by our shareholders proportionately. Any distribution of assets or capital to a holder of a Class A ordinary share and a holder of a Class B ordinary share will be the same in any liquidation event.

 

Calls on Ordinary Shares and Forfeiture of Ordinary Shares. Our board of directors may from time to time make calls upon shareholders for any amounts unpaid on their ordinary shares in a notice served to such shareholders at least 14 clear days prior to the specified time of payment. The ordinary shares that have been called upon and remain unpaid are subject to forfeiture.

 

Redemption of Ordinary Shares. The Companies Law and our third amended and restated articles of association permit us to purchase our own shares. In accordance with our third amended and restated articles of association and provided the necessary shareholders or board approval have been obtained, we may issue shares on terms that are subject to redemption, at our option or at the option of the holders of these shares, on such terms and in such manner, including out of capital, as may be determined by our board of directors.

 

Variations of Rights of Shares. All or any of the special rights attached to any class of shares may, subject to the provisions of the Companies Law, be varied with the sanction of a special resolution passed at a general meeting of the holders of the shares of that class. The rights conferred upon the holders of the shares of any class issued shall not, unless otherwise expressly provided by the terms of issue of the shares of that class, be deemed to be varied by the creation or issue of further shares ranking pari passu with such existing class of shares.

 

 143 

 

 

General Meetings of Shareholders

 

Shareholders’ meetings may be convened by a majority of our board of directors or our chairman. Advance notice of at least ten clear days is required for the convening of our annual general shareholders’ meeting and any other general meeting of our shareholders. A quorum required for and throughout a meeting of shareholders consists of at least one shareholder entitled to vote and present in person or by proxy or (in the case of a shareholder being a corporation) by its duly authorized representative representing not less than one-third of all voting power of our share capital in issue.

 

Inspection of Books and Records

 

Holders of our ordinary shares will have no general right under Cayman Islands law to inspect or obtain copies of our list of shareholders or our corporate records. However, we will in our articles provide our shareholders with the right to inspect our list of shareholders and to receive annual audited financial statements. See “— Where You Can Find Additional Information.”

 

Changes in Capital

 

We may from time to time by ordinary resolution:

 

·increase the share capital by such sum, to be divided into shares of such classes and amount, as the resolution shall prescribe;

 

·consolidate and divide all or any of our share capital into shares of a larger amount than our existing shares;

 

·sub-divide our existing shares, or any of them into shares of a smaller amount; or

 

·cancel any shares which, at the date of the passing of the resolution, have not been taken or agreed to be taken by any person and diminish the amount of our share capital by the amount of the shares so cancelled.

 

However, no alteration contemplated above, or otherwise, may be made to the par value of the Class A ordinary shares or Class B ordinary shares unless an identical alteration is made to the par value of the Class B ordinary shares and Class A ordinary shares, as the case may be.

 

We may by special resolution, subject to any confirmation or consent required by the Companies Law, reduce our share capital or any capital redemption reserve in any manner permitted by law.

 

Exempted Company

 

We are an exempted company with limited liability incorporated under the Companies Law. The Companies Law in the Cayman Islands distinguishes between ordinary resident companies and exempted companies. Any company that is registered in the Cayman Islands but conducts business mainly outside of the Cayman Islands may apply to be registered as an exempted company. The requirements for an exempted company are essentially the same as for an ordinary company except for the exemptions and privileges listed below:

 

·an exempted company does not have to file an annual return of its shareholders with the Registrar of Companies;

 

·an exempted company’s register of members is not open to inspection;

 

·an exempted company does not have to hold an annual general meeting;

 

 144 

 

 

·an exempted company may issue no par value shares;

 

·an exempted company may obtain an undertaking against the imposition of any future taxation (such undertakings are usually given for 20 years in the first instance);

 

·an exempted company may register by way of continuation in another jurisdiction and be deregistered in the Cayman Islands;

 

·an exempted company may register as a limited duration company; and

 

·an exempted company may register as a segregated portfolio company.

 

“Limited liability” means that the liability of each shareholder is limited to the amount unpaid by the shareholder on the shares of the company. We are subject to reporting and other informational requirements of the Exchange Act, as applicable to foreign private issuers. We currently intend to comply with the NYSE rules in lieu of following home country practice. The NYSE rules require that every company listed on the NYSE hold an annual general meeting of shareholders. In addition, our third amended and restated articles of association allow directors to call special meeting of shareholders pursuant to the procedures set forth in our articles.

 

Differences in Corporate Law

 

The Companies Law is modelled after that of England and Wales but does not follow recent statutory enactments in England. In addition, the Companies Law differs from laws applicable to United States corporations and their shareholders. Set forth below is a summary of the significant differences between the provisions of the Companies Law applicable to us and the laws applicable to companies incorporated in the State of Delaware.

 

Mergers and Similar Arrangements

 

A merger or consolidation of two or more constituent companies under Cayman Islands law requires a plan of merger or consolidation to be approved by the directors of each constituent company and authorization by a special resolution of the members of each constituent company.

 

A merger or consolidation between a Cayman parent company and its Cayman subsidiary or subsidiaries does not require authorization by a resolution of shareholders. For this purpose a subsidiary is a company of which at least ninety percent (90%) of the issued shares entitled to vote are held by or registered in the name of the parent company.

 

The consent of each holder of a fixed or floating security interest over a constituent company is required unless this requirement is waived by a court in the Cayman Islands.

 

Save in certain circumstances, a dissentient shareholder of a Cayman constituent company is entitled to payment of the fair value of his shares upon dissenting to a merger or consolidation. The exercise of appraisal rights will preclude the exercise of any other rights save for the right to seek relief on the grounds that the merger or consolidation is void or unlawful.

 

In addition, there are statutory provisions applicable to a scheme of arrangement that facilitate the takeover of companies or the reconstruction and amalgamation of companies, provided that the scheme of the arrangement is approved by a majority in number of each class of shareholders or creditors with whom the arrangement is to be made, and who must, in addition, represent three-fourths in value of each such class of shareholders or creditors, as the case may be, that are present and voting either in person or by proxy at a meeting, or meetings, convened for that purpose. The convening of the meetings and subsequently the arrangement must be sanctioned by the Grand Court of the Cayman Islands. While a dissenting shareholder has the right to express to the court the view that the transaction ought not to be approved, the court can be expected to approve the arrangement if it determines that:

 

·the statutory provisions as to the required majority vote have been met;

 

 145 

 

 

·the shareholders have been fairly represented at the meeting in question and the statutory majority are acting bona fide without coercion of the minority shareholders or creditors to promote interests adverse to those of the class;

 

·the scheme of arrangement is such that may be reasonably approved by an intelligent and honest man of that class acting in respect of his interest; and

 

·the scheme of arrangement is not one that would more properly be sanctioned under some other provision of the Companies Law.

 

When a takeover offer is made and accepted by holders of 90% of the shares within four months, the offeror may, within a two-month period commencing on the expiration of such four month period, require the holders of the remaining shares to transfer such shares on the terms of the offer. An objection can be made to the Grand Court of the Cayman Islands but this is unlikely to succeed in the case of an offer which has been so approved unless there is evidence of fraud, bad faith or collusion.

 

If a scheme of arrangement, takeover offer and reconstruction is thus approved, the dissenting shareholder would have no rights comparable to appraisal rights, which would otherwise ordinarily be available to dissenting shareholders in a merger or consolidation or to dissenting shareholders of Delaware corporations, providing rights to receive payment in cash for the judicially determined value of the shares.

 

Shareholders’ Suits

 

In principle, we will normally be the proper plaintiff and as a general rule a derivative action may not be brought by a minority shareholder. However, based on English authorities, which would in all likelihood be of persuasive authority in the Cayman Islands, there are exceptions to the foregoing principle, including when:

 

·a company acts or proposes to act illegally or ultra vires;

 

·the act complained of, although not ultra vires, could only be effected duly if authorized by more than a simple majority vote that has not been obtained; and

 

·those who control the company are perpetrating a “fraud on the minority.”

 

Indemnification of Directors and Executive Officers and Limitation of Liability

 

Cayman Islands law does not limit the extent to which a company’s articles of association may provide for indemnification of officers and directors, except to the extent any such provision may be held by the Cayman Islands courts to be contrary to public policy, such as to provide indemnification against civil fraud or the consequences of committing a crime. Our third amended and restated memorandum and articles of association permit indemnification of officers and directors for losses, damages, costs and expenses incurred in their capacities as such unless such losses or damages arise from dishonesty or fraud which may attach to such directors or officers. This standard of conduct is generally the same as permitted under the Delaware General Corporation Law for a Delaware corporation. In addition, we intend to enter into indemnification agreements with our directors and senior executive officers that will provide such persons with additional indemnification beyond that provided in our third amended and restated memorandum and articles of association.

 

Insofar as indemnification for liabilities arising under the Securities Act may be permitted to our directors, officers or persons controlling us under the foregoing provisions, we have been informed that, in the opinion of the SEC, such indemnification is against public policy as expressed in the Securities Act and is therefore unenforceable.

 

 146 

 

 

Anti-Takeover Provisions in the Memorandum and Articles of Association

 

Some provisions of our third amended and restated memorandum and articles of association may discourage, delay or prevent a change in control of our company or management that shareholders may consider favorable, including provisions that authorize our board of directors to issue preferred shares in one or more series and to designate the price, rights, preferences, privileges and restrictions of such preferred shares without any further vote or action by our shareholders.

 

However, under Cayman Islands law, our directors may only exercise the rights and powers granted to them under our third amended and restated memorandum and articles of association, as amended and restated from time to time, for what they believe in good faith to be in the best interests of our company.

 

Directors’ Fiduciary Duties

 

Under Delaware corporate law, a director of a Delaware corporation has a fiduciary duty to the corporation and its shareholders. This duty has two components: the duty of care and the duty of loyalty. The duty of care requires that a director act in good faith, with the care that an ordinarily prudent person would exercise under similar circumstances. Under this duty, a director must inform himself of, and disclose to shareholders, all material information reasonably available regarding a significant transaction. The duty of loyalty requires that a director act in a manner he or she reasonably believes to be in the best interests of the corporation. He or she must not use his or her corporate position for personal gain or advantage. This duty prohibits self-dealing by a director and mandates that the best interest of the corporation and its shareholders take precedence over any interest possessed by a director, officer or controlling shareholder and not shared by the shareholders generally. In general, actions of a director are presumed to have been made on an informed basis, in good faith and in the honest belief that the action taken was in the best interests of the corporation. However, this presumption may be rebutted by evidence of a breach of one of the fiduciary duties. Should such evidence be presented concerning a transaction by a director, a director must prove the procedural fairness of the transaction, and that the transaction was of fair value to the corporation.

 

As a matter of Cayman Islands law, a director of a Cayman Islands company owes the following duties to the company—a duty to act bona fide in the best interests of the company and for a proper purpose, a duty not to make a person profit based on his or her position as director (unless the company permits him to do so) and a duty not to put himself in a position where the interests of the company conflict with his or her personal interest or his or her duty to a third party. A director must exercise the skill and care of a reasonably diligent person having both – (a) the general knowledge, skill and experience that may reasonably be expected of a person in the same position (an objective test), and (b) if greater, the general knowledge, skill and experience that that director actually possesses (a subjective test).

 

Shareholder Action by Written Consent

 

Under the Delaware General Corporation Law, a corporation may eliminate the right of shareholders to act by written consent by amendment to its certificate of incorporation. Our third amended and restated articles of association provide that shareholders may not approve corporate matters by way of a unanimous written resolution signed by or on behalf of each shareholder who would have been entitled to vote on such matter at a general meeting without a meeting being held.

 

Shareholder Proposals

 

Under the Delaware General Corporation Law, a shareholder has the right to put any proposal before the annual meeting of shareholders, provided it complies with the notice provisions in the governing documents. A special meeting may be called by the board of directors or any other person authorized to do so in the governing documents, but shareholders may be precluded from calling special meetings.

 

Neither Cayman Islands law nor our third amended and restated articles of association allow our shareholders to requisition a shareholders’ meeting. As an exempted Cayman Islands company, we are not obliged by law to call shareholders’ annual general meetings.

 

 147 

 

 

Cumulative Voting

 

Under the Delaware General Corporation Law, cumulative voting for elections of directors is not permitted unless the corporation’s certificate of incorporation specifically provides for it. Cumulative voting potentially facilitates the representation of minority shareholders on a board of directors since it permits the minority shareholder to cast all the votes to which the shareholder is entitled on a single director, which increases the shareholder’s voting power with respect to electing such director. As permitted under Cayman Islands law, our third amended and restated articles of association do not provide for cumulative voting. As a result, our shareholders are not afforded any less protections or rights on this issue than shareholders of a Delaware corporation.

 

Removal of Directors

 

Under the Delaware General Corporation Law, a director of a corporation with a classified board may be removed only for cause with the approval of a majority of the outstanding shares entitled to vote, unless the certificate of incorporation provides otherwise. Under our third amended and restated articles of association, directors may be removed by an ordinary resolution of shareholders.

 

Transactions with Interested Shareholders

 

The Delaware General Corporation Law contains a business combination statute applicable to Delaware corporations whereby, unless the corporation has specifically elected not to be governed by such statute by amendment to its certificate of incorporation, it is prohibited from engaging in certain business combinations with an “interested shareholder” for three years following the date that such person becomes an interested shareholder. An interested shareholder generally is a person or a group who or which owns or owned 15% or more of the target’s outstanding voting stock within the past three years. This has the effect of limiting the ability of a potential acquirer to make a two-tiered bid for the target in which all shareholders would not be treated equally. The statute does not apply if, among other things, prior to the date on which such shareholder becomes an interested shareholder, the board of directors approves either the business combination or the transaction which resulted in the person becoming an interested shareholder. This encourages any potential acquirer of a Delaware corporation to negotiate the terms of any acquisition transaction with the target’s board of directors.

 

Cayman Islands law has no comparable statute. As a result, we cannot avail ourselves of the types of protections afforded by the Delaware business combination statute. However, although Cayman Islands law does not regulate transactions between a company and its significant shareholders, it does provide that such transactions must be entered into bona fide in the best interests of the company and for a proper corporate purpose and not with the effect of constituting a fraud on the minority shareholders.

 

Dissolution; Winding Up

 

Under the Delaware General Corporation Law, unless the board of directors approves the proposal to dissolve, dissolution must be approved by shareholders holding 100% of the total voting power of the corporation. Only if the dissolution is initiated by the board of directors may it be approved by a simple majority of the corporation’s outstanding shares. Delaware law allows a Delaware corporation to include in its certificate of incorporation a supermajority voting requirement in connection with dissolutions initiated by the board. Under the Companies Law of the Cayman Islands, a company may be wound up by either an order of the courts of the Cayman Islands or by a special resolution of its members or, if the company is unable to pay its debts as they fall due, by an ordinary resolution of its members. The court has authority to order winding up in a number of specified circumstances including where it is, in the opinion of the court, just and equitable to do so.

 

Under the Companies Law and our third amended and restated articles of association, our company may be dissolved, liquidated or wound up by the vote of holders of two-thirds of our shares voting at a meeting.

  

 148 

 

 

Variation of Rights of Shares

 

Under the Delaware General Corporation Law, a corporation may vary the rights of a class of shares with the approval of a majority of the outstanding shares of such class, unless the certificate of incorporation provides otherwise. Under Cayman Islands law and our third amended and restated articles of association, if our share capital is divided into more than one class of shares, we may vary the rights attached to any class only with the sanction of a special resolution passed at a general meeting of the holders of the shares of that class.

 

Amendment of Governing Documents

 

Under the Delaware General Corporation Law, a corporation’s governing documents may be amended with the approval of a majority of the outstanding shares entitled to vote, unless the certificate of incorporation provides otherwise. As permitted by Cayman Islands law, our third amended and restated memorandum and articles of association may only be amended by a special resolution of shareholders.

 

Rights of Non-Resident or Foreign Shareholders

 

There are no limitations imposed by our third amended and restated memorandum and articles of association on the rights of non-resident or foreign shareholders to hold or exercise voting rights on our shares. In addition, there are no provisions in our third amended and restated memorandum and articles of association governing the ownership threshold above which shareholder ownership must be disclosed.

 

Directors’ Power to Issue Shares

 

Subject to applicable law, our board of directors is empowered to issue or allot shares or grant options and warrants with or without preferred, deferred, qualified or other special rights or restrictions.

 

C.Material Contracts

 

We have not entered into any material contracts other than in the ordinary course of business and other than those described in “Item 4. Information on the Company,” “Item 7. Major Shareholders and Related Party Transactions — B. Related Party Transactions,” or elsewhere in this annual report on Form 20-F.

 

D.Exchange Controls

 

See “Item 4. Information on the Company — B. Business Overview — Regulation — Regulations on Foreign Exchange.”

 

E.Taxation

 

The following summary of the material Cayman Islands, PRC and United States federal income tax consequences of an investment in our ADSs or ordinary shares is based upon laws and relevant interpretations thereof in effect as of the date of this annual report, all of which are subject to change. This summary does not deal with all possible tax consequences relating to an investment in our ADSs or ordinary shares, such as the tax consequences under U.S. state and local tax laws or under the tax laws of jurisdictions other than the Cayman Islands, the People’s Republic of China and the United States.

 

Cayman Islands Taxation

 

The Cayman Islands currently levies no taxes on individuals or corporations based upon profits, income, gains or appreciation and there is no taxation in the nature of inheritance tax or estate duty. There are no other taxes likely to be material to us levied by the government of the Cayman Islands except for stamp duties which may be applicable on instruments executed in, or, after execution, brought within the jurisdiction of the Cayman Islands. The Cayman Islands is not party to any double tax treaties that are applicable to any payments made to or by our company. There are no exchange control regulations or currency restrictions in the Cayman Islands.

 

 149 

 

 

 

Payments of dividends and capital in respect of the ordinary shares will not be subject to taxation in the Cayman Islands and no withholding will be required on the payment of a dividend or capital to any holder of the ordinary shares, nor will gains derived from the disposal of the ordinary shares be subject to Cayman Islands income or corporation tax.

 

No stamp duty is payable in respect of the issue of the shares or on an instrument of transfer in respect of a share.

 

People’s Republic of China Taxation

 

Under the PRC Enterprise Income Tax Law and its implementation rules, an enterprise established outside of the PRC with a “de facto management body” within the PRC is considered a resident enterprise and will be subject to the enterprise income tax at the rate of 25% on its global income, unless they qualify for certain preferential treatments such as certified high and new technology enterprises are entitled to a favorable statutory tax rate of 15%. The implementation rules define the term “de facto management body” as the body that exercises full and substantial control over and overall management of the business, productions, personnel, accounts and properties of an enterprise. In April 2009, the State Administration of Taxation issued a circular, known as Circular 82, which provides certain specific criteria for determining whether the “de facto management body” of a PRC-controlled enterprise that is incorporated offshore is located in China. Although this circular only applies to offshore enterprises controlled by PRC enterprises or PRC enterprise groups, not those controlled by PRC individuals or foreigners, the criteria set forth in the circular may reflect the State Administration of Taxation’s general position on how the “de facto management body” test should be applied in determining the tax resident status of all offshore enterprises. According to Circular 82, an offshore incorporated enterprise controlled by a PRC enterprise or a PRC enterprise group will be regarded as a PRC tax resident by virtue of having its “de facto management body” in China only if all of the following conditions are met: (i) the primary location of the day-to-day operational management is in the PRC; (ii) decisions relating to the enterprise’s financial and human resource matters are made or are subject to approval by organizations or personnel in the PRC; (iii) the enterprise’s primary assets, accounting books and records, company seals, and board and shareholder resolutions, are located or maintained in the PRC; and (iv) at least 50% of voting board members or senior executives habitually reside in the PRC.

 

We do not believe that Weidai Ltd. meets all of the conditions above. Weidai Ltd. is a company incorporated outside the PRC. As a holding company, its key assets are its ownership interests in its subsidiaries, and its key assets are located, and its records (including the resolutions of its board of directors and the resolutions of its shareholders) are maintained, outside the PRC. For the same reasons, we believe our other entities outside of China are not PRC resident enterprises either. However, the tax resident status of an enterprise is subject to determination by the PRC tax authorities and uncertainties remain with respect to the interpretation of the term “de facto management body.” There can be no assurance that the PRC government will ultimately take a view that is consistent with ours.

 

However, if the PRC tax authorities determine that Weidai Ltd. is a PRC resident enterprise for enterprise income tax purposes, we may be required to withhold a 10% withholding tax from dividends we pay to our shareholders that are non-resident enterprises, including the holders of our ADSs. Such 10% tax rate could be reduced by applicable tax treaties or similar arrangements between China and the jurisdiction of our shareholders. For example, for shareholders eligible for the benefits of the tax treaty between China and Hong Kong, the tax rate is reduced to 5% for dividends if relevant conditions are met. In addition, non-resident enterprise shareholders (including our ADS holders) may be subject to a 10% PRC tax on gains realized on the sale or other disposition of ADSs or ordinary shares, if such income is treated as sourced from within the PRC. It is unclear whether our non-PRC individual shareholders (including our ADS holders) would be subject to any PRC tax on dividends or gains obtained by such non-PRC individual shareholders in the event we are determined to be a PRC resident enterprise. If any PRC tax were to apply to such dividends or gains, it would generally apply at a rate of 20% unless a reduced rate is available under an applicable tax treaty. However, it is also unclear whether non-PRC shareholders of Weidai Ltd. would be able to claim the benefits of any tax treaties between their country of tax residence and the PRC in the event that Weidai Ltd. is treated as a PRC resident enterprise.

 

 150 

 

 

Provided that our Cayman Islands holding company, Weidai Ltd., is not deemed to be a PRC resident enterprise, holders of our ADSs and ordinary shares who are not PRC residents will not be subject to PRC income tax on dividends distributed by us or gains realized from the sale or other disposition of our shares or ADSs. However, under Circular 7, where a non-resident enterprise conducts an “indirect transfer” by transferring taxable assets, including, in particular, equity interests in a PRC resident enterprise, indirectly by disposing of the equity interests of an overseas holding company, the non-resident enterprise, being the transferor, or the transferee or the PRC entity which directly owned such taxable assets may report to the relevant tax authority such indirect transfer. Using a “substance over form” principle, the PRC tax authority may disregard the existence of the overseas holding company if it lacks a reasonable commercial purpose and was established for the purpose of reducing, avoiding or deferring PRC tax. As a result, gains derived from such indirect transfer may be subject to PRC enterprise income tax, and the transferee would be obligated to withhold the applicable taxes, currently at a rate of 10% for the transfer of equity interests in a PRC resident enterprise. We and our non-PRC resident investors may be at risk of being required to file a return and being taxed under Circular 7, and we may be required to expend valuable resources to comply with Bulletin 37, or to establish that we should not be taxed under Circular 7 and Bulletin 37. See “Item 3. Key Information — D. Risk Factors — Risks Related to Doing Business in China — We and our shareholders face uncertainties with respect to indirect transfers of equity interests in PRC resident enterprises or other assets attributed to a Chinese establishment of a non-Chinese company, or immovable properties located in China owned by non-Chinese companies.”

 

United States Federal Income Tax Considerations

 

The following is a summary of material U.S. federal income tax considerations that are likely to be relevant to the purchase, ownership and disposition of our ordinary shares or ADSs by a U.S. Holder (as defined below).

 

This summary is based on provisions of the Internal Revenue Code of 1986, as amended (the “Code”), and regulations, rulings and judicial interpretations thereof, in force as of the date hereof, and the Agreement Between the Government of the United States of America and the Government of the People’s Republic of China for the Avoidance of Double Taxation and the Prevention of Tax Evasion with Respect to Taxes on Income dated April 30, 1984 (as amended by any subsequent protocols, including the protocols of April 30, 1984 and May 10, 1986) (the “Treaty”). Those authorities may be changed at any time, perhaps retroactively, so as to result in U.S. federal income tax consequences different from those summarized below.

 

This summary is not a comprehensive discussion of all of the tax considerations that may be relevant to a particular investor’s decision to purchase, hold, or dispose of ordinary shares or ADSs. In particular, this summary is directed only to U.S. Holders that hold ordinary shares or ADSs as capital assets and does not address all of the tax consequences to U.S. Holders who may be subject to special tax rules, such as banks, brokers or dealers in securities or currencies, traders in securities electing to mark to market, financial institutions, insurance companies, tax exempt entities, partnerships (including any entities treated as partnerships for U.S. federal income tax purposes) and the partners therein, holders that own or are treated as owning 10% or more of our shares (measured by vote or value), persons holding ordinary shares or ADSs as part of a hedging or conversion transaction or a straddle, or persons whose functional currency is not the U.S. dollar. Moreover, this summary does not address state, local or non-U.S. taxes, the U.S. federal estate and gift taxes, or the Medicare contribution tax applicable to net investment income of certain non-corporate U.S. Holders, or alternative minimum tax consequences of acquiring, holding or disposing of ordinary shares or ADSs.

 

For purposes of this summary, a “U.S. Holder” is a beneficial owner of ordinary shares or ADSs that is a citizen or resident of the United States or a U.S. domestic corporation or that otherwise is subject to U.S. federal income taxation on a net income basis in respect of such ordinary shares or ADSs.

 

You should consult your own tax advisors about the consequences of the acquisition, ownership and disposition of the ordinary shares or ADSs, including the relevance to your particular situation of the considerations discussed below and any consequences arising under non-U.S., state, local or other tax laws.

 

ADSs

 

In general, if you are a U.S. Holder of ADSs, you will be treated, for U.S. federal income tax purposes, as the beneficial owner of the underlying ordinary shares that are represented by those ADSs.

 

 151 

 

 

Taxation of Dividends

 

Subject to the discussion below under “Passive Foreign Investment Company Rules,” the gross amount of any distribution of cash or property with respect to our ordinary shares or ADSs (including amounts, if any, withheld to reflect PRC taxes) that is paid out of our current or accumulated earnings and profits (as determined for U.S. federal income tax purposes) will generally be includible in your taxable income as ordinary dividend income on the day on which you receive the dividend, in the case of ordinary shares, or the date the depositary receives the dividends, in the case of ADSs, and will not be eligible for the dividends-received deduction allowed to U.S. corporations under the Code.

 

We do not expect to maintain calculations of our earnings and profits in accordance with U.S. federal income tax principles. U.S. Holders therefore should expect that distributions generally will be treated as dividends for U.S. federal income tax purposes.

 

Subject to certain exceptions for short-term and hedged positions, the dividends received by a non-corporate U.S. Holder with respect to the ordinary shares or ADSs will be subject to taxation at a preferential rate if the dividends are “qualified dividends.” Dividends paid on the ordinary shares or ADSs will be treated as qualified dividends if:

 

·the ordinary shares or ADSs on which the dividend is paid are readily tradable on an established securities market in the United States or we are eligible for the benefits of a comprehensive tax treaty with the United States that the U.S. Treasury determines is satisfactory for purposes of these rules and that includes an exchange of information program; and

 

·we were not, in the year prior to the year in which the dividend was paid, and are not, in the year in which the dividend is paid, a PFIC.

 

Our ADSs are listed on the New York Stock Exchange, and the ADSs qualify as readily tradable on an established securities market in the United States so long as they are so listed. We believe that we were not a PFIC for our taxable years ending December 31, 2018 and 2019. However, as discussed under “Passive Foreign Investment Company Rules,” there is significant risk that we may be treated as a PFIC during the current or a future taxable year.

 

Because the ordinary shares are not themselves listed on a U.S. exchange, dividends received with respect to the ordinary shares that are not represented by ADSs may not be treated as qualified dividends. U.S. Holders of ordinary shares or ADSs should consult their own tax advisors regarding the potential availability of the reduced dividend tax rate in light of their own particular circumstances.

 

In the event that we are deemed to be a PRC resident enterprise under the PRC Enterprise Income Tax Law (see “— People’s Republic of China Taxation”), a U.S. Holder may be subject to PRC withholding taxes on dividends paid on our ADSs or ordinary shares. In that case, we may, however, be eligible for the benefits of the Treaty. If we are eligible for such benefits, dividends we pay on our ordinary shares, regardless of whether such shares are represented by the ADSs, would be eligible for the reduced rates of taxation described above (assuming we are not a PFIC in the year the dividend is paid or the prior year). Dividend distributions with respect to our ordinary shares or ADSs generally will be treated as “passive category” income from sources outside the United States for purposes of determining a U.S. Holder’s U.S. foreign tax credit limitation. Subject to the limitations and conditions provided in the Code and the applicable U.S. Treasury Regulations, a U.S. Holder may be able to claim a foreign tax credit against its U.S. federal income tax liability in respect of any PRC income taxes withheld at the appropriate rate applicable to the U.S. Holder from a dividend paid to such U.S. Holder. Alternatively, the U.S. Holder may deduct such PRC income taxes from its U.S. federal taxable income, provided that the U.S. Holder elects to deduct rather than credit all foreign income taxes for the relevant taxable year. The rules with respect to foreign tax credits are complex and involve the application of rules that depend on a U.S. Holder’s particular circumstances. Accordingly, U.S. Holders are urged to consult their tax advisors regarding the availability of the foreign tax credit or the deductibility of foreign taxes under their particular circumstances.

 

 152 

 

 

U.S. Holders that receive distributions of additional ADSs or ordinary shares or rights to subscribe for ADSs or ordinary shares as part of a pro rata distribution to all our shareholders generally will not be subject to U.S. federal income tax in respect of the distributions, unless the U.S. Holder has the right to receive cash or property, in which case the U.S. Holder will be treated as if it received cash equal to the fair market value of the distribution.

 

Taxation of Dispositions of ADSs or Ordinary Shares

 

Subject to the discussion below under “Passive Foreign Investment Company Rules,” if a U.S. Holder realizes gain or loss on the sale, exchange or other disposition of ADSs or ordinary shares, that gain or loss will be capital gain or loss and generally will be long-term capital gain or loss if the ADSs or ordinary shares have been held for more than one year. Long-term capital gain realized by a non-corporate U.S. Holder generally is subject to taxation at a preferential rate. The deductibility of capital losses is subject to limitations.

 

Gain, if any, realized by a U.S. Holder on the sale or other disposition of the ADSs or ordinary shares generally will be treated as U.S. source income for U.S. foreign tax credit purposes. Consequently, if a PRC tax is imposed on the sale or other disposition, a U.S. Holder that does not receive significant foreign source income from other sources may not be able to derive effective U.S. foreign tax credit benefits in respect of such PRC tax. However, in the event that gain from the disposition of the ADSs or ordinary shares is subject to tax in the PRC, and a U.S. Holder is eligible for the benefits of the Treaty, such holder may elect to treat such gain as PRC source gain under the Treaty. U.S. Holders should consult their own tax advisors regarding the application of the foreign tax credit rules to their investment in, and disposition of, the ADSs or ordinary shares.

 

Deposits and withdrawals of ordinary shares by U.S. Holders in exchange for ADSs will not result in the realization of gain or loss for U.S. federal income tax purposes.

 

Passive Foreign Investment Company Rules

 

Special U.S. tax rules apply to companies that are considered to be PFICs. We will be classified as a PFIC in a particular taxable year if either

 

·75 percent or more of our gross income for the taxable year is passive income; or

 

·the average percentage of the value of our assets that produce or are held for the production of passive income is at least 50 percent.

 

For this purpose, passive income generally includes dividends, interest, royalties and rents (other than royalties and rents derived in the active conduct of a trade or business and not derived from a related person). If we own at least 25% (by value) of the stock of another corporation, for purposes of determining whether we are a PFIC, we will be treated as owning our proportionate share of the other corporation’s assets and receiving our proportionate share of the other corporation’s income. Although the law in this regard is not entirely clear, we treat our VIE as being owned by us for U.S. federal income tax purposes because we control its management decisions and are entitled to substantially all of the economic benefits associated with it.

 

We believe that we were not a PFIC for our taxable year ending December 31, 2019. This conclusion depends in part on certain of our income and assets qualifying as being received or held in connection with an active financing business, but there is no guarantee that the IRS would not challenge such treatment. Based on the current composition of our income and assets and the value of our assets, there is a significant risk that we may be a PFIC for the current or a future taxable year. The PFIC tests must be applied each year, taking into account our income and assets throughout the entire year, with such assets measured at the end of each quarter. Accordingly, it is possible that we may be treated as a PFIC in the current or a future taxable year due to changes in the composition of our income and assets and the value of our assets. In particular, because the value of our assets will be determined by reference to the market value of our ADSs, a decrease in the market value of our ADSs may cause us to be a PFIC. Recent stock market volatility could exacerbate these considerations. See “Item 3. Key Information — D. Risk Factors — Risks Related to Our Business and Our Industry — We face risks related to natural disasters, health epidemics, civil and social disruption and other outbreaks, especially COVID-19, which could significantly disrupt our operations.”

 

 153 

 

 

In the event that we are classified as a PFIC in any year during which a U.S. Holder holds our ordinary shares or ADSs and such U.S. Holder does not make a mark-to-market election, as described below, the holder will be subject to a special tax at ordinary income tax rates on “excess distributions,” including certain distributions by us (generally, distributions that are greater than 125% of the average annual distributions received during the shorter of the three preceding taxable years or the U.S. Holder’s holding period for the ordinary shares or ADSs) and gain that the holder recognizes on the sale of our ordinary shares or ADSs. The amount of income tax on any excess distributions will be increased by an interest charge to compensate for tax deferral, calculated as if the excess distributions were earned ratably over the period that the U.S. Holder holds its ordinary shares or ADSs. Classification as a PFIC may also have other adverse tax consequences, including, in the case of individuals, the denial of a step-up in the basis of his or her ordinary shares or ADSs at death.

 

Although the determination of whether we are a PFIC is made annually, if we are a PFIC for any taxable year during which a U.S. Holder holds our ordinary shares or ADSs, such holder will generally be subject to the unfavorable rules described above for that year and for each subsequent year in which such holder holds the ordinary shares or ADSs (even if we do not qualify as a PFIC in such subsequent years). However, if we cease to be a PFIC, a U.S. Holder can avoid the continuing impact of the PFIC rules by making a special election to recognize gain as if such holder’s ordinary shares or ADSs had been sold on the last day of the last taxable year during which we were a PFIC. U.S. Holders should consult their own tax advisor about this election.

 

A U.S. Holder may be able to avoid the unfavorable rules described above by electing to mark its ADSs to market, provided the ADSs are treated as “marketable stock.” The ADSs generally will be treated as marketable stock if the ADSs are “regularly traded” on a “qualified exchange or other market” (which includes the New York Stock Exchange). It should also be noted that it is intended that only the ADSs and not the ordinary shares will be listed on the New York Stock Exchange. Consequently, a U.S. Holder that holds ordinary shares that are not represented by ADSs may not be eligible to make a mark-to-market election. If the U.S. Holder makes a mark-to-market election, the holder will be required in any year in which we are a PFIC to include as ordinary income the excess of the fair market value of its ADSs at year-end over the holder’s basis in those ADSs. If at the end of the U.S. Holder’s taxable year, the U.S. Holder’s basis in the shares or ADSs exceeds their fair market value, the U.S. Holder will be entitled to deduct the excess as an ordinary loss, but only to the extent of the U.S. Holder’s net mark-to-market gains from previous years. A U.S. Holder’s adjusted tax basis in the ADSs will be increased by the amount of any income inclusion and decreased by the amount of any deductions under the mark-to-market rules. In addition, any gain the U.S. Holder recognizes upon the sale of the holder’s ADSs in a year in which we are PFIC will be taxed as ordinary income in the year of sale and any loss will be treated as an ordinary loss to the extent of the holder’s net mark-to-market gains from previous years. If a U.S. Holder makes a mark-to-market election, it will be effective for the taxable year for which the election is made and all subsequent taxable years unless the ADSs are no longer regularly traded on a “qualified exchange or other market” or the Internal Revenue Service (“IRS”) consents to the revocation of the election. U.S. Holders are urged to consult their own tax advisors about the availability of the mark- to-market election, the consequences of not making a mark-to-market election for the first year during which a U.S. Holder holds interests in our ADSs or ordinary shares and we are a PFIC, and whether making the election would be advisable in their particular circumstances.

 

Although a U.S. Holder can avoid the unfavorable PFIC rules described above by electing to treat its ADSs or ordinary shares as interests in a qualified electing fund (“QEF”), we do not intend to provide the information that would allow a U.S. Holder to make such an election. Accordingly, in the event that we are treated as a PFIC, a U.S. Holder will not be able to make a “QEF election.”

 

A U.S. Holder that owns an equity interest in a PFIC must annually file IRS Form 8621. A failure to file one or more of these forms as required may toll the running of the statute of limitations in respect of each of the U.S. Holder’s taxable years for which such form is required to be filed. As a result, the taxable years with respect to which the U.S. Holder fails to file the form may remain open to assessment by the IRS indefinitely, until the form is filed.

 

 154 

 

 

If we are a PFIC for any taxable year during which a U.S. Holder holds our ADSs or ordinary shares and any of our non-U.S. subsidiaries is also a PFIC, such holder will be treated as owning a proportionate amount (by value) of the shares of the lower-tier PFIC for purposes of the application of the PFIC rules. U.S. Holders should consult their own tax advisors about the possible application of the PFIC rules to any of our subsidiaries.

 

U.S. Holders should consult their own tax advisors regarding the U.S. federal income tax considerations discussed above and the desirability of making a mark-to-market election.

 

Foreign Financial Asset Reporting

 

Certain U.S. Holders who are individuals that own “specified foreign financial assets” with an aggregate value in excess of US$50,000 on the last day of the taxable year or US$75,000 at any time during the taxable year are generally required to file an information statement along with their tax returns, currently on IRS Form 8938, with respect to such assets. “Specified foreign financial assets” include any financial accounts held at a non-U.S. financial institution, as well as securities issued by a non-U.S. issuer (which would include the ordinary shares and the ADSs) that are not held in accounts maintained by financial institutions. Higher reporting thresholds apply to certain individuals living abroad and to certain married individuals. Regulations extend this reporting requirement to certain entities that are treated as formed or availed of to hold direct or indirect interests in specified foreign financial assets based on certain objective criteria. U.S. Holders that fail to report the required information could be subject to substantial penalties. In addition, the statute of limitations for assessment of tax would be suspended, in whole or part. Prospective investors should consult their own tax advisors concerning the application of these rules to their investment in the ordinary shares or the ADSs, including the application of the rules to their particular circumstances.

 

Backup Withholding and Information Reporting

 

Dividends paid on, and proceeds from the sale or other disposition of, the ADSs or ordinary shares that are paid to a U.S. Holder generally may be subject to the information reporting requirements of the Code and may be subject to backup withholding unless the U.S. Holder provides an accurate taxpayer identification number and makes any other required certification or otherwise establishes an exemption. Backup withholding is not an additional tax. The amount of any backup withholding from a payment to a U.S. Holder will be allowed as a refund or credit against the U.S. Holder’s U.S. federal income tax liability, provided the required information is furnished to the IRS in a timely manner.

 

A holder that is a non-U.S. corporation or a non-resident alien individual may be required to comply with certification and identification procedures in order to establish its exemption from information reporting and backup withholding.

 

F.Dividends and Paying Agents

 

Not applicable.

 

G.Statement by Experts

 

Not applicable.

 

H.Documents on Display

 

We have filed a registration statement, including relevant exhibits, with the SEC on Form F-1 (Registration No. 333-226790) under the Securities Act to register the issuance and sale of our ordinary shares represented by ADSs in relation to our initial public offering. We have also filed a related registration statement on Form F-6 (Registration No. 333-227701) with the SEC to register the ADSs.

 

 155 

 

 

We are subject to periodic reporting and other informational requirements of the Exchange Act as applicable to foreign private issuers. Accordingly, we are required to file reports, including annual reports on Form 20-F, and other information with the SEC. All information filed with the SEC can be obtained over the internet at the SEC’s website at www.sec.gov or inspected and copied at the public reference facilities maintained by the SEC at 100 F Street, N.E., Washington, D.C. 20549. You can request copies of documents, upon payment of a duplicating fee, by writing to the SEC.

 

As a foreign private issuer, we are exempt under the Exchange Act from, among other things, the rules prescribing the furnishing and content of proxy statements, and our executive officers, directors and principal shareholders are exempt from the reporting and short-swing profit recovery provisions contained in Section 16 of the Exchange Act. In addition, we will not be required under the Exchange Act to file periodic reports and financial statements with the SEC as frequently or as promptly as U.S. companies whose securities are registered under the Exchange Act. However, we intend to furnish Citibank, N.A., the depositary of our ADSs, with our annual reports, which will include a review of operations and annual audited consolidated combined financial statements prepared in conformity with U.S. GAAP, and all notices of shareholders’ meetings and other reports and communications that are made generally available to our shareholders. The depositary will make such notices, reports and communications available to holders of ADSs and, if we so request, will mail to all record holders of ADSs the information contained in any notice of a shareholders’ meeting received by the depositary from us.

 

I.Subsidiary Information

 

Not applicable.

 

ITEM 11. QUANTITATIVE AND QUALITATIVE DISCLOSURES ABOUT MARKET RISK

 

Inflation

 

Since our inception, inflation in China has not materially affected our results of operations. According to the National Bureau of Statistics of China, the year-over-year percent changes in the consumer price index for December 2017, 2018 and 2019 were increases of 1.8%, 2.1% and 2.9% respectively. Although we have not been materially affected by inflation in the past, we may be affected if China experiences higher rates of inflation in the future.

 

Foreign Exchange Risk

 

Our exposure to foreign exchange risk primarily relates to cash and cash equivalent denominated in U.S. dollars. As substantially all of our revenues and expenses are denominated in Renminbi, we do not believe that we currently have any significant direct foreign exchange risk, and have not used any derivative financial instruments to hedge exposure to such risk. Although our exposure to foreign exchange risks should be limited in general, the value of your investment in our ADSs will be affected by the exchange rate between U.S. dollar and Renminbi because the value of our business is effectively denominated in Renminbi, while our ADSs will be traded in U.S. dollars.

 

The value of the Renminbi against the U.S. dollar and other currencies is affected by changes in China’s political and economic conditions and by China’s foreign exchange policies, among other things. In July 2005, the PRC government changed its decades-old policy of pegging the value of the Renminbi to the U.S. dollar, and the Renminbi appreciated more than 20% against the U.S. dollar over the following three years. Between July 2008 and June 2010, this appreciation subsided and the exchange rate between the Renminbi and the U.S. dollar remained within a narrow band. Since June 2010, the Renminbi has fluctuated against the U.S. dollar, at times significantly and unpredictably. For Renminbi against U.S. dollar, there was appreciation of approximately 5.8% in 2017, depreciation of approximately 5.4% in 2018 and depreciation of approximately 1.6% in 2019. It is difficult to predict how market forces or PRC or U.S. government policy may impact the exchange rate between the Renminbi and the U.S. dollar in the future.

 

To the extent that we need to convert U.S. dollars into Renminbi for our operations, appreciation of the Renminbi against the U.S. dollar would have an adverse effect on the Renminbi amount we receive from the conversion. Conversely, if we decide to convert Renminbi into U.S. dollars for the purpose of making payments for dividends on our ordinary shares or ADSs or for other business purposes, appreciation of the U.S. dollar against the Renminbi would have a negative effect on the U.S. dollar amounts available to us.

 

 156 

 

 

As of December 31, 2019, we had Renminbi-denominated cash balance of RMB778.2 million. Assuming we had converted RMB778.2 million into U.S. dollars at the exchange rate of RMB6.9618 for US$1.00 as of December 31, 2019, our U.S. dollar cash balance, including US$42.1 million U.S dollar we held, would have been US$153.9 million. If the Renminbi had depreciated by 10% against the U.S. dollar, our U.S. dollar cash balance would have been US$166.3 million instead.

 

Interest Rate Risk

 

We have not been exposed to material risks due to changes in market interest rates, and we have not used any derivative financial instruments to manage our interest risk exposure.

 

The fluctuation of interest rates may affect the demand for loan products and services on our platform. For example, a decrease in interest rates may cause potential borrowers to seek lower-priced loans from other channels. A high interest rate environment may lead to an increase in competing investment options and dampen investors’ desire to invest on our platform. We do not expect that the fluctuation of interest rates will have a material impact on our financial condition. However, we cannot provide assurance that we will not be exposed to material risks due to changes in market interest rate in the future. See “Item 3. Key Information — D. Risk Factors — Risks Related to Doing Business in China — Fluctuations in exchange rates could have a material adverse effect on our results of operations and the price of our ADSs.”

 

After completion of this offering, we may invest net proceeds we receive from the offering in interest-earning instruments. Investments in both fixed rate and floating rate interest earning instruments carry a degree of interest rate risk. Fixed rate securities may have their fair market value adversely impacted due to a rise in interest rates, while floating rate securities may produce less income than expected if interest rates fall.

 

ITEM 12. DESCRIPTION OF SECURITIES OTHER THAN EQUITY SECURITIES

 

A.Debt Securities

 

Not applicable.

 

B.Warrants and Rights

 

Not applicable.

 

C.Other Securities

 

Not applicable.

 

 157 

 

 

D.American Depositary Shares

 

Fees and Charges Our ADS holders May Have to Pay

 

As an ADS holder, you will be required to pay the following fees under the terms of the deposit agreement:

 

Service Fees
   
•     Issuance of ADSs (e.g., an issuance of ADS upon a deposit of Class A ordinary shares, upon a change in the ADS(s)-to-Class A ordinary share(s) ratio, or for any other reason), excluding ADS issuances as a result of distributions of Class A ordinary shares Up to U.S. 5¢ per ADS (or fraction thereof) issued
   
•     Cancelation of ADSs (e.g., a cancelation of ADSs for delivery of deposited property, upon a change in the ADS(s)-to-Class A ordinary share(s) ratio, or for any other reason) Up to U.S. 5¢ per ADS (or fraction thereof) canceled
   
•     Distribution of cash dividends or other cash distributions (e.g., upon a sale of rights and other entitlements) Up to U.S. 5¢ per ADS (or fraction thereof) held
   
•     Distribution of ADSs pursuant to (i) stock dividends or other free stock distributions, or (ii) exercise of rights to purchase additional ADSs Up to U.S. 5¢ per ADS (or fraction thereof) held
   
•     Distribution of securities other than ADSs or rights to purchase additional ADSs (e.g., upon a spin-off) Up to U.S. 5¢ per ADS (or fraction thereof) held
   
•     ADS Services Up to U.S. 5¢ per ADS (or fraction thereof) held on the applicable record date(s) established by the depositary bank

 

As an ADS holder you will also be responsible to pay certain charges such as:

 

·taxes (including applicable interest and penalties) and other governmental charges;

 

·such registration fees as may from time to time be in effect for the registration of deposited shares or other securities on the share register and applicable to transfers of deposited shares or other securities to or from the name of the custodian, the depositary or any nominees upon the making of deposits and withdrawals, respectively;

 

·such cable, telex and facsimile transmission and delivery expenses as are expressly provided in the deposit agreement to be at the expense of the person depositing shares or withdrawing deposited shares and other deposited property or of the holders and beneficial owners of ADSs;

 

·the expenses and charges incurred by the depositary in the conversion of foreign currency (including transaction spreads);

 

·such fees and expenses as are incurred by the depositary in connection with compliance with exchange control regulations and other regulatory requirements applicable to deposited shares or other securities, ADSs and ADRs; and

 

·the fees and expenses incurred by the depositary, the custodian, or any nominee in connection with the servicing or delivery of deposited shares or other securities.

 

ADS fees and charges payable upon (i) the issuance of ADSs, and (ii) the cancellation of ADSs are charged to the person to or for whom the ADSs are issued (in the case of ADS issuances) and to the person whose ADSs are canceled (in the case of ADS cancellations). In the case of ADSs issued by the depositary into DTC, the ADS issuance and cancellation fees and charges may be deducted from distributions made through DTC, and may be charged to the DTC participant(s) receiving the ADSs being issued or the DTC participant(s) holding the ADSs being canceled, as the case may be, on behalf of the beneficial owner(s) and will be charged by the DTC participant(s) to the account of the applicable beneficial owner(s) in accordance with the procedures and practices of the DTC participants as in effect at the time. ADS fees and charges in respect of distributions and the ADS services fee are charged to the holders as of the applicable ADS record date. In the case of distributions of cash, the amount of the applicable ADS fees and charges is deducted from the funds being distributed. In the case of  (i) distributions other than cash and (ii) the ADS services fee, holders as of the ADS record date will be invoiced for the amount of the ADS fees and charges and such ADS fees and charges may be deducted from distributions made to holders of ADSs. For ADSs held through DTC, the ADS fees and charges for distributions other than cash and the ADS services fee may be deducted from distributions made through DTC, and may be charged to the DTC participants in accordance with the procedures and practices prescribed by DTC and the DTC participants in turn charge the amount of such ADS fees and charges to the beneficial owners for whom they hold ADSs.

 

 158 

 

 

In the event of refusal to pay the depositary fees, the depositary may, under the terms of the deposit agreement, refuse the requested service until payment is received or may set off the amount of the depositary fees from any distribution to be made to the ADS holder. CERTAIN OF THE DEPOSITARY FEES AND CHARGES (SUCH AS THE ADS SERVICES FEE) MAY BECOME PAYABLE SHORTLY AFTER THE CLOSING OF THE ADS OFFERING. Note that the fees and charges you may be required to pay may vary over time and may be changed by us and by the depositary. You will receive prior notice of such changes. The depositary may reimburse us for certain expenses incurred by us in respect of the ADR program, by making available a portion of the ADS fees charged in respect of the ADR program or otherwise, upon such terms and conditions as we and the depositary agree from time to time.

 

Fees and Other Payments Made by the Depositary to Us

 

The depositary bank may reimburse us for certain expenses incurred by us in respect of the ADR program, by making available a portion of the ADS fees charged in respect of the ADR program or otherwise, upon such terms and conditions as we and the depositary bank agree from time to time. For the year ended December 31, 2019, we received reimbursement totaled US$59,365.0 from the depositary.

 

 159 

 

 

PART II

 

ITEM 13. DEFAULTS, DIVIDEND ARREARAGES AND DELINQUENCIES

 

None.

 

ITEM 14. MATERIAL MODIFICATIONS TO THE RIGHTS OF SECURITY HOLDERS AND USE OF PROCEEDS

 

Material Modifications to the Rights of Security Holders

 

See “Item 10. Additional Information — B. Memorandum and Articles of Association” for a description of the rights of securities holders, which remain unchanged.

 

Use of Proceeds

 

The following “Use of Proceeds” information relates to the registration statement on Form F-1, as amended (File No. 333-226790) in relation to our initial public offering, which was declared effective by the SEC on November 7, 2018. In November 2018, we completed our initial public offering in which we issued and sold an aggregate of 4,500,000 ADSs, representing 4,500,000 Class A ordinary shares. In December 2018, the underwriters for our initial public offering exercised a portion of their over-allotment options to purchase an addition of 456,427 ADSs. The net proceeds we received from the initial public offering and the exercise of over-allotment options totaled US$45.1 million. Morgan Stanley & Co. LLC and Citigroup Global Markets Inc. were the representatives of the underwriters for our initial public offering.

 

For the period from November 7, 2018, the date that the registration statement on Form F-1 was declared effective by the SEC, to December 31, 2018, the total expenses incurred for our company’s account in connection with our initial public offering was approximately US$4.1 million, which included US$3.5 million in underwriting discounts and commissions for the initial public offering and approximately US$0.6 million in other costs and expenses for our initial public offering. None of the transaction expenses included payments to directors or officers of our company or their associates, persons owning more than 10% or more of our equity securities or our affiliates. None of the net proceeds from the initial public offering were paid, directly or indirectly, to any of our directors or officers or their associates, persons owning 10% or more of our equity securities or our affiliates

 

For the period from November 7, 2018, the date that the registration statement on Form F-1 was declared effective by the SEC, to December 31, 2019, we did not use any of the net proceeds from our initial public offering.

 

We still intend to use the remainder of the proceeds from our initial public offering and the concurrent private placement as disclosed in our registration statements on Form F-1.

 

ITEM 15. CONTROLS AND PROCEDURES

 

Evaluation of Disclosure Controls and Procedures

 

Our management, with the participation of our chief executive officer and chief financial officer, has performed an evaluation of the effectiveness of our disclosure controls and procedures (as defined in Rule 13a-15(e) under the Exchange Act) as of the end of the period covered by this report, as required by Rule 13a-15(b) under the Exchange Act.

 

Based upon that evaluation, our management has concluded that, due to the outstanding material weakness described below, as of December 31, 2019, our disclosure controls and procedures were not effective in ensuring that the information required to be disclosed by us in the reports that we file and furnish under the Exchange Act was recorded, processed, summarized and reported, within the time periods specified in the SEC’s rules and forms, and that the information required to be disclosed by us in the reports that we file or submit under the Exchange Act is accumulated and communicated to our management, including our chief executive officer and chief financial officer, to allow timely decisions regarding required disclosure.

 

 160 

 

 

Management’s Annual Report on Internal Control over Financial Reporting

 

Our management is responsible for establishing and maintaining adequate internal control over financial reporting, as defined in Rule 13a-15(f) under the Exchange Act.

 

In connection with the audits of our consolidated financial statements as of December 31, 2016 and 2017 and for the years ended December 31, 2016 and 2017, we and our predecessor independent registered public accounting firm identified a material weakness in our internal control over financial reporting. In connection with the audit of our consolidated financial statements as of December 31, 2019 and the results of our operations and our cash flows for the year ended December 31, 2019, we and our successor independent registered public accounting firm determined this material weakness remains as of December 31, 2019. As defined in the standards established by the U.S. Public Company Accounting Oversight Board, a “material weakness” is a deficiency, or combination of deficiencies, in internal control over financial reporting, such that there is a reasonable possibility that a material misstatement of the annual or interim financial statements will not be prevented or detected on a timely basis.

 

The material weakness that has been identified is related to our insufficient number of financial reporting personnel with appropriate level of knowledge and experience in application of U.S. GAAP and SEC rules and regulations commensurate with our reporting requirements.

 

Since the material weakness was identified, we have implemented certain remediation measures to improve our internal control over financial reporting, including the following: (i) hiring two additional accounting staff familiar with U.S. GAAP and SEC reporting requirements to lead the accounting and financial reporting matters; (ii) setting up a financial reporting team for U.S. GAAP and SEC reporting under financial department.

 

In addition, we have started to take a number of other measures to strengthen our internal control over financial reporting, including (i) continuing to upgrade our financial system to enhance its effectiveness and enhance control of financial analysis; (ii) continuing to organize regular training for our accounting staffs, especially the trainings related to U.S. GAAP and SEC reporting requirements; and (iii) continuing to establish effective oversight and clarifying reporting requirements for non-recurring and complex transactions to ensure consolidated financial statements and related disclosures are accurate, complete and in compliance with U.S. GAAP and SEC reporting requirements.

 

Our management evaluated the effectiveness of our internal control over financial reporting, as required by Rule 13a-15(c) of the Exchange Act, based on criteria established in the framework in Internal Control-Integrated Framework (2013) issued by the Committee of Sponsoring Organizations of the Treadway Commission. Based on this evaluation, our management has concluded that our internal control over financial reporting was not effective as of December 31, 2019.

 

Because such remediation measures had not been fully implemented, our management concluded that the material weakness still existed as of December 31, 2019. We expect to complete the measures discussed above by the end of 2020 and will continue to implement measures to remediate our internal control deficiencies in order to meet the deadline imposed by Section 404 of the Sarbanes Oxley Act.

 

We are fully committed to continue to implement measures to remediate our material weakness, significant deficiency and other control deficiencies in our internal control over financial reporting. However, the implementation of these measures may not fully address the deficiencies in our internal control over financial reporting. We are not able to estimate with reasonable certainty the costs that we will need to incur in implementing these and other measures designed to improve our internal control over financial reporting.

 

 161 

 

 

Attestation Report of the Independent Registered Public Accounting Firm

 

This annual report does not include our company’s independent registered public accounting firm's attestation report on management’s assessment of the Company’s internal control over financial reporting due to the transition periods established by rules of the SEC for an Emerging Growth Company.

 

Changes in Internal Control over Financial Reporting

 

Other than as described above, there were no changes in our internal controls over financial reporting that occurred during the period covered by this annual report on Form 20-F that have materially affected, or are reasonably likely to materially affect, our internal control over financial reporting.

 

ITEM 16A. AUDIT COMMITTEE FINANCIAL EXPERT

 

Our board of directors has determined that Poi Lam Yuen, our independent director (under the standards set forth under Section 303A of the Corporate Governance Rules of the New York Stock Exchange and Rule 10A-3 under the Exchange Act) and the chairman of our audit committee, is an “audit committee financial expert.”

 

ITEM 16B. CODE OF ETHICS

 

Our board of directors adopted a code of business conduct and ethics that applies to our directors, officers and employees in August 2018. We have posted a copy of our code of business conduct and ethics on our website at https://weidai.investorroom.com/.

 

ITEM 16C. PRINCIPAL ACCOUNTANT FEES AND SERVICES

 

The following table sets forth the aggregate fees by categories specified below in connection with certain professional services rendered by our principal external auditors, for the periods indicated.

 

   Year Ended December 31, 
   2018   2019 
   RMB   US$   RMB   US$ 
   (in thousands) 
Audit fees(1)   7,316    1,064    4,398    632 

 

 

(1) Audit fees include the aggregate fees billed in each of the fiscal period listed for professional services rendered by our independent public accountant in relation to the audit of our annual financial statements, review of our quarterly financial statements and services related to our initial public offering.

 

The policy of our audit committee is to pre-approve all audit and non-audit services provided by our independent registered public accounting firm, including audit services, audit-related services, tax services and other services as described above, other than those for de minimis services which are approved by the audit committee prior to the completion of the audit.

 

ITEM 16D. EXEMPTIONS FROM THE LISTING STANDARDS FOR AUDIT COMMITTEES

 

Not applicable.

 

ITEM 16E. PURCHASES OF EQUITY SECURITIES BY THE ISSUER AND AFFILIATED PURCHASERS

 

Not applicable.

 

ITEM 16F. CHANGE IN REGISTRANT’S CERTIFYING ACCOUNTANT

 

On February 13, 2020, we engaged Marcum Bernstein & Pinchuk LLP, or MarcumBP, as our independent registered public accounting firm in connection with the audit of our consolidated financial statements for the years ended December 31, 2019. Ernst & Young Hua Ming LLP, or EY, which previously was our independent registered public accounting firm, did not stand for re-appointment, effective from January 20, 2020.

 

 162 

 

 

The decision to engage MarcumBP was recommended by our Audit Committee and approved by our Board of Directors.

 

EY’s report on our consolidated financial statements as of December 31, 2018 and for each of the years ended December 31, 2017 and 2018 did not contain any adverse opinion or a disclaimer of opinion and was not qualified or modified as to uncertainty, audit scope, or accounting principles.

 

During each of the years ended December 31, 2018 and 2019, and the subsequent interim period through January 20, 2020, we did not have any disagreements, as that term is defined in Item 16F(a)(1)(iv) of Form 20-F and the related instructions to Item 16F of Form 20-F, with EY on any matters of accounting principle or practice, financial statement disclosure, or auditing scope or procedure, which, if not resolved to the satisfaction of EY, would have been referred to in their report.

 

During each of the years ended December 31, 2018 and 2019, and through January 20, 2020, there were no “reportable events”, as defined below, requiring disclosure by us pursuant to Item 16F(a)(1)(v) of Form 20-F, other than as the material weakness in internal control over financial reporting disclosed in this Item 16F.

 

In the course of auditing our consolidated financial statements for the years ended December 31, 2016 and 2017, a material weakness in internal control over financial reporting was identified which is related to our insufficient number of financial reporting personnel with appropriate level of knowledge and experience in application of U.S. GAAP and SEC rules and regulations commensurate with our reporting requirements. The material weakness remains as of December 31, 2018.

 

The matter described above constitute a reportable event. Our Audit Committee has discussed the reportable event above with EY and we authorized EY to respond fully to the inquiries of MarcumBP concerning this reportable event.

 

For purposes of this Item 16F, the term “reportable events” means any of the following events:

 

(A) The accountant’s having advised the registrant that the internal controls necessary for the registrant to develop reliable financial statements do not exist;

 

(B) The accountant’s having advised the registrant that information has come to the accountant’s attention that has led it to no longer be able to rely on management’s representations, or that has made it unwilling to be associated with the financial statements prepared by management;

 

(C) (1) The accountant’s having advised the registrant of the need to expand significantly the scope of its audit, or that information has come to the accountant’s attention during the time period covered by Item 16F(a)(1)(iv), that if further investigated may: (i) Materially impact the fairness or reliability of either: a previously issued audit report or the underlying financial statements; or the financial statements issued or to be issued covering the fiscal period(s) subsequent to the date of the most recent financial statements covered by an audit report (including information that may prevent it from rendering an unqualified audit report on those financial statements); or (ii) Cause it to be unwilling to rely on management’s representations or be associated with the registrant’s financial statements; and (2) Due to the accountant’s resignation (due to audit scope limitations or otherwise) or dismissal, or for any other reason, the accountant did not so expand the scope of its audit or conduct such further investigation; or

 

(D)(1) The accountant’s having advised the registrant that information has come to the accountant’s attention that it has concluded materially impacts the fairness or reliability of either (i) a previously issued audit report or the underlying financial statements, or (ii) the financial statements issued or to be issued covering the fiscal period(s) subsequent to the date of the most recent financial statements covered by an audit report (including information that, unless resolved to the accountant’s satisfaction, would prevent it from rendering an unqualified audit report on those financial statements); and (2) Due to the accountant’s resignation, dismissal or declination to stand for reelection, or for any other reason, the issue has not been resolved to the accountant’s satisfaction prior to its resignation, dismissal or declination to stand for re-election.

 

 163 

 

 

We provided a copy of this disclosure to EY and requested that EY furnish us with a letter addressed to the SEC stating whether it agrees with the statements made above, and if not, stating the respects in which it does not agree. A copy of EY’s letter dated June 4, 2020 is attached herewith as Exhibit 16.1.

 

ITEM 16G. CORPORATE GOVERNANCE

 

Section 303A.12(a) of the NYSE Listed Company Manual requires each listed company’s chief executive officer to certify to the NYSE each year that he or she is not aware of any violation by the company of NYSE corporate governance listing standards. We are a Cayman Islands exempted company, and our chief executive officer is not required under applicable Cayman Islands law to make such a certification. Pursuant to the exceptions granted to foreign private issuers under Section 303A.00 of the NYSE Listed Company Manual, we have followed our home country practice in this regard and have not in the past submitted the certification set forth in Section 303A.12(a) of the NYSE Listed Company Manual.

 

Section 303A.07(a) of the NYSE Listed Company Manual requires a listed company to have an audit committee composed a minimum of three members. We are a Cayman Islands exempted company, and there are no requirements under applicable Cayman Islands law that correspond to this section of the NYSE Listed Company Manual. Pursuant to the exceptions granted to foreign private issuers under Section 303A.00 of the NYSE Listed Company Manual, we have followed our home country practice and are exempted from the requirements of Section 303A.07(a) of the NYSE Listed Company Manual.

 

In addition, we are a “controlled company” under the New York Stock Exchange Listed Company Manual because Mr. Hong Yao beneficially owns a majority of the aggregate voting power of our company. We opt to rely on certain exemptions that are available to controlled companies from NYSE corporate governance requirements, including the following, which we do not intend to meet voluntarily:

 

·that we have a majority of independent directors on our board;

 

·that we have a nominating committee and a compensation committee that is composed entirely of independent directors with a written charter addressing the committee’s purpose and responsibilities;

 

·an exemption from the rule that the compensation of our chief executive officer must be determined or recommended solely by independent directors; and

 

·an exemption from the rule that our director nominees must be selected or recommended solely by independent directors.

 

We are not required to and will not voluntarily meet these requirements. If we are no longer a “controlled company,” we may in the future invoke “home country” exceptions available to foreign private issuers, such as us, under the New York Stock Exchange Listed Company Manual which are similar to the exemptions for controlled companies, and also include the possibility of additional exceptions from the New York Stock Exchange Listed Company Manual.

 

Other than the requirements discussed above, there are no significant differences between our corporate governance practices and those followed by domestic listed companies as required under the NYSE Listed Company Manual. As a result of our use of the “controlled company” exemptions and the “home country” exceptions, holders of our ADSs will not have the same protection afforded to shareholders of companies that are subject to all of NYSE corporate governance requirements.

 

ITEM 16H. MINE SAFETY DISCLOSURE

 

Not applicable.

 

 164 

 

 

 

PART III

 

ITEM 17. FINANCIAL STATEMENTS

 

We have elected to provide financial statements pursuant to Item 18.

 

ITEM 18. FINANCIAL STATEMENTS

 

Our consolidated financial statements are included at the end of this annual report.

 

ITEM 19. EXHIBITS

 

Exhibit

Number

Description of Document
1.1 Third Amended and Restated Memorandum and Articles of Association of the Registrant (incorporated herein by reference to Exhibit 3.2 to the registration statement on Form F-1 (File No. 333-226790), as amended, initially filed with the Securities and Exchange Commission on August 10, 2018)
   
2.1 Registrant’s Specimen American Depositary Receipt (included in exhibit 2.3)
   
2.2 Registrant’s Specimen Certificate for Ordinary Shares (incorporated herein by reference to Exhibit 4.2 to the registration statement on Form F-1 (File No. 333-226790), as amended, initially filed with the Securities and Exchange Commission on November 7, 2018)
   
2.3 Form of Deposit Agreement, among the Registrant, the depositary and holder of the American Depositary Receipts (incorporated herein by reference to Exhibit (a) to the registration statement on Form F-6 (File No. 333-227701), as amended, initially filed with the Securities and Exchange Commission on October 4, 2018)
   
2.4* Description of Securities
   
4.1 2018 Share Incentive Plan of the Registrant (incorporated herein by reference to Exhibit 10.9 to the registration statement on Form F-1 (File No. 333-226790), as amended, initially filed with the Securities and Exchange Commission on August 10, 2018)
   
4.2 Form of Employment Agreement between the Registrant and its executive officers (incorporated herein by reference to Exhibit 10.2 to the registration statement on Form F-1 (File No. 333-226790), as amended, initially filed with the Securities and Exchange Commission on September 7, 2018)
   
4.3 Form of Indemnification Agreement between the Registrant and its directors and executive officers (incorporated herein by reference to Exhibit 10.1 to the registration statement on Form F-1 (File No. 333-226790), as amended, initially filed with the Securities and Exchange Commission on August 10, 2018)
   
4.4 English translation of the form Share Pledge Agreement among Weidai Co., Ltd., Weidai Financial Information and each shareholder of Weidai Financial Information dated April 10, 2018(incorporated herein by reference to Exhibit 10.4 to the registration statement on Form F-1 (File No. 333-226790), as amended, initially filed with the Securities and Exchange Commission on August 10, 2018)
   
4.5 English translation of the Exclusive Business Cooperation Agreement among Weidai Co., Ltd. and Weidai Financial Information dated April 10, 2018 (incorporated herein by reference to Exhibit 10.5 to the registration statement on Form F-1 (File No. 333-226790), as amended, initially filed with the Securities and Exchange Commission on August 10, 2018)
   
4.6 English translation of the Power of Attorney executed by shareholders of Weidai Financial Information dated April 10, 2018 (incorporated herein by reference to Exhibit 10.3 to the registration statement on Form F-1 (File No. 333-226790), as amended, initially filed with the Securities and Exchange Commission on August 10, 2018)

 

 165 

 

 

Exhibit

Number

  Description of Document
     
4.7   English translation of the Exclusive Call Option Agreement among Weidai Co., Ltd., Weidai Financial Information and shareholders of Weidai Financial Information dated April 10, 2018 (incorporated herein by reference to Exhibit 10.6 to the registration statement on Form F-1 (File No. 333-226790), as amended, initially filed with the Securities and Exchange Commission on August 10, 2018)
     
4.8   English translation of the Spouse Consent Letter signed by the spouse of Mr. Hong Yao dated April 10, 2018 (incorporated herein by reference to Exhibit 10.7 to the registration statement on Form F-1 (File No. 333-226790), as amended, initially filed with the Securities and Exchange Commission on August 10, 2018)
     
4.9   Financial Support Undertaking Letter issued by the Registrant to Weidai Financial Information, dated April 10, 2018 (incorporated herein by reference to Exhibit 10.8 to the registration statement on Form F-1 (File No. 333-226790), as amended, initially filed with the Securities and Exchange Commission on August 10, 2018)
     
4.10   Equity Transfer Agreement among Weidai Hong Kong Limited, the shareholders of Rymo Technology Industry Limited and Rymo Technology Industry Limited dated June 6, 2018 (incorporated herein by reference to Exhibit 10.10 to the registration statement on Form F-1 (File No. 333-226790), as amended, initially filed with the Securities and Exchange Commission on August 10, 2018)
     
4.11   Form Share Pledge Agreement among Weidai Co., Ltd., Yuntuo and each shareholder of Yuntuo dated January 28, 2019 (incorporated herein by reference to Exhibit 4.11 from our annual report on Form 20-F filed with the Securities and Exchange Commission on April 16, 2019)
     
4.12   Exclusive Business Cooperation Agreement among Weidai Co., Ltd. and Yuntuo dated January 28, 2019 (incorporated herein by reference to Exhibit 4.12 from our annual report on Form 20-F filed with the Securities and Exchange Commission on April 16, 2019)
     
4.13   Power of Attorney executed by shareholders of Yuntuo dated January 28, 2019 (incorporated herein by reference to Exhibit 4.13 from our annual report on Form 20-F filed with the Securities and Exchange Commission on April 16, 2019)
     
4.14   Exclusive Call Option Agreement among Weidai Co., Ltd., Yuntuo and shareholders of Yuntuo dated January 28, 2019 (incorporated herein by reference to Exhibit 4.14 from our annual report on Form 20-F filed with the Securities and Exchange Commission on April 16, 2019)
     
4.15   Spouse Consent Letter signed by the spouse of Mr. Hong Yao dated January 28, 2019 (incorporated herein by reference to Exhibit 4.15 from our annual report on Form 20-F filed with the Securities and Exchange Commission on April 16, 2019)

 

8.1* Principal Subsidiaries and Consolidated Variable Interest Entities of the Registrant
   
11.1 Code of Business Conduct and Ethics of the Registrant (incorporated herein by reference to Exhibit 99.1 to the registration statement on Form F-1 (File No. 333-226790), as amended, initially filed with the Securities and Exchange Commission on August 10, 2018)
   
12.1* Certification by Principal Executive Officer Pursuant to Section 302 of the Sarbanes-Oxley Act of 2002
   
12.2* Certification by Principal Financial Officer Pursuant to Section 302 of the Sarbanes-Oxley Act of 2002
   
13.1** Certification by Principal Executive Officer Pursuant to Section 906 of the Sarbanes-Oxley Act of 2002
   
13.2** Certification by Principal Financial Officer Pursuant to Section 906 of the Sarbanes-Oxley Act of 2002
   
15.1* Consent of Ernst & Young Hua Ming LLP, an independent registered public accounting firm
   
15.2* Consent of Marcum Bernstein & Pinchuk LLP, an independent registered public accounting firm
   
15.3* Consent of CM Law Firm
   
16.1* Letter dated June 4, 2020 from Ernst & Young Hua Ming LLP, pertaining to the change in independent public accounting firm 
   
101.INS* XBRL Instance Document
   
101.SCH* XBRL Taxonomy Extension Schema Document
   
101.CAL* XBRL Taxonomy Extension Calculation Linkbase Document
   
101.DEF* XBRL Taxonomy Extension Definition Linkbase Document
   
101.LAB* XBRL Taxonomy Extension Label Linkbase Document
   
101.PRE* XBRL Taxonomy Extension Presentation Linkbase Document
   

 

 

* Filed herewith

** Furnished herewith

 

 166 

 

 

SIGNATURES

 

The registrant hereby certifies that it meets all of the requirements for filing its annual report on Form 20-F and that it has duly caused and authorized the undersigned to sign this annual report on its behalf.

 

    Weidai Ltd.
       
    By:  /s/ Feng Chen
    Name:  Feng Chen
    Title:  Chief Financial Officer

 

Date: June 4, 2020

 

 167 

 

 

WEIDAI LTD.

 

INDEX TO CONSOLIDATED FINANCIAL STATEMENTS

 

  Page
Reports of Independent Registered Public Accounting Firms F-2
   
Consolidated Balance Sheets as of December 31, 2018 and 2019 F-4
   
Consolidated Statements of Comprehensive Income for the Years Ended December 31, 2017, 2018 and 2019 F-7
   
Consolidated Statements of Changes in Shareholders’ Equity for the Years Ended December 31, 2017, 2018 and 2019 F-9
   
Consolidated Statements of Cash Flows for the Years Ended December 31, 2017, 2018 and 2019 F-11
   
Notes to Consolidated Financial Statements for the Years Ended December 31, 2017, 2018 and 2019 F-13

 

 F-1 

 

 

 

REPORT OF INDEPENDENT REGISTERED PUBLIC ACCOUNTING FIRM

 

To the Shareholders and Board of Directors of Weidai Ltd.

 

Opinion on the Financial Statements

 

We have audited the accompanying consolidated balance sheet of Weidai Ltd. (the "Company") as of December 31, 2019, the related consolidated statements of comprehensive income, changes in shareholders' equity and cash flows for the year ended December 31, 2019, and the related notes (collectively referred to as the "financial statements"). In our opinion, the financial statements present fairly, in all material respects, the financial position of the Company as of December 31, 2019 and the results of its operations and its cash flows for the year ended December 31, 2019, in conformity with accounting principles generally accepted in the United States of America.

 

Change in Accounting Principle

 

As discussed in Note 2 to the consolidated financial statements, the Company has changed its method of accounting for revenue recognition in 2019 due to the adoption of Accounting Standards Codification Topic 606, Revenue from Contracts with Customers (Topic 606), as amended, effective January 1, 2019, using the modified retrospective approach.

 

Basis for Opinion

 

These financial statements are the responsibility of the Company’s management. Our responsibility is to express an opinion on the Company’s financial statements based on our audit. We are a public accounting firm registered with the Public Company Accounting Oversight Board (United States) (PCAOB) and are required to be independent with respect to the Company in accordance with the U.S. federal securities laws and the applicable rules and regulations of the Securities and Exchange Commission and the PCAOB.

 

We conducted our audit in accordance with the standards of the PCAOB. Those standards require that we plan and perform the audit to obtain reasonable assurance about whether the financial statements are free of material misstatement, whether due to error or fraud. The Company is not required to have, nor were we engaged to perform, an audit of its internal control over financial reporting. As part of our audit we are required to obtain an understanding of internal control over financial reporting but not for the purpose of expressing an opinion on the effectiveness of the Company’s internal control over financial reporting. Accordingly, we express no such opinion.

 

Our audit included performing procedures to assess the risks of material misstatement of the financial statements, whether due to error or fraud, and performing procedures that respond to those risks. Such procedures included examining, on a test basis, evidence regarding the amounts and disclosures in the financial statements. Our audit also included evaluating the accounting principles used and significant estimates made by management, as well as evaluating the overall presentation of the financial statements. We believe that our audit provides a reasonable basis for our opinion.

 

/s/ Marcum Bernstein & Pinchuk LLP

We have served as the Company’s auditor since 2020

Beijing, China

June 4, 2020

 

 F-2 

 

 

REPORT OF INDEPENDENT REGISTERED PUBLIC ACCOUNTING FIRM

 

To the Shareholders and the Board of Directors of Weidai Ltd.

 

Opinion on the Financial Statements

 

We have audited the accompanying consolidated balance sheet of Weidai Ltd. (the "Company") as of December 31, 2018, the related consolidated statements of comprehensive income, changes in shareholders' equity and cash flows for each of the two years in the period ended December 31, 2018, and the related notes (collectively referred to as the “consolidated financial statements”). In our opinion, the consolidated financial statements present fairly, in all material respects, the financial position of the Company at December 31, 2018, and the results of its operations and its cash flows for each of the two years in the period ended December 31, 2018, in conformity with U.S. generally accepted accounting principles.

 

Basis for Opinion

 

These financial statements are the responsibility of the Company’s management. Our responsibility is to express an opinion on the Company’s financial statements based on our audits. We are a public accounting firm registered with the Public Company Accounting Oversight Board (United States) (PCAOB) and are required to be independent with respect to the Company in accordance with the U.S. federal securities laws and the applicable rules and regulations of the Securities and Exchange Commission and the PCAOB.

 

We conducted our audits in accordance with the standards of the PCAOB. Those standards require that we plan and perform the audit to obtain reasonable assurance about whether the financial statements are free of material misstatement, whether due to error or fraud. The Company is not required to have, nor were we engaged to perform, an audit of its internal control over financial reporting. As part of our audits we are required to obtain an understanding of internal control over financial reporting but not for the purpose of expressing an opinion on the effectiveness of the Company’s internal control over financial reporting. Accordingly, we express no such opinion.

 

Our audits included performing procedures to assess the risks of material misstatement of the financial statements, whether due to error or fraud, and performing procedures that respond to those risks. Such procedures included examining, on a test basis, evidence regarding the amounts and disclosures in the financial statements. Our audits also included evaluating the accounting principles used and significant estimates made by management, as well as evaluating the overall presentation of the financial statements. We believe that our audits provide a reasonable basis for our opinion.

 

 

/s/ Ernst & Young Hua Ming LLP

We served as the Company’s auditor from 2018 to 2020.

Guangzhou, The People’s Republic of China

April 16, 2019

 

 F-3 

 

WEIDAI LTD.

 

CONSOLIDATED BALANCE SHEETS

 

(Amounts in thousands of Renminbi (“RMB”) and US dollar (“US$”),

except for number of shares and per share data)

 

 

   As of December 31, 
   2018   2019 
   RMB   RMB   US$ 

ASSETS

               
Current assets:               
Cash and cash equivalents   1,741,911    1,075,557    154,494 
Restricted cash   1,619,937    1,140,819    163,868 
Loans and advances, net (net of allowance of RMB764,323 and RMB1,257,824 (US$180,675) as of December 31, 2018 and 2019, respectively)   1,482,368    1,517,876    218,029 
Short-term investments   4,100    -    - 
Prepaid expenses and other assets   560,165    441,332    63,393 
Amounts due from related parties   21,797    24,052    3,455 
Total current assets   5,430,278    4,199,636    603,239 
Non-current assets:               
Restricted cash   19,368    -    - 
Long-term investments   13,333    13,574    1,950 
Loans and advances, net (net of allowance of RMB6,027 and RMB1,801 (US$259) as of December 31, 2018 and 2019, respectively)   421,564    49,643    7,131 
Prepaid expenses and other assets   7,606    23,429    3,365 
Property, equipment and software, net   88,731    59,783    8,587 
Goodwill   5,812    5,812    835 
Deferred tax assets   329,796    675,089    96,970 
Total non-current assets   886,210    827,330    118,838 
TOTAL ASSETS   6,316,488    5,026,966    722,077 

 

The accompanying notes are an integral part of the consolidated financial statements.

 

 F-4 

 

 

WEIDAI LTD.

 

CONSOLIDATED BALANCE SHEETS (CONTINUED)

 

(Amounts in thousands of Renminbi (“RMB”) and US dollar (“US$”),

except for number of shares and per share data)

 

 

   As of December 31, 
   2018   2019 
   RMB   RMB   US$ 
LIABILITIES AND SHAREHOLDERS’ EQUITY               
Current liabilities (including current liabilities of the consolidated VIE and subsidiaries without recourse to the primary beneficiary of RMB3,570,407 and RMB2,476,965 (US$355,794) as of December 31, 2018 and 2019, respectively):               
Payable to institutional funding partners and online investors   1,005,236    289,026    41,516 
Current account with online investors and borrowers   2,005,605    1,275,210    183,172 
Income tax payable   70,679    237,102    34,058 
Accrued expenses and other liabilities   501,439    397,406    57,083 
Amounts due to related parties   28,728    29,050    4,173 
Deferred revenue   11,962    -    - 
Contract liabilities   -    271,741    39,033 
Total current liabilities   3,623,649    2,499,535    359,035 
Non-current liabilities (including non-current liabilities of the consolidated VIE and subsidiaries without recourse to the primary beneficiary of RMB475,613 and RMB249,726 (US$35,870) as of December 31, 2018 and 2019, respectively):               
Payable to institutional funding partners and online investors   450,160    51,444    7,389 
Deferred revenue   11,343    -    - 
Contract liabilities   -    198,282    28,481 
Other non-current liabilities   14,110    -    - 
Total non-current liabilities   475,613    249,726    35,870 
Total liabilities   4,099,262    2,749,261    394,905 
                
Commitments and contingencies               

 

The accompanying notes are an integral part of the consolidated financial statements.

 

 F-5 

 

 

WEIDAI LTD.

 

CONSOLIDATED BALANCE SHEETS (CONTINUED)

 

(Amounts in thousands of Renminbi (“RMB”) and US dollar (“US$”), 

except for number of shares and per share data)

 

 

   As of December 31, 
   2018   2019 
   RMB   RMB   US$ 
Shareholders’ equity:               
Class A ordinary shares (par value of US$0.000002 per share; and 35,375,777 and 35,390,055 shares issued and outstanding as of December 31, 2018 and 2019, respectively)   -    -    - 
Class B ordinary shares (par value of US$0.000002 per share; 35,071,400 and 35,071,400 shares issued and outstanding as of December 31, 2018 and 2019, respectively)   1    1    - 
Additional paid-in capital   1,170,956    1,235,752    177,505 
Accumulated other comprehensive loss   (2,700)   (2,510)   (361)
Retained earnings   1,040,443    1,038,323    149,146 
Total Weidai Ltd. shareholder’s equity   2,208,700    2,271,566    326,290 
Noncontrolling interests   8,526    6,139    882 
Total shareholders’ equity   2,217,226    2,277,705    327,172 
TOTAL LIABILITIES AND SHAREHOLDERS’ EQUITY   6,316,488    5,026,966    722,077 

 

The accompanying notes are an integral part of the consolidated financial statements.

 

 F-6 

 

 

WEIDAI LTD.

 

CONSOLIDATED STATEMENTS OF COMPREHENSIVE INCOME

 

(Amounts in thousands of Renminbi (“RMB”) and US dollar (“US$”), 

except for number of shares and per share data)

 

 

   Year ended December 31, 
   2017   2018   2019 
   RMB   RMB   RMB   US$ 
Net revenues:                    
Loan facilitation services (including related party amounts of RMB851, RMB781 and nil for the years ended December 31, 2017, 2018 and 2019, respectively)   2,691,953    3,155,721    -    - 
Post facilitation services   300,185    342,052    -    - 
Loan service fee (including related party amounts of nil, nil and RMB306 (US$44) for the years ended December 31, 2017, 2018 and 2019, respectively)   -    -    2,955,050    424,466 
Other revenues (including related party amounts of RMB3,740, RMB13,362 and nil for the years ended December 31, 2017, 2018 and 2019, respectively)   305,037    189,712    273,433    39,276 
Financing income   303,292    402,750    195,364    28,062 
Less: Funding costs   (39,056)   (156,138)   (50,610)   (7,270)
Net financing income   264,236    246,612    144,754    20,792 
Business related taxes and surcharges   (15,981)   (20,623)   (15,743)   (2,261)
Total net revenues   3,545,430    3,913,474    3,357,494    482,273 
Provision for loans and advances   (484,063)   (751,572)   (1,239,962)   (178,109)
Net revenues after provision for loans and advances   3,061,367    3,161,902    2,117,532    304,164 
Operating costs and expenses:                    
Provision for financial guarantee liabilities   -    (21,712)   (19,206)   (2,759)
Origination and servicing (including related party amounts of RMB260,026, RMB162,853 and RMB73,008 (US$10,485) for the years ended December 31, 2017, 2018 and 2019, respectively)   (1,784,914)   (1,757,935)   (1,388,640)   (199,466)
Sales and marketing (including related party amounts of RMB7,978, RMB9,631 and nil for the years ended December 31, 2017, 2018 and 2019, respectively)   (273,838)   (221,117)   (138,068)   (19,832)
General and administrative (including related party amounts of RMB21,387, RMB276 and nil for the years ended December 31, 2017, 2018 and 2019, respectively)   (316,772)   (379,415)   (281,956)   (40,500)
Research and development   (100,966)   (139,318)   (81,664)   (11,730)
Total operating costs and expenses   (2,476,490)   (2,519,497)   (1,909,534)   (274,287)

 

The accompanying notes are an integral part of the consolidated financial statements

 

 F-7 

 

 

WEIDAI LTD.

 

CONSOLIDATED STATEMENTS OF COMPREHENSIVE INCOME (CONTINUED)

 

(Amounts in thousands of Renminbi (“RMB”) and US dollar (“US$”),

except for number of shares and per share data)

 

 

Income from operations   584,877    642,405    207,998    29,877 
Interest income, net   30,303    66,791    39,616    5,690 
Government subsidies   53,616    70,351    106,873    15,351 
Other (expense) income, net   (772)   (15,288)   13,998    2,011 
Net income before income taxes   668,024    764,259    368,485    52,929 
Income tax expenses   (193,203)   (159,629)   (105,243)   (15,117)
Net income   474,821    604,630    263,242    37,812 
Net income attributable to noncontrolling interests   -    (3,011)   (9,632)   (1,384)
Net income attributable to Weidai Ltd.’s shareholders   474,821    601,619    253,610    36,428 
Dividends declared to preferred shareholders   (8,604)   -    -    - 
Reversal of accretion on Series C preferred shares   -    120,000    -    - 
Net income attributable to ordinary shareholders   466,217    721,619    253,610    36,428 

Earnings per share:

                    
Basic   7.25    10.93    3.60    0.52 
Diluted   7.25    10.93    3.60    0.52 
                     
Shares used in earnings per share computation:                    
Basic   48,392,050    50,954,061    70,449,524    70,449,524 
Diluted   51,466,450    50,954,061    70,449,524    70,449,524 
                     
Other comprehensive (loss) income                    
Foreign currency translation adjustment   -    (2,700)   190    27 
Comprehensive income   474,821    601,930    263,432    37,839 
Comprehensive income attributable to noncontrolling interests   -    (3,011)   (9,632)   (1,384)
Comprehensive income attributable to Weidai Ltd.’s shareholders   474,821    598,919    253,800    36,455 
Dividends declared to preferred shareholders   (8,604)   -    -    - 
Reversal of accretion on Series C preferred shares   -    120,000    -    - 
Comprehensive income attributable to ordinary shareholders   466,217    718,919    253,800    36,455 

 

The accompanying notes are an integral part of the consolidated financial statements.

 

 F-8 

 

 

 

WEIDAI LTD.

 

CONSOLIDATED STATEMENTS OF CHANGES IN SHAREHOLDERS’ EQUITY

 

(Amounts in thousands of Renminbi (“RMB”) and US dollar (“US$”),

except for number of shares and per share data)

 

 

       Attributable to Weidai Ltd.         
       Ordinary Shares   Preferred Shares           (Accumulated   Total Weidai         
       Number of
Shares
   Amount   Number of
Shares
   Amount   Additional
paid-in
capital
   Subscription
receivables
   deficit)/
Retained
earnings
   Ltd.
shareholders’
equity
   Noncontrolling
interests
   Total
shareholders’
equity
 
           RMB       RMB   RMB   RMB   RMB   RMB   RMB   RMB 
Balance as of December 31, 2016       48,392,050    1    -    -    468,352    -    (123,769)   344,584    2,000    346,584 
Dividends declared       -    -    -    -    -    -    (32,228)   (32,228)   -    (32,228)
Acquisition of noncontrolling interests       -    -    -    -    -    -    -    -    (2,000)   (2,000)
Net income       -    -    -    -    -    -    474,821    474,821    -    474,821 
Balance as of December 31, 2017       48,392,050    1    -    -    468,352    -    318,824    787,177    -    787,177 

 

The accompanying notes are an integral part of the consolidated financial statements.

 

 F-9 

 

 

WEIDAI LTD.

 

CONSOLIDATED STATEMENTS OF CHANGES IN SHAREHOLDERS’ EQUITY (CONTINUED)

 

(Amounts in thousands of Renminbi (“RMB”) and US dollar (“US$”),

except for number of shares and per share data)

 

 

   Attributable to Weidai Ltd.    
   Ordinary Shares   Preferred Shares   Class A ordinary shares   Class B ordinary shares                         
   Number of
Shares
   Amount   Number of
Shares
   Amount   Number of
shares
   Amount   Number of
shares
   Amount  

Additional
paid-in
capital

   Accumulated
other
comprehensive
loss
   Retained
earnings
   Total Weidai Ltd.
shareholders’ equity
   Noncontrolling
interests
   Total shareholders’
equity
 
       RMB       RMB       RMB       RMB   RMB   RMB   RMB   RMB   RMB   RMB 
Balance as of December 31, 2017   48,392,050    1    -    -    -    -    -    -    468,352    -    318,824    787,177    -    787,177 
Modification of Series A preferred shares   -    -    9,146,250    18,856    -    -    -    -    -    -    -    18,856    -    18,856 
Conversion of ordinary shares to Class B ordinary shares   (35,071,400)   (1)   -    -    -    -    35,071,400    1    -    -    -    -    -    - 
Conversion of ordinary shares to Class A ordinary shares   (13,320,650)   -    -    -    13,320,650    -    -    -    -    -    -    -    -    - 
Conversion of preferred shares to Class A ordinary shares   -    -    (9,146,250)   (18,856)   17,098,700    -    -    -    268,910    -    -    250,054    -    250,054 
Issuance of ordinary shares upon Initial Public Offering ("IPO") and underwriters’ exercise of over-allotment, net of issuance costs   -    -    -    -    4,956,427    -    -    -    286,403    -    -    286,403    -    286,403 
Share-based compensation   -    -    -    -    -    -    -    -    147,291    -    -    147,291    -    147,291 
Establishment of a subsidiary   -    -    -    -    -    -    -    -    -    -    -    -    4,900    4,900 
Acquisition of a subsidiary   -    -    -    -    -    -    -    -    -    -    -    -    615    615 
Other comprehensive loss   -    -    -    -    -    -    -    -    -    (2,700)   -    (2,700)   -    (2,700)
Net income   -    -    -    -    -    -    -    -    -    -    601,619    601,619    3,011    604,630 
Reversal of accretion on Series C preferred shares   -    -    -    -    -    -    -    -    -    -    120,000    120,000    -    120,000 
Balance as of December 31, 2018   -    -    -    -    35,375,777    -    35,071,400    1    1,170,956    (2,700)   1,040,443    2,208,700    8,526    2,217,226 
Adoption of ASC 606   -    -    -    -    -    -    -    -    -    -    (255,730)   (255,730)   -    (255,730)
Balance as of January 1, 2019   -    -    -    -    35,375,777    -    35,071,400    1    1,170,956    (2,700)   784,713    1,952,970    8,526    1,961,496 
Dividends declared by a subsidiary   -    -    -    -         -    -    -    -    -    -    -    (6,646)   (6,646)
Exercise of restricted shares   -    -    -    -    14,278    -    -    -    -    -    -    -    -    - 
Disposal of a subsidiary   -    -    -    -    -    -    -    -    -    -    -    -    (5,373)   (5,373)
Shared-based compensation   -    -    -    -    -    -    -    -    64,796    -    -    64,796    -    64,796 
Other comprehensive loss   -    -    -    -    -    -    -    -    -    190    -    190    -    190 
Net income   -    -    -    -    -    -    -    -    -    -    253,610    253,610    9,632    263,242 
Balance as of December 31, 2019   -    -    -    -    35,390,055    -    35,071,400    1    1,235,752    (2,510)   1,038,323    2,271,566    6,139    2,277,705 
Balances as of December 31, 2019, in US$        -         -         -         -    177,505    (361)   149,146    326,290    882    327,172 

 

The accompanying notes are an integral part of the consolidated financial statements. 

 F-10 

 

 

WEIDAI LTD.

 

CONSOLIDATED STATEMENTS OF CASH FLOWS

 

(Amounts in thousands of Renminbi (“RMB”) and US dollar (“US$”),

except for number of shares and per share data)

 

 

   Year ended December 31, 
   2017   2018   2019 
   RMB   RMB   RMB   US$ 
Cash flows from operating activities:                    
Net income   474,821    604,630    263,242    37,812 
Adjustments to reconcile net income to net cash provided by operating activities:                    
Provision for loans and advances   484,063    751,572    1,239,962    178,109 
Depreciation and amortization   12,747    42,431    42,586    6,117 
Loss on disposal of property and equipment   -    7,305    1,721    247 
Share-based compensation expenses   40,719    106,571    64,796    9,307 
Loss on disposals of cost method
investments
   -    963    -    - 
Changes in operating assets and liabilities:                    
Prepaid expenses and other assets   (24,895)   (67,408)   110,010    15,803 
Amounts due from related parties   65,032    (12,629)   (2,255)   (324)
Deferred tax assets   (124,887)   (171,230)   (260,050)   (37,354)
Current account with online investors and borrowers   993,254    122,159    (730,395)   (104,915)
Income tax payable   131,888    (172,659)   166,423    23,905 
Accrued expenses and other liabilities   231,062    30,514    (114,995)   (16,515)
Amounts due to related parties   1,352    (34,172)   322    46 
Deferred revenue and Contract liabilities   (1,079)   6,727    105,745    15,189 
Net cash provided by operating activities   2,284,077    1,214,774    887,112    127,427 
                     
Cash flows from investing activities:                    
Purchase of short-term investments   (11,423,820)   (3,687,100)   (5,500)   (790)
Redemption of short-term investments   11,415,320    3,691,500    9,600    1,379 
Payments to originate loans and advances   (6,885,314)   (7,430,624)   (11,053,947)   (1,587,800)
Proceeds from collection of loans and advances   4,360,261    7,103,783    10,150,398    1,458,013 
Addition of long-term investments   (346,000)   (1,513,040)   (241)   (35)
Redemption of long-term investments   -    1,563,040    -    - 
Disposals of cost method investments   -    295,037    -    - 
Cash and cash equivalents paid for business combinations   -    (4,500)   -    - 
Cash and cash equivalents acquired from business combinations   -    8,045    -    - 
Purchase of property, equipment and software   (62,368)   (32,609)   (22,359)   (3,212)
Net cash used in investing activities   (2,941,921)   (6,468)   (922,049)   (132,445)
                     
Cash flows from financing activities:                    
Proceeds from short-term borrowings   200,000    (200,000)   -    - 
Proceeds from institutional funding partners and    online investors   4,627,087    3,399,266    -    - 
Payments to institutional funding partners and online investors   (2,587,336)   (4,193,719)   (1,114,926)   (160,149)
Proceeds (payment) for IPO and underwriters’ exercise of over-allotment, net of issuance costs   -    302,670    (15,167)   (2,179)
Contribution from noncontrolling interests   -    4,900    -    - 
Distribution to noncontrolling interests   (2,000)   -    -    - 
Payments of dividends to shareholders   (32,228)   -    -    - 
Net cash provided by (used in) financing activities   2,205,523    (686,883)   (1,130,093)   (162,328)

 

The accompanying notes are an integral part of the consolidated financial statements.

 

 F-11 

 

 

WEIDAI LTD.

 

CONSOLIDATED STATEMENTS OF CASH FLOWS (CONTINUED)

 

(Amounts in thousands of Renminbi (“RMB”) and US dollar (“US$”),

except for number of shares and per share data)

 

 

Effect of exchange rate changes on cash, cash equivalents and restricted cash   -     (2,700)   190    27 
Net increase (decrease) in cash, cash equivalents and restricted cash   1,547,679    518,723    (1,164,840)   (167,319)
Cash, cash equivalents and restricted cash at the beginning of the year   1,314,814    2,862,493    3,381,216    485,681 
Cash, cash equivalents and restricted cash at the end of the year   2,862,493    3,381,216    2,216,376    318,362 
                     
Supplemental disclosure of cash flow information:                    
Interest paid   43,524    161,735    50,610    7,270 
Income taxes paid   219,988    494,928    255,309    36,673 
                     
Non-cash activities:                    
Accretion on Series C convertible redeemable preferred shares to redemption value   -    120,000    -    - 
Deferred IPO costs included in accrued expenses and other liabilities   -    16,267    -    - 
                     
Reconciliation of cash, cash equivalents and restricted cash                    
Cash and cash equivalents   1,765,572    1,741,911    1,075,557    154,494 
Restricted cash – current   1,092,921    1,619,937    1,140,819    163,868 
Restricted cash – non-current   4,000    19,368    -    - 
Total cash, cash equivalents and restricted cash shown in the statement of cash flows   2,862,493    3,381,216    2,216,376    318,362 

 

The accompanying notes are an integral part of the consolidated financial statements.

 

 F-12 

 

 

 

WEIDAI LTD.

 

NOTES TO THE CONSOLIDATED FINANCIAL STATEMENTS

 

(Amounts in thousands of Renminbi (“RMB”) and US dollar (“US$”),

except for number of shares and per share data)

 

 

1.Organization

 

Weidai Ltd. (the “Company”) was incorporated as a limited company under the law of Cayman Islands on January 26, 2018. The Company does not conduct any substantive operations on its own but instead conducts its business operations through its subsidiaries, variable interest entity (“VIE”) and subsidiaries of the VIE. The Company, its subsidiaries, VIE and subsidiaries of the VIE are hereinafter collectively referred to as the “Group”. The Company is principally engaged in the online finance marketplace business in the People’s Republic of China (the “PRC”). As described below, the Company, through a series of transactions which is accounted for as a reorganization of entities under common control (the “Reorganization”), became the ultimate parent entity of its subsidiaries, VIE and subsidiaries of VIE. Accordingly, these consolidated financial statements reflect the historical operations of the company as if the current organization structure had been in existence throughout the periods presented.

 

Reorganization transactions

 

In preparation of its IPO in the United States, the following transactions were undertaken to reorganize the legal structure of the Company. On February 5, 2018, the Company set up a wholly-owned subsidiary, Weidai HK Limited (“Weidai HK”) in Hong Kong. On March 15, 2018, Weidai HK set up a wholly-owned subsidiary, Weidai Co., Ltd. (“Weidai Co.”) in the PRC. On April 10, 2018, the Company, through Weidai Co., entered into a series of contractual agreements with Weidai (Hangzhou) Financial Information Service Ltd. (“Weidai (Hangzhou), or the “VIE”) and its shareholders (the “VIE Agreements”) to transfer the business operations of the VIE to the Company. In return, the Company issued 48,392,050 of ordinary shares to YAOH WDAI LTD, an entity controlled by Mr. Yao Hong (“the Founder”) and the other ordinary shareholders of the VIE, as well as 9,146,250 of Series A preferred shares, 1,829,250 of Series A+ preferred shares, 3,048,800 of Series B preferred shares, 3,074,400 of Series C preferred shares to the respective series of preferred shareholders of the VIE. On January 28, 2019, the Company, through Weidai Co., entered into a series of contractual arrangements with Yuntuo Group Co., Ltd. (“Yuntuo”, or the VIE) and its shareholders (the “VIE Agreements”), to conduct a portion of the business through Yuntuo.

 

As all the entities involved in the process of the Reorganization are under common control before and after the Reorganization, the Reorganization is accounted for in a manner similar to a pooling-of-interest with the assets and liabilities of the parties to the Reorganization carried over at their historical amounts.

 

On November 15, 2018, the Company completed its IPO on the New York Stock Exchange (Note 15). 

 

 F-13 

 

 

WEIDAI LTD.

 

NOTES TO THE CONSOLIDATED FINANCIAL STATEMENTS

 

(Amounts in thousands of Renminbi (“RMB”) and US dollar (“US$”),

except for number of shares and per share data)

 

As of December 31, 2019, the Company’s subsidiaries, VIEs and primary subsidiaries of VIEs are as follows:

 

Entity  Date of
incorporation
   Place of
incorporation
  Percentage
of legal
ownership
by the
Company
   Principal activities
Subsidiaries                
Weidai HK Limited   February 5, 2018   Hong Kong   100%  Investment holding
Weidai Co., Ltd.   March 15, 2018   PRC   100%  Investment holding
Rymo Technology Industry Limited   September 22, 2009   Hong Kong   100%  Investment holding
Weidai Singapore PTE. LTD.   February 28, 2019   Singapore   100%  Online finance marketplace business
QianTang (Philippines) Lending Inc.   May 31, 2019   Philippines   100%  Online finance marketplace business
Zhejiang Qunshuo Electronics Co., Ltd.   August 7, 2014   PRC   100%  Internet Technology
Youxian Weirui Technology Co., Ltd.   June 17, 2019   PRC   100%  Internet Technology
Shanghai Zaohui Finance Lease Co., Ltd.   December 18, 2015   PRC   100%  Asset Management
Hangzhou Weian Finance Lease Co., Ltd.   October 21, 2016   PRC   100%  Asset Management

 

 

 F-14 

 

  

WEIDAI LTD.

 

NOTES TO THE CONSOLIDATED FINANCIAL STATEMENTS

 

(Amounts in thousands of Renminbi (“RMB”) and US dollar (“US$”),

except for number of shares and per share data)

 

 

Entity   Date of
incorporation
    Place of
incorporation
   Percentage
of legal
ownership
by the
Company
  Principal activities
VIEs                
Weidai (Hangzhou) Financial Information Service Ltd.   December 25, 2014    PRC   Nil  Online finance marketplace business
Yuntuo Group Co., Ltd.   January 15, 2019    PRC   Nil  Online finance marketplace business
                 
Subsidiaries of the VIEs                
Qianwei (Hangzhou) Technology Co., Ltd.   September 29, 2015    PRC   Nil  Asset Management
Ruituo (Hangzhou) Internet Financial Information Services Co., Ltd.   July 30, 2015    PRC   Nil  Asset Management
Yiwu Weirui Internet Technology Co., Ltd.   September 29, 2015    PRC   Nil  Asset Management
Hangzhou Yiqitou Investment Advisory Co., Ltd.   October 28, 2016    PRC   Nil  Consulting
Liangche (Hangzhou) Internet Technology Co., Ltd.   February 21, 2017    PRC   Nil  Internet Technology
Hangzhou Yaowei Technology Co., Ltd.   January 24, 2018    PRC   Nil  Technology development and service
Hangzhou Jiujiu Financial Information Services Co., Ltd.   August 25, 2015    PRC   Nil  Finance information service
Hangzhou Hengting Information Consultancy Co., Ltd.   December 11, 2019    PRC   Nil  Information Consulting
Shanghai Tingji Technology Co., Ltd.   September 24, 2019    PRC   Nil  Internet Technology
Haikou Chengfan Technology Co., Ltd.   September 25, 2019    PRC   Nil  Internet Technology
Beihai Hongri Technology Co., Ltd.   August 30, 2019    PRC   Nil  Internet Technology
Beijing Jiyun Technology Co., Ltd.   July 2, 2019    PRC   Nil  Internet Technology
Fuzhou Weidai Online Microcredit Co., Ltd.   June 23, 2017    PRC   Nil  Micro-loan business
Hangzhou Yaohong Technology Co., Ltd.   April 7, 2016    PRC   Nil  Internet Technology

 

As PRC laws and regulations prohibit and restrict foreign ownership of internet value-added businesses, the Company operates its websites and primarily conducts its business in PRC through the VIEs and the subsidiaries of the VIEs. On April 10, 2018 and January 28, 2019, the Company entered into share pledge agreements with the nominee shareholders of the VIEs through its wholly-owned subsidiary in the PRC, for the equity interests in the VIEs held by the shareholders of the VIEs. In addition, the Company entered into a power of attorney and an exclusive call option agreement with the VIEs and nominee shareholders of the VIEs through its wholly-owned subsidiaries in the PRC, which provide its wholly-owned subsidiary the power to direct the activities that most significantly affect the economic performance of the VIEs and to acquire the equity interests in the VIEs when permitted by the PRC laws, respectively. The Company agreed to provide unlimited financial support to the VIEs for its operations which obligated the Company to absorb losses of the VIEs that could potentially be significant to the VIEs. In addition, pursuant to the resolution of all shareholders of the Company and the resolution of the board of directors of the Company on April 10, 2018 and January 28, 2019 (the “Resolutions”), the rights under the aforementioned power of attorney and the exclusive call option agreement were assigned to the board of directors of the Company (the “Board”) or any officer authorized by the Board, which entitle the Company or its wholly-owned subsidiary to receive economic benefits from the VIEs that potentially could be significant to the VIEs.

 

 

 F-15 

 

 

WEIDAI LTD.

 

NOTES TO THE CONSOLIDATED FINANCIAL STATEMENTS

 

(Amounts in thousands of Renminbi (“RMB”) and US dollar (“US$”),

except for number of shares and per share data)

 

 

Despite the lack of technical majority ownership, the Company has effective control of the VIEs through a series of VIE Agreements and a parent-subsidiary relationship exists between the Company and the VIEs. Through the VIE Arrangements, the shareholders of the VIEs effectively assigned all of their voting rights underlying their equity interest in the VIEs to the Company. In addition, through the exclusive business operation agreement, the Company, through its wholly-owned subsidiary in the PRC, have the right to receive economic benefits from the VIEs that potentially could be significant to the VIEs. Lastly, through the financial support undertaking letter, the Company has the obligation to absorb losses of the VIEs that could potentially be significant to the VIEs. Therefore, the Company is considered the primary beneficiary of the VIEs and consolidates the VIEs and its subsidiaries as required by SEC Regulation S-X Rule 3A-02 and ASC topic 810 (“ASC 810”), Consolidation.

 

The principal terms of the VIE Agreements are further described below:

 

(1) Power of Attorney:

 

Pursuant to the power of attorney signed between Weidai (Hangzhou)’s and Yuntuo’s nominee shareholders and Weidai Co., each nominee shareholder irrevocably appointed Weidai Co. as its attorney-in-fact to exercise on such shareholder’s behalf any and all rights that such shareholder has in respect of its equity interest in Weidai (Hangzhou) and Yuntuo (including but not limited to executing the exclusive right to purchase agreements, the voting rights and the right to appoint directors and executive officers of Weidai (Hangzhou) and Yuntuo. This agreement is effective and irrevocable as long as the nominee shareholder remains a shareholder of Weidai (Hangzhou) and Yuntuo.

 

(2) Exclusive Call Option Agreement:

 

Pursuant to the exclusive call option agreement entered into amongst the Company, Weidai (Hangzhou)’s and Yuntuo’s nominee shareholders and Weidai Co., the nominee shareholders irrevocably granted Weidai Co. a call option to request the nominee shareholders to transfer or sell any part or all of its equity interests in the VIEs, or any or all of the assets of VIEs, to Weidai Co., or its designees. The purchase price of the equity interests in the VIEs is equal to the minimum price required by PRC law. The purchase price of the VIEs’ assets is equal to the book value of the assets or the minimum price as permitted by applicable PRC law, whichever is higher. Without Weidai Co.’s prior written consent, the VIEs and its nominee shareholders may not amend its articles of association, increase or decrease the registered capital, sell or otherwise dispose of its assets or beneficial interest, create or allow any encumbrance on its assets or other beneficial interests and provide any loans or guarantees, etc. The nominee shareholders cannot request any dividends or other form of assets. If dividends or other form of assets are distributed, the nominee shareholders are required to transfer all distribution received to Weidai Co. or their designees. This agreement is not terminated until all of the equity interest of the VIEs has been transferred to Weidai Co. or the person(s) designated by Weidai Co. None of the nominee shareholders have the right to terminate or revoke the agreement under any circumstance unless otherwise regulated by law.

 

(3) Exclusive Business Cooperation Agreement:

 

Pursuant to the exclusive business cooperation agreement entered into amongst Weidai Co. and Weidai (Hangzhou) and Yuntuo, Weidai Co. provides exclusive technical support and consulting services in return for fees based on 100% of Weidai (Hangzhou)’s net income, which is adjustable at the sole discretion of Weidai Co.. Without Weidai Co.’s consent, the VIEs and its subsidiaries cannot procure services from any third party or enter into similar service arrangements with any other third party, except for the ones appointed by Weidai Co.. This agreement is irrevocable or can only be unilaterally revoked or amended by Weidai Co.

 

 

 F-16 

 

 

WEIDAI LTD.

 

NOTES TO THE CONSOLIDATED FINANCIAL STATEMENTS

 

(Amounts in thousands of Renminbi (“RMB”) and US dollar (“US$”),

except for number of shares and per share data)

 

 

(4) Share Pledge Agreement:

 

Pursuant to the share pledge agreements amongst the Company and Weidai (Hangzhou)’s and Yuntuo’s nominee shareholders, each nominee shareholder of the VIEs pledged all of their respective equity interests in the VIEs to Weidai Co. as continuing first priority security interest to guarantee the performance of these nominee shareholders and the VIEs’ obligations under the shareholder voting rights proxy agreement, the exclusive call option agreement and the exclusive business cooperation agreement. Weidai Co. is entitled to all dividends during the effective period of the share pledge except as it agrees otherwise in writing. If Weidai (Hangzhou) and Yuntuo or any of the nominee shareholder breaches its contractual obligations, Weidai Co. is entitled to certain rights regarding the pledged equity interests, including the right to receive proceeds from the auction or sale of all or part of the pledged equity interests of Weidai (Hangzhou) and Yuntuo in accordance with PRC law. None of the nominee shareholders may, without the prior written consent of Weidai Co., assign or transfer to any third party, distribute dividends and create or cause any security interest and any liability in whatsoever form to be created on, all or any part of the equity interests it holds in the VIEs. This agreement is not terminated until all of the technical support and consulting and service fees are fully paid under the exclusive business cooperation agreement and all of Weidai (Hangzhou)’s and Yuntuo’s obligations have been terminated under the other controlling agreements. As of May 23, 2018, the Company completed the registration of all the equity pledges with the relevant office of the administration for industry and commerce in accordance with the PRC Property Rights Law for Weidai (Hangzhou). As of March 1, 2019, the Company completed the registration of all the equity pledges with the relevant office of the administration for industry and commerce in accordance with the PRC Property Rights Law for Yuntuo.

 

(5) Financial support undertaking letter:

 

Pursuant to the financial support undertaking letter, the Company is obligated to provide unlimited financial support to the Weidai (Hangzhou), to the extent permissible under the applicable PRC laws and regulations. The Company will not request repayment of the loans or borrowings if the Weidai (Hangzhou) or its shareholders do not have sufficient funds or are unable to repay.

 

(6) Resolutions of all shareholders and resolution of the board of directors of Weidai Ltd.:

 

The shareholders and the Company’s Board resolved that the rights under the shareholder voting rights proxy agreements and the exclusive call option agreements were assigned to the board of directors of the Company or any officer authorized by the Board.

 

In the opinion of the Company’s legal counsel, (i) the ownership structure of the Company and its VIEs is in compliance with PRC laws and regulations; (ii) the contractual arrangements with the VIEs and their shareholders are valid and binding, and not in violation of current PRC laws or regulations; (iii) the resolutions are valid in accordance with the articles of association of the Company and Cayman Islands law.

 

However, uncertainties in the PRC legal system could cause the Company’s current ownership structure to be found in violation of existing and/or future PRC laws or regulations and could limit the Company’s ability to enforce its rights under these contractual arrangements. Furthermore, the nominee shareholders of the VIEs may have interests that are different from those of the Company, which could potentially increase the risk that they would seek to act contrary to the terms of the contractual agreements with the VIEs.

 

In addition, if the current structure or any of the contractual arrangements were found to be in violation of any existing or future PRC laws or regulations, the Company may be subject to penalties, including but not be limited to, revocation of business and operating licenses, discontinuing or restricting business operations, restricting the Company’s right to collect revenues, temporary or permanent blocking of the Company’s internet financial services platforms, restructuring of the Company’s operations, imposition of additional conditions or requirements with which the Company may not be able to comply, or other regulatory or enforcement actions against the Company that could be harmful to its business. The imposition of any of these or other penalties could have a material adverse effect on the Company’s ability to conduct its business.

 

 

 F-17 

 

 

WEIDAI LTD.

 

NOTES TO THE CONSOLIDATED FINANCIAL STATEMENTS

 

(Amounts in thousands of Renminbi (“RMB”) and US dollar (“US$”),

except for number of shares and per share data)

 

 

The table sets forth the assets and liabilities of the VIEs and subsidiaries of VIEs included in the Company’s consolidated balance sheets:

 

   As of December 31, 
   2018   2019 
   RMB   RMB   US$ 
Current assets:               
Cash and cash equivalents   1,419,293    539,491    77,493 
Restricted cash   1,619,937    1,140,819    163,868 
Loans and advances, net   1,482,368    1,517,876    218,029 
Short-term investments   4,100    -    - 
Prepaid expenses and other assets   553,251    438,842    63,036 
Amounts due from related parties   42,680    49,815    7,155 
Total current assets   5,121,629    3,686,843    529,581 
Non-current assets:               
Restricted cash   19,368    -    - 
Long-term investments   13,333    13,333    1,915 
Loans and advances, net   421,564    49,643    7,131 
Prepaid expenses and other assets   7,606    23,429    3,365 
Property, equipment and software, net   88,684    58,638    8,423 
Goodwill   3,067    3,067    441 
Deferred tax assets   329,796    675,089    96,970 
Total non-current assets   883,418    823,199    118,245 
Total assets   6,005,047    4,510,042    647,826 

 

Current liabilities:               
Payable to institutional funding partners and online investors   1,005,236    289,026    41,516 
Current account with online investors and borrowers   2,005,605    1,275,210    183,172 
Income tax payable   59,461    228,573    32,832 
Accrued expenses and other liabilities   459,415    383,365    55,067 
Amounts due to related parties   452,518    628,414    90,266 
Contract liabilities   -    271,741    39,033 
Deferred revenue   11,962    -    - 
Total current liabilities   3,994,197    3,076,329    441,886 
Non-current liabilities:               
Payable to institutional funding partners and online investors   450,160    51,444    7,389 
Contract liabilities   -    198,282    28,481 
Deferred revenue   11,343    -    - 
Other non-current liabilities   14,110    -    - 
Total non-current liabilities   475,613    249,726    35,870 
Total liabilities   4,469,810    3,326,055    477,756 

 

 

 F-18 

 

 

WEIDAI LTD.

 

NOTES TO THE CONSOLIDATED FINANCIAL STATEMENTS

 

(Amounts in thousands of Renminbi (“RMB”) and US dollar (“US$”),

except for number of shares and per share data)

 

 

The table sets forth the results of operations of the VIEs and subsidiaries of VIEs included in the Company’s consolidated statements of comprehensive income:

 

   Year ended December 31, 
   2017   2018   2019 
   RMB   RMB   RMB   US$ 
Net revenues   3,545,430    3,917,701    2,709,562    389,204 
Net income   474,821    231,872    27,298    3,921 

 

The table sets forth the cash flows of the VIEs and subsidiaries of VIEs included in the Company’s consolidated statements of cash flows:

 

   Year ended December 31, 
   2017   2018   2019 
   RMB   RMB   RMB   US$ 
Net cash provided by operating activities   2,284,077    1,204,835    2,242,135    322,063 
Net cash used in investing activities   (2,941,921)   (9,916)   (913,760)   (131,253)
Net cash provided by (used in) financing activities   2,205,523    (998,814)   (1,114,926)   (160,149)

 

As of December 31, 2018 and 2019, there was no pledge or collateralization of the assets of the VIEs and its subsidiaries. The amount of the net assets of the VIEs and subsidiaries of VIEs was RMB1,535,237 and RMB1,183,987 (US$170,070) as of December 31, 2018 and 2019, respectively. The creditors of the VIEs and subsidiaries of VIEs’ third-party liabilities did not have recourse to the general credit of the primary beneficiary in the normal course of business. The Company did not provide nor intended to provide additional financial or other support not previously contractually required to the VIEs and subsidiaries of VIEs during the years presented.

 

 

 F-19 

 

 

WEIDAI LTD.

 

NOTES TO THE CONSOLIDATED FINANCIAL STATEMENTS

 

(Amounts in thousands of Renminbi (“RMB”) and US dollar (“US$”),

except for number of shares and per share data)

 

 

2.Summary of Significant Accounting Policies

 

Basis of presentation

 

The consolidated financial statements of the company have been prepared in accordance with United States generally accepted accounting principles (“U.S. GAAP”).

 

Principles of consolidation

 

The consolidated financial statements include the financial statements of the Company, its subsidiaries, VIEs and VIEs’ subsidiaries for which the Company is the primary beneficiary. All significant inter-company balances and transactions between the Company, its subsidiaries, VIEs and VIEs’ subsidiaries are eliminated upon consolidation.

 

Use of estimates

 

The preparation of consolidated financial statements in conformity with U.S. GAAP requires management to make estimates and assumptions that affect the reported amounts of assets and liabilities, disclosures of contingent assets and liabilities at the date of the financial statements and the reported amounts of revenues and expenses during the reporting period. Significant accounting estimates reflected in the Company's consolidated financial statements include, but are not limited to, revenue recognition, allowance for loans and advances, financial assets receivable and guarantee liabilities, useful life of long-lived assets, share-based compensation, valuation allowance for deferred tax assets, uncertain tax positions, short-term and long-term investments, and the purchase price allocation with respect to business combinations and impairment of goodwill. Management bases these estimates on its historical experience and on various other assumptions that are believed to be reasonable, the results of which form the basis for making judgments about the carrying values of assets and liabilities. Actual results could differ from these estimates.

 

Foreign currency translation and transactions

 

The Company uses Renminbi (“RMB”) as its reporting currency. The functional currencies of the Company’s entities incorporated in Cayman Islands and Hong Kong are US$. The functional currencies of the Company’s PRC subsidiary, VIE and VIE’s subsidiaries are the RMB. The determination of the respective functional currency is based on the criteria stated in ASC 830, Foreign Currency Matters.

 

The financial statements of the Company and Weidai HK are translated from the functional currency to the reporting currency, RMB. Monetary assets and liabilities of the subsidiaries are translated into RMB using the exchange rate in effect at each balance sheet date. Income and expenses items are translated at the average exchange rate prevailing during the fiscal year. Translation gains and losses are accumulated in other comprehensive income, as a component of shareholders’ equity on the consolidated financial statements.

 

Transactions denominated in other than the functional currencies are remeasured into the functional currency of the entity at the exchange rates prevailing on the transaction dates. Financial assets and liabilities denominated in other than the functional currency are re-measured into the functional currency at the exchange rates prevailing at the balance sheet date. The foreign exchange differences are recorded in the consolidated statements of comprehensive income.

 

 

 F-20 

 

 

WEIDAI LTD.

 

NOTES TO THE CONSOLIDATED FINANCIAL STATEMENTS

 

(Amounts in thousands of Renminbi (“RMB”) and US dollar (“US$”),

except for number of shares and per share data)

 

 

Convenience translation

 

Translations of amounts from RMB into US$ for the convenience of the readers have been calculated at the exchange rate of RMB6.9618 per US$1.00 on December 31, 2019, the last business day in fiscal year 2019, representing the noon buying rate set forth in the H.10 statistical release of the U.S. Federal Reserve Board. No representation is made that the RMB amounts could have been, or could be converted, realized or settled into US$ at such rate or at any other rate.

 

Cash and cash equivalents

 

Cash and cash equivalents primarily consist of cash and bank deposits, which are unrestricted as to withdrawal and use. The Company considers all highly liquid investments that are readily convertible to known amounts of cash and with original maturities from the date of purchase of three months or less to be cash equivalents.

 

Restricted cash

 

The Company’s restricted cash mainly represents (i) cash received but has not yet been disbursed, including idle funds due to investors whom recharge to the accounts on the platform but have not yet invested or fully funded the loans and funds due to borrowers that investors lend to borrowers but borrowers have not yet withdrawn. Such funds were processed through a designated bank account. As of December 31, 2018, and 2019, the restricted cash related to cash not yet disbursed amounted to RMB1,583,178 and RMB1,020,151 (US$146,535), respectively; and (ii) cash held by banks as guarantee deposits paid on contracts and other restrictions amounted to RMB56,127 and RMB120,668 (US$17,333) as of December 31, 2018 and 2019, respectively.

 

Short-term investments

 

Short term investments consist of held-to-maturity investments and available-for-sale investments.

 

Investments classified as held-to-maturity investments are stated at amortized cost. Investments classified as available-for-sale investments are carried at their fair values and the unrealized gains or losses from the changes in fair values are reported net of tax in accumulated other comprehensive income until realized.

 

The Company’s available-for-sale debt securities consist of financial products with maturities of less than one year purchased from commercial banks.

 

The Company reviews its investments for other-than-temporary impairment (“OTTI”) based on the specific identification method. The Company considers available quantitative and qualitative evidence in evaluating potential impairment of its investments. If the cost of an investment exceeds the investment’s fair value, the Company considers, among other factors, general market conditions, expected future performance of the investees, the duration and the extent to which the fair value of the investment is less than the cost, and the Company’s intent and ability to hold the investment. OTTI is recognized as a loss in the income statement.

 

 

 F-21 

 

 

WEIDAI LTD.

 

NOTES TO THE CONSOLIDATED FINANCIAL STATEMENTS

 

(Amounts in thousands of Renminbi (“RMB”) and US dollar (“US$”),

except for number of shares and per share data)

 

 

Loans and advances, net

 

Loans and advances represent payments due from borrowers. Loans and advances are recorded at amortized cost (i.e. unpaid principal and deferred origination costs), net of allowance for loans and advances. Deferred origination costs are netted against net financing income and amortized over the financing term using the effective interest method.

 

The Company does not accrue interest income on loan principals that are considered impaired or past due. A corresponding allowance is determined under ASC 450-20 and allocated accordingly. After an impaired loan has been placed on nonaccrual status, interest receivable will be recognized when cash is received by applying first to reduce loan principal and then to interest income thereafter. Interest income accrued but not received is generally reversed against interest income. Interest receivables may be returned to accrual status after all of the borrower’s delinquent balances of loan principal and interest have been settled and the borrower remains current for an appropriate period.

 

Allowance for loans and advances

 

The Company segregates the loans into secured and unsecured, and then into various portfolios, i.e. automobile and home equity, etc. and applies its credit risk management framework to the various portfolio of loans in accordance with ASC 450-20, Loss Contingencies.

 

The allowance for loans and advances losses is calculated based on the Company’s historical loss experience using a roll rate-based model. The roll rate-based model stratifies the loan principal and interest receivables by delinquency stages (i.e., current, 1-30 days past due, and 31-60 days past due etc.) and projected forward in one-month increments using historical roll rates. In each month of the simulation, losses on the loans and advances types are captured, and the ending delinquency stratification serves as the beginning point of the next iteration. This process is repeated on a monthly rolling basis. The loss rate calculated for each delinquency stage is then applied to the respective loans and advances balance. The Company adjusts the allowance that is determined by the roll rate-based model for various Chinese macroeconomic factors i.e. gross-domestic product rates, per capita disposable income, interest rates and consumer price indexes. Each of these macroeconomic factors are equally weighted, and a score is applied to each factor based on year-on-year increases and decreases in that respective factor.

 

Loans are charged off when a settlement is reached for an amount that is less than the outstanding balance or when the Company has determined the balance is uncollectable. In general, unsecured loans are charged off when outstanding loans are 180 days past due. Secured loans may be charged off upon the death of the borrower, significant damage to the collateral, and when the Company considers the balance to be uncollectable.

 

Acquired non-performing loans

 

The Company records acquired non-performing loans in accordance with ASC310-30, Loan and Debt Securities with Deteriorated Credit Quality, when it voluntarily purchases a delinquent loan. Such acquired non-performing loans are expected to be recovered either through the sale of the loan collateral upon foreclosure or from the subsequent payments made by the borrowers and are initially recorded at their purchase price. As the cash flows expected to be collected cannot be estimated because the timing of the collection and the condition of the collateral are indeterminable, the acquired non-performing loans are placed on non-accrual status and impairment is measured based on the fair value of the collateral less the estimated selling costs.

 

The Company derecognizes the acquired non-performing loan when the non-performing loan is settled through foreclosure or repayment by the borrower. Any difference between the proceeds from sale of the collateral or subsequent payments made by the borrowers, and the acquired non-performing loan balance is recognized in other revenues in the consolidated statements of comprehensive income.

 

 

 F-22 

 

 

WEIDAI LTD.

 

NOTES TO THE CONSOLIDATED FINANCIAL STATEMENTS

 

(Amounts in thousands of Renminbi (“RMB”) and US dollar (“US$”),

except for number of shares and per share data)

 

 

Borrowings

 

For certain transactions with the borrowers, the Company may provide a loan to borrowers and then transfers the loan to investors at varying rates and tenures. Although the loan is transferred to the investors, the loan principal is not derecognized upon transfer, as the transaction does not represent a transfer of an entire financial asset or a participating interest and the loan is not legally isolated from the Company. Additionally, the terms of the transfer require the Company to guarantee the principal and interest in case of default by the borrowers. As a result, the arrangement is accounted for as a secured borrowing in accordance with ASC 860, Transfers and Servicing. The loan remains on the Company’s consolidated balance sheets and the funds received from the investors are recorded as payable to institutional funding partners and online investors in the Company’s consolidated balance sheets. Borrowings are initially recognized at fair value which is the cash received from investors, and measured subsequently at amortized cost using the effective interest method.

 

Guarantee liabilities

 

The Company provides guarantee to various institutional funding partners and online investors. The guarantee requires the Company to either make delinquent installment repayments or purchase the loans after a specified period on an individual loan basis. The guarantee liability is exempted from being accounted for as a derivative in accordance with ASC 815-10-15-58.

 

The guarantee liability consists of two components. The Company’s obligation to stand ready to make delinquent payments or to purchase the loan over the term of the arrangement (the non-contingent aspect) is accounted for in accordance with ASC 460, Guarantees (“ASC 460”). The contingent obligation relating to the contingent loss arising from the arrangement is accounted for in accordance with ASC 450, Contingencies (“ASC 450”). At inception, the Company recognizes the non-contingent aspect of the guarantee liability at fair value, which considers the premium required by a third party market participant to issue the same risk assurance in a standalone transaction.

 

Subsequent to the initial recognition, the non-contingent aspect of the risk assurance liability is reduced over the term of the arrangement as the Company is released from its stand ready obligation on a loan-by-loan basis based on the borrower’s repayment of the loan principal. The contingent loss arising from the obligation to make future payments is recognized when borrower default is probable and the amount of loss is estimable. The Company considers the underlying risk profile including delinquency status, overdue period, and historical loss experience when assessing the probability of contingent loss. Borrowers are grouped based on common risk characteristics, such as product type. The Company measured contingent loss based on the future payout of the arrangement estimated using the historical default rates of a portfolio of similar loans less the fair value of the recoverable collateral. The amount of provision for financial guarantee liabilities was nil, RMB21,712 and RMB19,206 (US$2,759) for the years ended December 31, 2017, 2018 and 2019. The maximum potential undiscounted future payment which the Company would be required to make under its guarantee obligation is RMB2,938,661 and RMB3,030,654 (US$435,326) as of December 31, 2018 and 2019, respectively.

 

 

 F-23 

 

 

WEIDAI LTD.

 

NOTES TO THE CONSOLIDATED FINANCIAL STATEMENTS

 

(Amounts in thousands of Renminbi (“RMB”) and US dollar (“US$”),

except for number of shares and per share data)

 

 

Long-term Investments

 

The Company’s long-term investments consist of cost method investments. In accordance with ASC subtopic 325-20 (“ASC 325-20”), Investments-Other: Cost Method Investments, for investments in an investee over which the Company does not have control or significant influence and for which there is no readily determinable fair value, the Company carries the investment at cost and only adjusts for other-than-temporary declines in fair value and distributions of earnings that exceed the Company’s share of earnings since its investment. The Company regularly evaluates the impairment of the investment based on the performance and the financial position of the investee as well as other evidence of market value. Such evaluation includes, but is not limited to, reviewing the investee’s cash position, recent financing, projected and historical financial performance, cash flow forecasts and financing needs. An impairment loss recognized in earnings is equal to the excess of the investment’s cost over its fair value at the balance sheet date of the reporting period for which the assessment is made. The fair value would then become the new cost basis of investment. No impairment loss on the cost method investments was recognized for the years ended December 31, 2017, 2018 and 2019.

 

Business combinations

 

The Company accounts for its business combinations using the purchase method of accounting in accordance with ASC 805, Business Combinations (“ASC 805”). The purchase method of accounting requires that the consideration transferred to be allocated to the assets, including separately identifiable assets and liabilities the Company acquired, based on their estimated fair values. The consideration transferred in an acquisition is measured as the aggregate of the fair values at the date of exchange of the assets given, liabilities incurred, and equity instruments issued as well as the contingent considerations and all contractual contingencies as of the acquisition date. The costs directly attributable to the acquisition are expensed as incurred. Identifiable assets, liabilities and contingent liabilities acquired or assumed are measured separately at their fair value as of the acquisition date, irrespective of the extent of any non-controlling interests. The excess of (i) the total of cost of acquisition, fair value of the non-controlling interests and acquisition date fair value of any previously held equity interest in the acquiree over (ii) the fair value of the identifiable net assets of the acquiree, is recorded as goodwill. If the cost of acquisition is less than the fair value of the net assets of the subsidiary acquired, the difference is recognized directly in earnings. The Company early adopted ASU No. 2017-01, Business Combinations (Topic 802): Clarifying the Definition of a Business, in determining whether it has acquired a business.

 

The determination and allocation of fair values to the identifiable assets acquired, liabilities assumed and non-controlling interests is based on various assumptions and valuation methodologies requiring considerable judgment from management. The most significant variables in these valuations are discount rates, terminal values, the number of years on which to base the cash flow projections, as well as the assumptions and estimates used to determine the cash inflows and outflows. The Company determines discount rates to be used based on the risk inherent in the related activity’s current business model and industry comparisons. Terminal values are based on the expected life of assets, forecasted life cycle and forecasted cash flows over that period.

 

Goodwill

 

The Company assesses goodwill for impairment in accordance with ASC 350-20, Intangibles — Goodwill and Other: Goodwill (“ASC 350-20”), which requires that goodwill be tested for impairment at the reporting unit level at least annually and more frequently upon the occurrence of certain events, as defined by ASC 350-20.

 

The Company has determined that it has one reporting unit. The Company has the option to assess qualitative factors first to determine whether it is necessary to perform the quantitative impairment test in accordance with ASC 350-20. If the Company believes, as a result of the qualitative assessment, that it is more-likely-than-not that the fair value of the reporting unit is less than its carrying amount, the quantitative impairment test is required. Otherwise, no further testing is required. In the qualitative assessment, the Company considers primary factors such as industry and market considerations, overall financial performance of the reporting unit, and other specific information related to the operations.

 

 

 F-24 

 

 

WEIDAI LTD.

 

NOTES TO THE CONSOLIDATED FINANCIAL STATEMENTS

 

(Amounts in thousands of Renminbi (“RMB”) and US dollar (“US$”),

except for number of shares and per share data)

 

 

The Company early adopted ASU No. 2017-04, Simplifying the Test for Goodwill Impairment, which simplifies the accounting for goodwill impairment by eliminating Step two from the goodwill quantitative impairment test. Under the new guidance, if a reporting unit’s carrying amount exceeds its fair value, an entity will record an impairment charge based on that difference. The impairment charge will be limited to the amount of goodwill allocated to that reporting unit. Fair value is primarily determined by computing the future discounted cash flows expected to be generated by the reporting unit.

 

Fair value measurements of financial instruments

 

Financial instruments of the Company primarily consist of cash and cash equivalents, restricted cash, available-for-sale debt securities, long-term time deposits, amounts due from and due to related parties, loans and advances, cost method investments, short-term borrowings, payable to institutional funding partners and online investors and current account with online investors and borrowers. The carrying amounts of these financial instruments, except for long-term time deposit, long-term loans and advances, cost method investments and long-term payable to institutional funding partners and online investors approximate their fair values because of their generally short maturities.

 

The Company applies ASC topic 820 (“ASC 820”), Fair Value Measurements and Disclosures, in measuring fair value. ASC 820 defines fair value, establishes a framework for measuring fair value and requires disclosures to be provided on fair value measurement.

 

ASC 820 establishes a three-tier fair value hierarchy, which prioritizes the inputs used in measuring fair value as follows:

 

ØLevel 1 - Observable inputs that reflect quoted prices in active markets for identical assets or liabilities.

 

ØLevel 2 - Include other inputs that are directly or indirectly observable in the marketplace.

 

ØLevel 3 - Unobservable inputs which are supported by little or no market activity.

 

ASC 820 describes three main approaches to measuring the fair value of assets and liabilities: (1) market approach; (2) income approach; and (3) cost approach. The market approach uses prices and other relevant information generated from market transactions involving identical or comparable assets or liabilities. The income approach uses valuation techniques to convert future amounts to a single present value amount. The measurement is based on the value indicated by current market expectations about those future amounts. The cost approach is based on the amount that would currently be required to replace an asset.

 

In accordance with ASC 820, the Company measures available-for-sale investments at fair value on a recurring basis. The fair value of the Company’s available-for-sale debt securities are measured using the income approach, based on quoted market interest rates of similar instruments and other significant inputs derived from or corroborated by observable market data. The fair value of time deposits is determined based on the prevailing interest rates in the market. The fair values of the Company’s long-term loans and advances and long-term payable to institutional funding partners as disclosed are determined based on the discounted cash flow model using the discount curve of market interest rates. The Company did not disclose the fair value of its cost method investments since the fair value cannot be determined without undue cost and effort.

 

 

 F-25 

 

 

WEIDAI LTD.

 

NOTES TO THE CONSOLIDATED FINANCIAL STATEMENTS

 

(Amounts in thousands of Renminbi (“RMB”) and US dollar (“US$”),

except for number of shares and per share data)

 

 

       Fair value measurement or disclosure at
December 31, 2018 using
 
   Total fair
value at
December 31,
2018
   Quoted prices
in active
markets for
identical assets
(Level 1)
   Significant
other
observable
inputs
(Level 2)
   Significant
unobservable
inputs
(Level 3)
 
   RMB   RMB   RMB   RMB 
Fair value disclosure                    
Loans and advances, net – non-current   421,564        421,564     
Long-term payable to institutional funding partners and online investors   419,039        419,039     
Fair value measurements                    
Recurring                    
Recurring short-term investments Available-for-sale debt securities   4,100        4,100     

 

       Fair value measurement or disclosure at
December 31, 2019 using
 
   Total fair value at
December 31, 2019
   Quoted prices in
active markets for
identical assets
(Level 1)
   Significant
other
observable
inputs (Level 2)
   Significant
unobservable
inputs
(Level 3)
 
   RMB   US$   RMB   RMB   RMB 
Fair value disclosure                         
Loans and advances, net – non-current   49,643    7,131        49,643     
Long-term payable to institutional funding partners and online investors   49,866    7,163        49,866     
Fair value measurements                         
Recurring                         
Recurring short-term investments Available-for-sale debt securities                    

 

The Company had no financial assets and liabilities measured and recorded at fair value on a non-recurring basis as of December 31, 2018 and 2019.

 

Property, equipment and software, net

 

Property, equipment and software are stated at cost less accumulated depreciation and amortization using the straight-line method with the residual value over the estimated useful lives of the assets, as follows:

 

 

 F-26 

 

 

WEIDAI LTD.

 

NOTES TO THE CONSOLIDATED FINANCIAL STATEMENTS

 

(Amounts in thousands of Renminbi (“RMB”) and US dollar (“US$”),

except for number of shares and per share data)

 

 

Category:  Estimated Useful Life  Estimated Residual Value 
Computer and electronic equipment  3~5 years   5%
Office furniture and equipment  3~5 years   5%
Vehicles  3~4 years   5%
Software  3~10 years   0%
Leasehold improvement  Lessor of useful life or lease term   0%

 

Costs associated with the repair and maintenance of property and equipment are expensed as incurred.

 

Impairment of long-lived assets

 

The Company evaluates its long-lived assets or asset group, including intangible assets with finite lives, for impairment whenever events or changes in circumstances indicate that the carrying value of an asset or a group of long-lived assets may not be recoverable. When these events occur, the Company evaluates for impairment by comparing the carrying amount of long-lived assets against the estimated undiscounted future cash flows associated with it. Impairment exists when the estimated undiscounted future cash flows are less than the carrying value of the asset being evaluated. Impairment loss is calculated based on the excess of carrying value of the asset over its fair value. No impairment loss was recognized for the years ended December 31, 2017, 2018 and 2019.

 

Research and development expenses

 

Research and development expenses are primarily incurred in the development of new services, new features and general improvement of the Company’s technology infrastructure to support its business operations. Research and development costs are expensed as incurred unless such costs qualify for capitalization as software development costs. In order to qualify for capitalization, (i) the preliminary project should be completed, (ii) management has committed to funding the project and it is probable that the project will be completed and the software will be used to perform the function intended, and (iii) it will result in significant additional functionality in the Company’s services. No research and development costs were capitalized during the years ended December 31, 2017, 2018 and 2019. The Company recognized research and development expenses amounted to RMB100,966, RMB139,318 and RMB81,664 (US$11,730) for the years ended December 31, 2017, 2018 and 2019, respectively.

 

Government subsidies

 

Government subsidies primarily consist of financial subsidies received from provincial and local governments for operating a business in their jurisdictions and compliance with specific policies promoted by the local governments. There are no defined rules and regulations to govern the criteria necessary for companies to receive such benefits, and the amount of financial subsidy is determined at the discretion of the relevant government authorities. The government subsidies of non-operating nature with no further conditions to be met are recorded as non-operating income when received. The government subsidies with certain operating conditions are recorded as liabilities when received and will be recorded as operating income when the conditions are met.

 

 

 F-27 

 

 

WEIDAI LTD.

 

NOTES TO THE CONSOLIDATED FINANCIAL STATEMENTS

 

(Amounts in thousands of Renminbi (“RMB”) and US dollar (“US$”),

except for number of shares and per share data)

 

 

Modification of equity-classified preferred shares

 

The Company assesses whether an amendment to the terms of its equity-classified preferred shares is an extinguishment or a modification based on the change in the fair value of the preferred shares. If the change in fair value of equity-classified preferred shares immediately after the amendment exceeds 10% from the fair value of the equity-classified preferred shares immediately before the amendment, the amendment is considered an extinguishment. An amendment that does not meet this criteria is a modification.

 

When equity-classified preferred shares are extinguished, the difference between the fair value of the consideration transferred to the equity-classified preferred shareholders and the carrying amount of the equity-classified preferred shares (net of issuance costs) is treated as a deemed dividend to the equity-classified preferred shareholders. When equity-classified preferred shares are modified, the increase of the fair value immediately after the amendment is treated as a deemed dividend to the equity-classified preferred shareholders. Modifications that result in a decrease in the fair value of the equity-classified preferred shares are not recognized.

 

Revenue recognition

 

The Company operates an online platform which matches borrowers with investors. The Company’s platform enables investors to directly invest in individual loans or subscribe to the Company’s investment programs which provide them with pre-specified investment returns while minimizing the time needed to manage their investments. The Company’s arrangements with customers can be broadly categorized into three types of arrangements.

 

In the first type of arrangement, the Company may advance funds to the borrowers while the loan is being listed on the online platform for online investors to subscribe to. However, the Company does not provide a guarantee to investors and is not the legal title holder of the underlying collateral. The Company determined that it is not the legal lender and legal borrower in the loan origination and repayment process, respectively, because when the loan is fully subscribed by investors, the investors’ funds will be used to settle the advance made by the Company to the borrowers. Therefore, the Company does not record loan receivables and payables arising from the loans between borrowers and investors on its consolidated balance sheets.

 

In the second type of arrangement, the Company does not advance funds to the borrowers prior to a loan being subscribed by the institutional funding partners and online investors. Furthermore, the Company may provide a guarantee to the institutional funding partners and online investors which guarantees the contractual payments of the loan in the event the borrower defaults. The Company determined it is not the legal lender and legal borrower in the loan origination and repayment process, respectively. Therefore, the Company does not record loan receivables and payables arising from the loans between borrowers and the institutional funding partners and online investors on its consolidated balance sheets.

 

In the third type of arrangement, the Company advances funds to the borrowers prior to a loan being subscribed by the investors. The Company provides a guarantee which guarantees the contractual payments of the loan in the event the borrower defaults. As the transaction does not represent a transfer of an entire financial asset or a participating interest and is not legally isolated from the Company, the arrangement is accounted for as loan origination by the Company and a secured borrowing in accordance with ASC 860, Transfers and Servicing.

 

After adoption of ASU 2014-09, "Revenue from Contracts with Customers" (Topic 606)" with modified retrospective method

 

The Company provides loan solution services which include facilitating and monitoring the execution of loan agreements. Borrowers make repayments through the Company, and the Company will then remit the requisite returns to the investors on a periodic basis.

 

 

 F-28 

 

 

WEIDAI LTD.

 

NOTES TO THE CONSOLIDATED FINANCIAL STATEMENTS

 

(Amounts in thousands of Renminbi (“RMB”) and US dollar (“US$”),

except for number of shares and per share data)

 

 

The Company also generates revenue from other contingent fees, such as late payment penalties and net revenue from sale of collateral.

 

On January 1, 2019, the Company adopted the revenue standard using the modified retrospective method to those contracts which were not completed as of January 1, 2019. Results for periods beginning after January 1, 2019 are presented under ASC 606 Revenue from Contracts with Customers (“ASC 606”), while prior period amounts are not adjusted and continue to be reported in accordance with historic accounting under ASC 605 Revenue recognition (“ASC 605”).

 

Upon initial adoption, the Company recognized the cumulative effect of initially applying the revenue standard as a decrease of approximately RMB 255,730, net of tax, to the opening balances of retained earnings. These adjustments primarily arose from the timing of revenue recognition for transaction fees collected upfront at loan inception to being recognized overtime under ASC 606. The table below sets forth the cumulative effect of the changes made to the consolidated balance sheet as of January 1, 2019 due to the adoption of ASC 606.

 

  Balance at
December 31, 2018
   Adjustments due
to ASC 606
   Balance at
January 1, 2019
 
   RMB   RMB   RMB 
Assets               
Deferred tax assets   329,796    85,243    415,039 
                
Liabilities               
Deferred revenue   23,305    (23,305)   - 
Contract liabilities   -    364,278    364,278 
                
Shareholders’ equity               
Retained earnings   1,040,443    (255,730)   784,713 

 

The table below sets forth the impact to the consolidated statement of comprehensive income as a result of adoption of ASC 606:

 

   For the year ended December 31, 2019 
   As reported   Amounts without
adoption of ASC 606
   Effect of
change
 
   RMB   RMB   RMB 
Revenue from loan services fee   2,955,050    3,090,589    (135,539)

 

Consistent with the criteria of ASC 606 “Revenue from Contracts with Customers”, the Company recognizes revenue by applying the following five steps:

 

(i) identify the contract with a customer;

 

(ii) identify the performance obligations in the contract;

 

(iii) determine the transaction price;

 

 

 F-29 

 

 

WEIDAI LTD.

 

NOTES TO THE CONSOLIDATED FINANCIAL STATEMENTS

 

(Amounts in thousands of Renminbi (“RMB”) and US dollar (“US$”),

except for number of shares and per share data)

 

 

(iv) allocate the transaction price to performance obligations in the contract; and

 

(v) recognize revenue when (or as) performance obligations are satisfied.

 

The Company determines that both the borrowers and the investors are its customers because they both receive services provided by the Company pursuant to the contractual terms among the Company, the borrowers and the investors. For each loan facilitated on the platform, the Company considers the loan services and guarantee service as two separate services. Of which, the guarantee service is accounted for in accordance with ASC 460, Guarantees, at fair value. Revenue from the guarantee services is recognized once the Company is released from the underlying risk (see accounting policy for Guarantee Liabilities).

 

The Company identified one performance obligation for borrowers and investors under ASC 606, as the loan services are not distinct.

 

The Company determines the total transaction price to be the service fees chargeable to the borrowers and the investors. The transaction price includes variable consideration in the form of early repayments of the loans by the borrowers.

 

The Company recognizes revenue when (or as) the entity satisfies the service or performance obligation by transferring the promised service (that is, an asset) to customers. Both revenue from combined loan services to borrowers and revenue from post-origination to investors are recognized on a straight-line basis over the term of the underlying loans as the customers simultaneously receive and consume the benefit provided by the services the Company performs.

 

Contract balances

 

Contract assets represent the Group’s right to consideration in exchange for loan service that the Company has transferred to the customer before payment is due. Contract liabilities represent the Company’s obligation to transfer loan solution services to the customer due to received payment which are amortized over the period of the loan.

 

Customer incentives

 

For certain transactions with the investors, the Company, at its sole discretion may provide various incentives to investors when a loan is successfully matched during the relevant incentive program period. The cash incentive from the Company is either provided upfront or on a monthly basis over the term of the loan as additional interest.

 

For arrangements where the Company does not originate loans to borrowers, these cash incentives are accounted for as reduction of revenue in accordance with ASC 606. Cash incentives accounted for as reduction of revenue amounted to RMB359,568 (US$51,649) for the years ended December 31, 2019.

 

For arrangements where the Company originates loans to the borrowers and the related loan payables to investors are recorded on the balance sheet, cash incentives paid upfront will reduce loan payables to investors and loan payables are effectively issued at a discount. If cash incentives are paid to investors over the loan period, the cash incentives are included as repayment to investors for the loan and considered in the effective interest rate of the loan payable to investors. There is no cash incentives as reduction of loan payables for the years ended December 31, 2019.

 

 

 F-30 

 

 

WEIDAI LTD.

 

NOTES TO THE CONSOLIDATED FINANCIAL STATEMENTS

 

(Amounts in thousands of Renminbi (“RMB”) and US dollar (“US$”),

except for number of shares and per share data)

 

 

Net financing income

 

The Company earns interest income arising from loans originated by the Company. The Company records interest income net of funding costs (i.e. interest paid to investors) over the life of the underlying loan principal using the effective interest method on unpaid principal amounts in accordance with ASC 310, Receivables. Customer incentives provided to certain investors are recorded as a reduction in loans receivable using the effective interest method.

 

Other revenues

 

The Company also receives various services fees which are contingent on future events, such as borrower late payment penalties, and net revenue from sale of collateral. These contingent fees are not recognized until the contingencies are resolved and the fees become fixed and determined, which also coincide with when the services are performed and collectability is reasonably assured. These fees are classified within other revenue in the consolidated statements of comprehensive income.

 

Other revenues consist of:

 

   Year Ended December 31, 
   2019 
   RMB   US$ 
Late payment penalties   102,910    14,782 
Others   170,523    24,494 
Total   273,433    39,276 

 

Revenue through service center operation partners

 

The Company collaborates with service center operation partners for the operation of partner-operated service centers under a revenue sharing model. The Company is a principal in a contract satisfy a performance obligation in accordance with ASC 606-10-55 and recognizes revenue on a gross basis when all the revenue recognition criteria set forth in ASC 606 are met. Pursuant to the one-year cooperation agreements with the service center operation partners, the Company records all of each partner-operated service center’s loan facilitation service fee and post facilitation service fee as revenue, and subsequently pay the service center operation partners an agreed percentage of such amounts as the partner-operated service center’s operating cost and expenses which are recorded as origination and servicing expenses. If loans facilitated by the partner-operated service centers become delinquent and are subsequently purchased by the Company, the relevant service center operation partners are obligated to compensate the Company for an agreed percentage of the purchase price of the delinquent loans.

 

Before adoption of ASU 2014-09, “Revenue from contracts with Customers (Topic 606)”

 

The Company earns a loan facilitation fee and a recurring service fee for post facilitation services for each successful loan facilitation, including provision of global positioning system (“GPS”) automobile tracking services, collection services and sending shortmessage-service (“SMS”) payment reminder to borrowers throughout the term of the loans. Borrowers make repayments through the Company, and the Company will then remit the requisite returns to the investors on a periodic basis.

 

 

 F-31 

 

 

WEIDAI LTD.

 

NOTES TO THE CONSOLIDATED FINANCIAL STATEMENTS

 

(Amounts in thousands of Renminbi (“RMB”) and US dollar (“US$”),

except for number of shares and per share data)

 

 

 

The Company also generates revenue from other contingent fees, such as late payment penalties and loan collection fees.

 

Multiple element revenue recognition

 

In accordance with ASC 605, Revenue recognition (“ASC 605”), for arrangements where the Company is not originating the loan to the borrower, the Company recognizes loan facilitation services and post facilitation services, when the following four revenue recognition criteria are met:

 

(i) Persuasive evidence of an arrangement exists;

 

(ii) Services have been provided;

 

(iii) The fee is fixed and determinable, and

 

(iv) Collectability is reasonably assured.

 

The two deliverables provided by the Company are loan facilitation and post facilitation services. The Company considers the loan facilitation services and the post facilitation services as a multiple element revenue arrangement. The Company does not have vendor specific objective evidence (“VSOE”) of selling price for the loan facilitation services and post facilitation services because the Company does not provide loan facilitation services or post facilitation services on a standalone basis. There is also no third-party evidence of the prices charged by third-party service providers when such services are sold separately. As a result, the Company uses its best estimate of selling prices of loan facilitation services and post facilitation services as the basis of revenue allocation.

 

The fee allocated to loan facilitation is recognized as revenue upon each successful loan facilitation, while the fee allocated to post facilitation services are deferred and amortized over the period of the loan on a straight line method as the post facilitation services are performed. If the fee is not received entirely upfront, the amount allocated to the delivered loan facilitation services is limited to the amount that is not contingent on the delivery of the undelivered post facilitation services and the borrower’s timely installment repayment in accordance with ASC 605-25. The remaining loan facilitation service income is recorded when the contingency is resolved and cash is received from the borrower. The loan facilitation services and post facilitation services are recorded as revenues in the consolidated statements of comprehensive income.

 

For certain arrangements, the Company provides an additional deliverable in the form of a guarantee to institutional funding partners and online investors which requires the Company to make either delinquent installment repayments and/or purchase the loans after a specified period on an individual loan basis. In accordance with ASC 605-25-30-4, the Company first allocates the consideration to the guarantee equaling to the fair value of the guarantee. The remaining consideration is then allocated to the loan facilitation services and the post facilitation services.

 

 

 F-32 

 

 

WEIDAI LTD.

 

NOTES TO THE CONSOLIDATED FINANCIAL STATEMENTS

 

(Amounts in thousands of Renminbi (“RMB”) and US dollar (“US$”),

except for number of shares and per share data)

 

 

Customer incentives

 

For certain transactions with the investors, the Company, at its sole discretion may provide various incentives to investors when a loan is successfully matched during the relevant incentive program period. The cash incentive from the Company is either provided upfront or on a monthly basis over the term of the loan as additional interest.

 

For arrangements where the Company does not originate loans to borrowers, these cash incentives are accounted for as reduction of revenue in accordance with ASC 605-50. Cash incentives accounted for as reduction of revenue amounted to RMB65,915, and RMB268,813 for the years ended December 31, 2017 and 2018, respectively. For arrangements where the Company originates loans to the borrowers and the related loan payables to investors are recorded on the balance sheet, cash incentives paid upfront will reduce loan payables to investors and loan payables are effectively issued at a discount. If cash incentives are paid to investors over the loan period, the cash incentives are included as repayment to investors for the loan and considered in the effective interest rate of the loan payable to investors. Cash incentives accounted for as reduction of loan payables amounted to RMB7,453, and RMB10,746 for the years ended December 31, 2017 and 2018, respectively.

 

Net financing income

 

The Company earns interest income arising from loans originated by the Company. The Company records interest income net of funding costs (i.e. interest paid to investors) over the life of the underlying loan principal using the effective interest method on unpaid principal amounts in accordance with ASC 310, Receivables. Customer incentives provided to certain investors are recorded as a reduction in loans receivable using the effective interest method.

 

Other revenues

 

The Company also receives various services fees which are contingent on future events, such as borrower late payment penalties, loan collection fees, and net revenue from sale of collateral. These contingent fees are not recognized until the contingencies are resolved and the fees become fixed and determined, which also coincide with when the services are performed and collectability is reasonably assured. These fees are classified within other revenue in the consolidated statements of comprehensive income.

 

Other revenues consist of:

 

   Year Ended December 31, 
   2017   2018 
   RMB   RMB 
Late payment penalties and loan collection fees   218,675    113,313 
Others   86,362    76,399 
Total   305,037    189,712 

 

Revenue through service center operation partners

 

The Company collaborates with service center operation partners for the operation of partner-operated service centers under a revenue sharing model. The Company is acting as the primary obligor in the arrangement in accordance with ASC 605-45 and recognizes revenue on a gross basis when all the revenue recognition criteria set forth in ASC 605 are met. Pursuant to the one-year cooperation agreements with the service center operation partners, the Company records all of each partner-operated service center’s loan facilitation service fee and post facilitation service fee as revenue, and subsequently pay the service center operation partners an agreed percentage of such amounts as the partner-operated service center’s operating costs and expenses which are recorded as origination and servicing expenses. If loans facilitated by the partner-operated service centers become delinquent and are subsequently purchased by the Company, the relevant service center operation partners are obligated to compensate the Company for an agreed percentage of the purchase price of the delinquent loans.

 

 

 F-33 

 

 

WEIDAI LTD.

 

NOTES TO THE CONSOLIDATED FINANCIAL STATEMENTS

 

(Amounts in thousands of Renminbi (“RMB”) and US dollar (“US$”),

except for number of shares and per share data)

 

 

Deferred Revenue

 

Deferred revenue mainly consists of post facilitation service fees which are non-contingent service fees collected at the inception of the loan, and deferred and amortized over the period of the loan.

 

Origination and servicing expense

 

Origination and servicing expenses primarily consist of customer acquisition costs, employee salaries and benefits for facilitating the loan origination, debt-collection cost, customer service cost, data processing and data analysis expense.

 

Advertising expenses

 

Advertising costs are expensed as incurred in accordance with ASC 720-35, Other Expense-Advertising Costs. The Company recognized advertising costs of RMB203,972, RMB166,627 and RMB54,167 (US$7,781) for the years ended December 31, 2017, 2018 and 2019, respectively.

 

Employee benefits

 

Full-time employees of the Company in the PRC participate in a government mandated multi-employer defined contribution plan pursuant to which certain pension benefits, medical care, unemployment insurance, employee housing fund and other welfare benefits are provided to employees. Chinese labor regulations require that the Company make contributions to the government for these benefits based on a certain percentage of the employee’s salaries. The Company has no legal obligation for the benefits beyond the contributions. The Company recognized expenses for employee benefits of RMB137,902, RMB181,798 and RMB107,754 (US$15,478) for the years ended December 31, 2017, 2018 and 2019, respectively.

 

Income taxes

 

The Company accounts for income taxes using the liability method in accordance with ASC 740, Income Taxes (“ASC 740”). Under this method, deferred tax assets and liabilities are determined based on the differences between the financial reporting and tax bases of assets and liabilities using enacted tax rates that will be in effect when the differences are expected to reverse. Changes in deferred tax assets and liabilities are recorded in earnings. Deferred tax assets are reduced by a valuation allowance through a charge to income tax expense when, in the opinion of management, it is more-likely-than-not that a portion of or all of the deferred tax assets will not be realized.

 

The Company evaluates its uncertain tax positions using the provisions of ASC 740, which prescribes a recognition threshold that a tax position is required to meet before being recognized in the consolidated financial statements. The Company recognizes in the consolidated financial statements the benefit of a tax position which is “more likely than not” to be sustained under examination based solely on the technical merits of the position assuming a review by tax authorities having all relevant information. Tax positions that meet the recognition threshold are measured using a cumulative probability approach, at the largest amount of tax benefit that has a greater than fifty percent likelihood of being realized upon settlement. It is the Company’s policy to recognize interest and penalties related to unrecognized tax benefits, if any, as a component of income tax expense.

 

 

 F-34 

 

 

WEIDAI LTD.

 

NOTES TO THE CONSOLIDATED FINANCIAL STATEMENTS

 

(Amounts in thousands of Renminbi (“RMB”) and US dollar (“US$”),

except for number of shares and per share data)

 

 

Segment information

 

The Company’s chief operating decision maker, the Chief Executive Officer, reviews the consolidated results when making decisions about allocating resources and assessing performance of the Company as a whole. In accordance with ASC 280, Segment Reporting, the company has only one reportable segment. As the Company generates substantially all of its revenues in the PRC and its long-lived assets are substantially located in PRC, no geographical segments are presented.

 

Leases

 

Leases are classified at the inception date as either a capital lease or an operating lease. The Company assesses a lease to be a capital lease if any of the following conditions exist: (a) ownership is transferred to the lessee by the end of the lease term, (b) there is a bargain purchase option, (c) the lease term is at least 75% of the property’s estimated remaining economic life or (d) the present value of the minimum lease payments at the beginning of the lease term is 90% or more of the fair value of the leased property to the lessor at the inception date. A capital lease is accounted for as if there was an acquisition of an asset and an incurrence of an obligation at the inception of the lease. The company had no capital leases for the years presented.

 

All other leases are accounted for as operating leases wherein rental payments are expensed on a straight-line basis over the periods of their respective lease terms. The Company leases office space under operating lease agreements. The lease term begins on the date of initial possession of the lease property for purposes of recognizing lease expense on a straight-line basis over the term of the lease.

 

Value added taxes (“VAT”), business related tax and surcharges

 

The Company is subject to VAT at the rate of 17%, 6% or 3%, depending on whether the entity is a general taxpayer or small-scale taxpayer, and related surcharges on revenue generated from providing services. The Notice of the Ministry of Finance and the SAT on Adjusting Value-added Tax Rates, or the Notice, was promulgated on April 4, 2018 and came into effect on May 1, 2018. According to the Notice, the VAT tax rate of 17% and 11% are changed into 16% and 10%, respectively.

 

VAT is reported as a deduction to revenue when incurred and amounted to RMB267,970, RMB330,116 and RMB340,877 (US$48,964) for the years ended December 31, 2017, 2018 and 2019, respectively. Entities that are VAT general taxpayers are allowed to offset qualified input VAT paid to suppliers against their output VAT liabilities. Net VAT balance between input VAT and output VAT is recorded in accrued expenses and other current liabilities on the consolidated balance sheets.

 

 

 F-35 

 

 

WEIDAI LTD.

 

NOTES TO THE CONSOLIDATED FINANCIAL STATEMENTS

 

(Amounts in thousands of Renminbi (“RMB”) and US dollar (“US$”),

except for number of shares and per share data)

 

 

The Company is also subject to certain government surcharges on the VAT payable in the PRC. In the consolidated statements of comprehensive income, these surcharges are included in business related tax and surcharges, which are deducted from gross revenues to arrive at net revenues

 

Share-based compensation

 

The Company applies ASC 718, Compensation—Stock Compensation (“ASC 718”), to account for restricted shares, stock appreciation rights and stock options granted to certain directors, executives and employees. In accordance with ASC 718, the Company determines whether the restricted shares, the stock appreciation rights and stock options should be classified and accounted for as an equity award or liability award. Restricted shares and stock options granted to directors, executives and employees are classified as equity awards and are measured at fair value on grant date and are recognized as an expense, net of forfeitures, over the requisite service period. The cash-settled stock appreciation rights granted to employees are classified as liability awards and are remeasured to fair value at the end of each reporting period until the date of settlement with an adjustment for fair value recorded to the current period expenses. The Company has elected to recognize share-based compensation for all awards with graded vesting using the accelerated method. The Company early adopted ASU 2016-09, Compensation Stock Compensation (Topic 718): Improvement to Employee Share Based Payment Accounting, on January 1, 2016 using full retrospective method, and accounts for forfeitures in the period they occur as a reduction to expense.

 

A change in any of the terms or conditions of share-based payment awards is accounted for as a modification of awards. The Company measures the incremental compensation cost of a modification as the excess of the fair value of the modified awards over the fair value of the original awards immediately before its terms are modified, based on the share price and other pertinent factors at the modification date. For vested awards, the Company recognizes incremental compensation cost in the period the modification occurred. For unvested awards, the Company recognizes, over the remaining requisite service period, the sum of the incremental compensation cost and the remaining unrecognized compensation cost for the original award on the modification date.

 

Deferred IPO costs

 

Direct and incremental costs incurred by the Company attributable to its proposed IPO of ordinary shares in the U.S. is deferred and recorded as deferred IPO costs in the consolidated balance sheets and charged against the gross proceeds received from such offering.

 

Comprehensive income

 

Comprehensive income is defined as the changes in equity of the Company during a period from transactions and other events and circumstances excluding transactions resulting from investments by owners and distributions to owners. For each of the periods presented, the Company’s comprehensive income includes net income and foreign currency translation adjustments, and is presented in the consolidated statements of comprehensive income.

 

Earnings per share

 

In accordance with ASC topic 260, Earnings per Share, basic earnings per share is computed by dividing net income attributable to ordinary shareholders by the weighted average number of ordinary shares outstanding during the year using the two-class method. Under the two-class method, net income is allocated between ordinary shares and participating securities based on dividends declared (or accumulated) and participating rights in undistributed earnings as if all the earnings for the reporting period had been distributed. The Company’s redeemable convertible preferred shares are participating securities because they are entitled to receive dividends or distributions on an as converted basis. Upon the completion of the Company’s IPO in November 2018, the two-class method is also applicable to the Company’s two classes of ordinary shares outstanding, Class A and Class B ordinary shares. The participating rights (liquidation and dividend rights) of the holders of the Company’s Class A and Class B ordinary shares are identical, except with respect to voting and conversion (Note 15).

 

 

 F-36 

 

 

WEIDAI LTD.

 

NOTES TO THE CONSOLIDATED FINANCIAL STATEMENTS

 

(Amounts in thousands of Renminbi (“RMB”) and US dollar (“US$”),

except for number of shares and per share data)

 

 

Diluted earnings per share is calculated by dividing net income attributable to ordinary shareholders, as adjusted for the effect of dilutive ordinary equivalent shares, if any, by the weighted average number of ordinary and dilutive ordinary equivalent shares outstanding during the period. Ordinary equivalent shares include ordinary shares issuable upon the conversion of the redeemable convertible preferred shares using the if-converted method, and ordinary shares issuable upon the exercise of share options, using the treasury stock method. Ordinary share equivalents are excluded from the computation of diluted earnings per share if their effects are anti-dilutive.

 

Share split

 

On September 21, 2018, the Company’s board of directors and shareholders approved an amended and restated memorandum and articles of association of the Company to effect a split of shares of its ordinary shares and preferred shares, as well as the post-IPO re-designated and re-classified Class A and Class B ordinary shares, on a 50-for-1 basis (the “Share Split”). The par values and the authorized shares of the ordinary shares, preferred shares and the post-IPO re-designated and re-classified Class A and Class B ordinary shares were adjusted as a result of the Share Split. The Share Split became effective on September 21, 2018. All issued and outstanding ordinary shares, preferred shares and the post-IPO re-designated and re-classified Class A and Class B ordinary shares and related per share amounts contained in the financial statements have been retroactively adjusted to reflect this Share Split for all periods presented.

 

Recent accounting pronouncements

 

As a company with less than US$1,070,000 in revenue for the last fiscal year, the company qualifies as an “emerging growth company” pursuant to the Jumpstart Our Business Startups Act of 2012 (the “JOBS Act”). An emerging growth company may take advantage of specified reduced reporting and other requirements that are otherwise applicable generally to public companies. These provisions include a provision that an emerging growth company does not need to comply with any new or revised financial accounting standards until such date that a private company is otherwise required to comply with such new or revised accounting standards. The Company will take advantage of the extended transition period.

 

Recently Adopted Accounting Standards

 

In May 2014, the Financial Accounting Standards Board (FASB) issued ASU No. 2014-09, “Revenue from Contracts with Customers (Topic 606)”, which supersedes the revenue recognition requirements in Topic 605. The core principle of the guidance is that an entity should recognize revenues to depict the transfer of promised goods or services to customers in an amount that reflects the consideration to which the entity expects to be entitled in exchange for those goods or services. The Company adopted Topic 606 as of January 1, 2019 using the modified retrospective transition method applied to those contracts which were not completed as of January 1, 2019. See Note 2 “Revenue Recognition” above for further details.

 

 

 F-37 

 

 

WEIDAI LTD.

 

NOTES TO THE CONSOLIDATED FINANCIAL STATEMENTS

 

(Amounts in thousands of Renminbi (“RMB”) and US dollar (“US$”),

except for number of shares and per share data)

 

 

Accounting Pronouncements Issued But Not Yet Adopted

 

In February 2016, the FASB issued ASU No. 2016-02, Leases (Topic 842). This ASU modifies existing guidance for off-balance sheet treatment of a lessees’ operating leases by requiring lessees to recognize lease assets and lease liabilities, whilst, lessor accounting is largely unchanged. The amendments in this ASU are effective for fiscal years beginning after December 15, 2020, and interim periods within fiscal years beginning after December 15, 2021. The Company is in the process of evaluating the impact of adoption of this guidance on its consolidated financial statements.

 

In June 2016, the FASB issued ASU No. 2016-13, Financial Instruments—Credit Losses (Topic 326): Measurement of Credit Losses on Financial Instruments. This ASU is intended to improve financial reporting by requiring timelier recording of credit losses on loans and other financial instruments held by financial institutions and other organizations. This ASU requires the measurement of all expected credit losses for financial assets held at the reporting date based on historical experience, current conditions, and reasonable and supportable forecasts. This ASU requires enhanced disclosures to help investors and other financial statement users better understand significant estimates and judgments used in estimating credit losses, as well as the credit quality and underwriting standards of the Company’s portfolio. These disclosures include qualitative and quantitative requirements that provide additional information about the amounts recorded in the financial statements. The amendments in this ASU are effective for fiscal years beginning after December 15, 2022, including interim periods within fiscal years beginning after December 15, 2022. In November 2018, the FASB issued ASU No. 2018-19, Codification Improvements to Topic 326, Financial Instruments—Credit Losses, which clarifies that receivables arising from operating leases should be accounted for in accordance with ASC Topic 842, Leases instead of ASC Subtopic 326-20. The Company is in the process of evaluating the impact of adoption of this guidance on its consolidated financial statements.

 

In June 2018, the FASB issued ASU 2018-07, Compensation — Stock Compensation (Topic 718): Improvements to Nonemployee Share-Based Payment Accounting, which aligns the measurement and classification guidance for share based payments to nonemployees with that for employees, with certain exceptions. It expands the scope of ASC 718 to include share-based payments granted to nonemployees in exchange for goods or services used or consumed in the entity’s own operations and supersedes the guidance in ASC 505-50. The ASU retains the existing cost attribution guidance, which requires entities to recognize compensation cost for nonemployee awards in the same period and in the same manner (i.e., capitalize or expense) they would if they paid cash for the goods or services, but it moves the guidance to ASC 718. This standard is effective for fiscal years beginning after December 15, 2019, and interim periods within fiscal years beginning after December 15, 2020. Early adoption is permitted, including in an interim period for which financial statements have not been issued (or made available for issuance), but not before an entity adopts ASC 606. The Company is in the process of evaluating the impact of adoption of this guidance on its consolidated financial statements.

 

In August 2018, the FASB issued ASU No. 2018-13, Fair Value Measurement (Topic 820): Disclosure Framework—Changes to the Disclosure Requirements for Fair Value Measurement which eliminates, adds and modifies certain disclosure requirements for fair value measurements. The guidance is effective for all entities for fiscal years beginning after December 15, 2019 and for interim periods within those fiscal years, but entities are permitted to early adopt either the entire standard or only the provisions that eliminate or modify the requirements. The Company is in the process of evaluating the impact of adoption of this guidance on its consolidated financial statements.

 

In December 2019, the FASB issued ASU 2019-12, Income Taxes (Topic 740), a new accounting standard update to simplify the accounting for income taxes. The new guidance removes certain exceptions for recognizing deferred taxes for investments, performing intra period allocation and calculating income taxes in interim periods. It also adds guidance to reduce complexity in certain areas, including recognizing deferred taxes for tax goodwill and allocating taxes to members of a consolidated group. This guidance will be effective for fiscal years beginning after December 15, 2021, and interim periods within fiscal years beginning after December 15, 2022. The Company is currently evaluating the impact of the new guidance on its consolidated financial statements and related disclosures.

 

 

 F-38 

 

 

WEIDAI LTD.

 

NOTES TO THE CONSOLIDATED FINANCIAL STATEMENTS

 

(Amounts in thousands of Renminbi (“RMB”) and US dollar (“US$”),

except for number of shares and per share data)

 

 

3.Concentration of risks

 

Currency convertibility risk

 

Substantially all of the Company’s business are transacted in RMB, which is not freely convertible into foreign currencies. On January 1, 1994, the PRC government abolished the dual rate system and introduced a single rate of exchange as quoted daily by the People’s Bank of China (the “PBOC”). However, the unification of the exchange rates does not imply that the RMB may be readily convertible into United States dollars or other foreign currencies. All foreign exchange transactions take place either through the Peoples’ Bank of China (“PBOC”) or other authorized financial institution at exchange rates quoted by PBOC. Approval of foreign currency payments by the PBOC or other regulatory institutions requires submitting a payment application form together with suppliers' invoices and signed contracts.

 

Concentration of credit risk

 

Financial assets that potentially expose the Company to concentrations of credit risk consist primarily of cash and cash equivalents, restricted cash, loans and advances, financial assets receivable, guarantee deposits and short-term investment.

 

The Company places its cash and cash equivalents, restricted cash and short-term investment, with reputable financial institutions that have high-credit ratings and quality. There has been no recent history of default in relation to these financial institutions.

 

The Company manages credit risk of loan principal by performing credit assessments on its borrowers and its ongoing monitoring of the outstanding balances. No individual borrower represented 10% or more of total revenue, and loan and advances for the years ended December 31, 2017, 2018 and 2019.

 

Interest rate risk

 

The Company is exposed to interest rate risk on its interest-bearing assets and liabilities. As part of its asset and liability risk management, the Company reviews and takes appropriate steps to manage its interest rate exposures on its interest-bearing assets and liabilities. The Company has not been exposed to material risks due to changes in market interest rates, and the Company has not used any derivative financial instruments to manage the interest risk exposure during years presented.

 

Business and economic risk

 

The Company believes that changes in any of the following areas could have a material adverse effect on the Company’s future financial position, results of operations or cash flows: changes in the overall demand for services and products; competitive pressures due to new entrants; advances and new trends in new technologies and industry standards; changes in certain strategic relationships; regulatory considerations and risks associated with the Company’s ability to attract employees necessary to support its growth. The Company’s operations could also be adversely affected by significant political, economic and social uncertainties in the PRC.

 

 

 F-39 

 

 

WEIDAI LTD.

 

NOTES TO THE CONSOLIDATED FINANCIAL STATEMENTS

 

(Amounts in thousands of Renminbi (“RMB”) and US dollar (“US$”),

except for number of shares and per share data)

 

 

Foreign currency exchange rate risk

 

From July 21, 2005, the RMB is permitted to fluctuate within a narrow and managed band against a basket of certain foreign currencies. For RMB against U.S. dollar, there was appreciation of 5.8% in the year ended December 31, 2017, depreciation of 5.4% in the year ended December 31, 2018, and depreciation of 1.3% in the year ended December 31, 2019. It is difficult to predict how market forces or PRC or U.S. government policy may impact the exchange rate between the RMB and the U.S. dollar in the future.

 

To the extent that the Company needs to convert U.S. dollar into RMB for capital expenditures and working capital and other business purposes, appreciation of RMB against U.S. dollar would have an adverse effect on the RMB amount the Company would receive from the conversion. Conversely, if the Company decides to convert RMB into U.S. dollar for the purpose of making payments for dividends on ordinary shares, strategic acquisitions or investments or other business purposes, appreciation of U.S. dollar against RMB would have a negative effect on the U.S. dollar amount available to the Company. In addition, a significant depreciation of the RMB against the U.S. dollar may significantly reduce the U.S. dollar equivalent of the Company’s earnings or losses.

 

 

 F-40 

 

 

WEIDAI LTD.

 

NOTES TO THE CONSOLIDATED FINANCIAL STATEMENTS

 

(Amounts in thousands of Renminbi (“RMB”) and US dollar (“US$”),

except for number of shares and per share data)

 

 

4.Loans and advances, net

 

Loans and advances originated and retained by the Company consist of the following:

 

   As of December 31 
   2018   2019 
   RMB   RMB   US$ 
Current portion:               
Loans receivable (i)               
Auto-backed loans   233,893    125,058    17,963 
Other secured loans   139,939    126,251    18,135 
Unsecured loans   587,211    97,465    14,000 
Sub-total   961,043    348,774    50,098 
                
Acquired non-performing loans (ii)               
Auto-backed loans   723,404    1,641,865    235,839 
Other secured loans   364,424    358,535    51,500 
Unsecured loans   197,820    426,526    61,267 
Sub-total   1,285,648    2,426,926    348,606 
                
Total current loans and advances   2,246,691    2,775,700    398,704 
Allowance for loans and advances   (764,323)   (1,257,824)   (180,675)
Loans and advances, net   1,482,368    1,517,876    218,029 
                
Non-current portion:               
Loans receivable (i)               
Auto-backed loans   176,923    16,858    2,422 
Other secured loans   196,409    34,586    4,968 
Unsecured loans   54,259    -    - 
Total non-current loans and advances   427,591    51,444    7,390 
Allowance for loans and advances   (6,027)   (1,801)   (259)
Loans and advances, net   421,564    49,643    7,131 

 

(i) Loans receivable represent loans originated by the Company with an original term up to three years and annual interest rate primarily ranging between 6%~36%;

 

(ii) Acquired non-performing loans are overdue loans purchased by the Company from online investors and institutional funding partners;

 

 F-41 

 

 

WEIDAI LTD.

 

NOTES TO THE CONSOLIDATED FINANCIAL STATEMENTS

 

(Amounts in thousands of Renminbi (“RMB”) and US dollar (“US$”),

except for number of shares and per share data)

 

 

The following table sets forth the activities in the allowance for loans and advances for the years ended December 31, 2017, 2018 and 2019:

 

2017  Loans receivable   Acquired non-performing loans     
   Auto-
backed
loans
   Other
secured
loans
   Unsecured
loans
   Auto-backed
loans
  

Other

secured
loans

   Unsecured
loans
   Total 
   RMB   RMB   RMB   RMB   RMB   RMB   RMB 
Beginning balance   -    -    -    (67,156)   -    (372)   (67,528)
Current year provision   (5,149)   (913)   (64,515)   (327,453)   (4,832)   (81,201)   (484,063)
Recoveries of loans
previously written off
   -    -    -    (18,943)   -    -    (18,943)
Write-offs   -    -    -    161,378    1,077    1,789    164,244 
Ending balance   (5,149)   (913)   (64,515)   (252,174)   (3,755)   (79,784)   (406,290)

 

2018  Loans receivable   Acquired non-performing loans     
   Auto-
backed
loans
   Other
secured
loans
   Unsecured
loans
  

Auto-

backed

loans

  

Other

secured

loans

   Unsecured
loans
   Total 
   RMB   RMB   RMB   RMB   RMB   RMB   RMB 
Beginning balance   (5,149)   (913)   (64,515)   (252,174)   (3,755)   (79,784)   (406,290)
Current year provision   (7,864)   (4,427)   4,106    (430,213)   (53,245)   (259,929)   (751,572)
Recoveries of loans previously written off   -    -    -    (27,879)   (24)   (355)   (28,258)
Write-offs   -    -    -    242,492    18,323    154,955    415,770 
Ending balance   (13,013)   (5,340)   (60,409)   (467,774)   (38,701)   (185,113)   (770,350)

 

2019  Loans receivable   Acquired non-performing loans     
  

Auto-
backed

loans

   Other
secured
loans
   Unsecured
loans
   Auto-
backed
loans
   Other
secured
loans
   Unsecured
loans
   Total 
   RMB   RMB   RMB   RMB   RMB   RMB   RMB   US$ 
Beginning balance   (13,013)   (5,340)   (60,409)   (467,774)   (38,701)   (185,113)   (770,350)   (110,654)
Current year provision   9,803    2,447    34,844    (790,565)   (42,696)   (453,795)   (1,239,962)   (178,109)
Recoveries of Loans previously written off   -    -    -    (33,587)   (1,180)   (340)   (35,107)   (5,043)
Write-offs   -    -    -    388,541    3,979    385,878    778,398    111,810 
Deregistration of subsidiary   -    -    -    -    -    7,396    7,396    1,062 
Ending balance   (3,210)   (2,893)   (25,565)   (903,385)   (78,598)   (245,974)   (1,259,625)   (180,934)

 

 F-42 

 

 

WEIDAI LTD.

 

NOTES TO THE CONSOLIDATED FINANCIAL STATEMENTS

 

(Amounts in thousands of Renminbi (“RMB”) and US dollar (“US$”),

except for number of shares and per share data)

 

 

The following table sets forth the aging of loans receivable as of December 31, 2018 and 2019:

 

As of December 31, 2018  Current   1-30
days
past
due
   31-60
days
past
due
   61-90
days
past
due
   91-120
days
past
due
   121-150
days
past
due
   151-180
days
past
due
   181-360
days
past due
   Over
360
days
past
due
   Total 
   RMB   RMB   RMB   RMB   RMB   RMB   RMB   RMB   RMB   RMB 
Loans receivable                                                  
Auto-backed loans   383,469    15,939    3,523    3,663    578    -    496    3,148    -    410,816 
Other secured loans   324,102    7,929    3,168    1,149    -    -    -    -    -    336,348 
Unsecured loans   557,229    53,294    8,749    5,287    4,619    3,895    2,629    5,768    -    641,470 
Total   1,264,800    77,162    15,440    10,099    5,197    3,895    3,125    8,916    -    1,388,634 

 

As of December 31, 2019  Current   1-30
days
past
due
   31-60
days
past
due
   61-90
days
past
due
   91-120
days
past due
   121-150
days
past
due
   151-180
days
past due
   181-360 days
past
due
   Over
360
days
past
due
   Total 
   RMB   RMB   RMB   RMB   RMB   RMB   RMB   RMB   RMB   RMB   US$ 
Loans receivable                                                       
Auto-backed loans   143,019    2,339    1,457    1,314    -    109    198    480    -    148,916    21,391 
Other secured loans   148,007    3,600    1,087    1,143    -    -    -    -    -    153,837    22,097 
Unsecured loans   51,578    17,162    3,450    2,740    3,354    3,271    3,570    11,437    903    97,465    14,000 
Total   342,604    23,101    5,994    5,197    3,354    3,380    3,768    11,917    903    400,218    57,488 

 

 F-43 

 

 

WEIDAI LTD.

 

NOTES TO THE CONSOLIDATED FINANCIAL STATEMENTS

 

(Amounts in thousands of Renminbi (“RMB”) and US dollar (“US$”),

except for number of shares and per share data)

 

 

5.Short-term investments

 

As of December 31, 2018 and 2019, the Company’s short-term investments consist of available-for-sale debt securities with maturities of less than one year purchased from commercial banks. During the years ended December 31, 2017, 2018 and 2019, the Company recorded interest income from short-term investments of RMB17,202, RMB11,685 and RMB10,979 (US$1,577) in the consolidated statements of comprehensive income, respectively.

 

6.Prepaid expenses and other assets

 

   As of December 31, 
   2018   2019 
   RMB   RMB   US$ 
Current:            
Guarantee deposits (i)   116,535    99,785    14,333 
Amounts due from third-party payment platforms (ii)   85,127    36,160    5,194 
Prepaid rental and deposits   49,893    52,309    7,514 
Others   308,610    253,078    36,352 
Total   560,165    441,332    63,393 
Non-current:               
Guarantee deposits   2,000    -    - 
Prepaid rental and deposits   5,606    11,836    1,700 
Others   -    11,593    1,665 
Total   7,606    23,429    3,365 

 

(i)Guarantee deposits are mainly deposits paid to institutional funding partners for cooperation with these funding partners.

 

(ii)Amount due from third-party payment platforms are mainly restricted cash held by third-party payment platform that belong to the borrowers and online investors as of December 31, 2018 and 2019.

 

7.Long-term investments

 

As of December 31, 2018 and 2019, the Company’s long-term investments consist of cost method investments, which are investments in an investee over which the Company does not have control or significant influence and for which there is no readily determinable fair value.

 

8.Property and equipment and software, net

 

Property, equipment and software, net consist of the following:

 

   As of December 31, 
   2018   2019 
   RMB   RMB   US$ 
Computer and electronic equipment   55,523    57,061    8,197 
Leasehold improvement   46,596    55,954    8,037 
Vehicles   20,615    10,731    1,541 
Office furniture and equipment   4,321    3,732    536 
Software   18,089    24,325    3,494 
Total   145,144    151,803    21,805 
Less: Accumulated depreciation and amortization   (56,413)   (92,020)   (13,218)
Property, equipment and software, net   88,731    59,783    8,587 

 

Depreciation and amortization expenses of the property, equipment and software were RMB12,747, RMB42,431 and RMB 42,586 (US$6,117) for the years ended December 31, 2017, 2018 and 2019, respectively.

 

 

 F-44 

 

 

WEIDAI LTD.

 

NOTES TO THE CONSOLIDATED FINANCIAL STATEMENTS

 

(Amounts in thousands of Renminbi (“RMB”) and US dollar (“US$”),

except for number of shares and per share data)

 

 

9.Payable to institutional funding partners and online investors

 

The following table presents payable to institutional funding partners and online investors as of December 31, 2018 and 2019:

 

   Fixed annual Rate
(%)
  Term  As of December 31, 
         2018   2019 
         RMB   RMB   US$ 
Current:                  
Institutional funding partners  3% to 11%  7 to 12 months   390,908    242,056    34,769 
Online investors  3% to 11%  2 to 12 months   614,328    46,970    6,747 
          1,005,236    289,026    41,516 
Non-current:                     
Institutional funding partners  3% to 11%  13 to 36 months   395,901    51,444    7,389 
Online investors  5% to 13%  13 to 24 months   54,259    -    - 
          450,160    51,444    7,389 

 

The following table sets forth the contractual obligations which has not included the impact of discount of time value as of December 31, 2018 and 2019:

 

   Payment due by period 
Long-term borrowings and interest payable:  Less than 1 year   1-2 years   Greater than 2
years
   Total 
As of December 31, 2018 (RMB)   485,878    412,650    54,275    952,803 
As of December 31, 2019 (RMB)   386,337    54,067    -    440,404 
As of December 31, 2019 (US$)   55,494    7,766    -    63,260 

 

10.Current account with online investors and borrowers

 

   As of December 31, 
   2018   2019 
   RMB   RMB   US$ 
Investor deposits   1,461,080    853,283    122,566 
Undrawn borrower funds and deposits   544,525    421,927    60,606 
Total   2,005,605    1,275,210    183,172 

 

 F-45 

 

 

WEIDAI LTD.

 

NOTES TO THE CONSOLIDATED FINANCIAL STATEMENTS

 

(Amounts in thousands of Renminbi (“RMB”) and US dollar (“US$”),

except for number of shares and per share data)

 

 

11.Accrued expenses and other liabilities

 

Accrued expenses and other liabilities consist of the following:

 

   As of December 31, 
   2018   2019 
   RMB   RMB   US$ 
Payroll and welfare payable   264,600    164,226    23,590 
Accrued marketing expense   38,536    25,683    3,689 
Other taxes payable   24,399    18,540    2,663 
Others   173,904    188,957    27,141 
Total   501,439    397,406    57,083 

 

12.Interest income, net

 

Interest income, net consist of the following:

 

   Year Ended December 31, 
   2017   2018   2019 
   RMB   RMB   RMB   US$ 
Interest income   35,742    73,729    42,013    6,035 
Interest expense   (4,949)   (5,597)   -    - 
Bank charges   (490)   (1,341)   (3,491)   (501)
Exchange gains   -    -    1,094    156 
Interest income, net   30,303    66,791    39,616    5,690 

 

13.Income taxes

 

Enterprise income tax

 

Cayman Islands

 

Under the current laws of the Cayman Islands, the Company is not subject to tax on income or capital gains. In addition, upon payments of dividends by the Company to its shareholders, no withholding tax is imposed.

 

Hong Kong

 

The subsidiary incorporated in Hong Kong is subject to income tax at the rate of 16.5% on the estimated assessable profits arising in Hong Kong. For the years ended December 31, 2017, 2018 and 2019, the Company did not make any provisions for Hong Kong profit tax as there were no assessable profits derived from or earned in Hong Kong for any of the periods presented. Under the Hong Kong tax law, Weidai HK is exempted from income tax on its foreign-derived income and there is no withholding taxes in Hong Kong on remittance of dividends.

 

 F-46 

 

 

WEIDAI LTD.

 

NOTES TO THE CONSOLIDATED FINANCIAL STATEMENTS

 

(Amounts in thousands of Renminbi (“RMB”) and US dollar (“US$”),

except for number of shares and per share data)

 

 

China

 

The Company’s subsidiary, VIE and VIE’s subsidiaries domiciled in the PRC were subject to 25% statutory income tax rate in the periods presented. Zhejiang Qunshuo Electronics Co., Ltd. and Hangzhou Yaohong Technology Co., Ltd. qualify as High and New Technology Enterprise (“HNTE”) companies in the PRC, and are entitled to pay a reduced income tax rate of 15% for the period from January 1, 2019 to December 31, 2021. A HNTE Certificate is valid for three years. An entity may re-apply for an HNTE certificate when the prior certificate expires.

 

The Enterprise Income Tax Law (the “EIT Law”) of the PRC includes a provision specifying that legal entities organized outside PRC will be considered residents for Chinese income tax purposes if their place of effective management or control is within the PRC. If legal entities organized outside PRC were considered residents for Chinese income tax purpose, they would become subject to the EIT Law on their worldwide income. This would cause any income from legal entities organized outside PRC earned to be subject to PRC’s 25% EIT. The Implementation Rules to the EIT Law provides that non-resident legal entities will be considered as PRC residents if substantial and overall management and control over the manufacturing and business operations, personnel, accounting, and properties, etc. reside within PRC.

 

Despite the present uncertainties resulting from the limited PRC tax guidance on the issue, the Company does not believe that the legal entities organized outside PRC should be characterized as PRC residents for EIT Law purposes.

 

Withholding tax on undistributed dividends

 

The EIT law also imposes a withholding income tax of 10% on dividends distributed by a foreign invested enterprise (“FIE”) to its immediate holding company outside of China, if such immediate holding company is considered as a non-resident enterprise without any establishment or place within China or if the received dividends have no connection with the establishment or place of such immediate holding company within China, unless such immediate holding company’s jurisdiction of incorporation has a tax treaty with China that provides for a different withholding arrangement. According to the Arrangement between Mainland China and Hong Kong Special Administrative Region on the Avoidance of Double Taxation and Prevention of Fiscal Evasion with respect to Taxes on Income in August 2006, dividends paid by an FIE in China to its immediate holding company in Hong Kong will be subject to withholding tax at a rate of no more than 5% (if the foreign investor owns directly at least 25% of the shares of the FIE).

 

The Company did not provide for foreign withholding taxes on the undistributed earnings of foreign subsidiaries during the years presented on the basis of its intent to permanently reinvest its foreign subsidiaries’ earnings. As of December 31, 2019, the total amount of undistributed earnings from the PRC subsidiaries for which no withholding tax has been accrued was RMB1,075,678 (US$154,511).

 

Super deduction on research and development (“R&D”) expenses

 

Under the EIT law of the PRC, qualified enterprises can enjoy a 150% super deduction for eligible R&D expenses in the year ended 2017, and 175% in the years ended in December 31, 2018 and 2019. During the years ended December 31, 2017, 2018 and 2019, RMB95,295, RMB86,686 and RMB85,810 (US$12,326) of R&D expense was eligible for the super deduction, which accounts for an RMB11,912, RMB16,254 and RMB13,919 (US$1,999) decrease in tax expense, respectively.

 

The Company generates substantially all of its profit before income tax in the PRC. The current and deferred components of income tax expenses appearing in the consolidated statements of comprehensive income are as follows:

 

   Year ended December 31, 
   2017   2018   2019 
   RMB   RMB   RMB   US$ 
Current income tax   318,090    330,859    365,292    52,471 
Deferred income tax   (124,887)   (171,230)   (260,049)   (37,354)
    193,203    159,629    105,243    15,117 

 

 F-47 

 

 

WEIDAI LTD.

 

NOTES TO THE CONSOLIDATED FINANCIAL STATEMENTS

 

(Amounts in thousands of Renminbi (“RMB”) and US dollar (“US$”),

except for number of shares and per share data)

 

The principal components of the deferred tax assets are as follows:

 

   As of December 31, 
   2018   2019 
   RMB   RMB   US$ 
Deferred tax assets               
Allowance for loans and advances   235,415    492,923    70,804 
Net operating loss carry forwards   46,550    48,715    6,997 
Accruals for share-based compensation   29,637    41,518    5,964 
Accruals for payroll and other costs   19,925    13,590    1,952 
Accruals for other liabilities   -    4,801    690 
Contract liabilities   -    86,573    12,435 
Less: valuation allowance   (1,731)   (13,031)   (1,872)
Balance at the end of the year   329,796    675,089    96,970 

 

The Company operates through its subsidiaries, VIEs and subsidiaries of the VIEs. The valuation allowance is considered on an individual entity basis. As of December 31, 2018 and 2019, valuation allowances on deferred tax assets are mainly arising from tax loss carry forwards because the Company believes that it is more-likely-than-not that certain of the subsidiaries, VIEs and subsidiaries of the VIE registered in the PRC will not be able to generate sufficient taxable income in the near future, to utilize the tax loss carry forwards.

 

A reconciliation of the differences between the PRC statutory tax rate is as follows:

 

   Year ended December 31, 
   2017   2018   2019 
   RMB   RMB   RMB   US$ 
Income before provision of income tax   668,024    764,259    368,485    52,930 
PRC statutory income tax rate   25%   25%   25%   25%
Income tax computed at statutory tax rate   167,006    191,065    92,121    13,233 
Difference on tax rate   -    -    (18,427)   (2,647)
Research and development super-deduction   (11,912)   (16,254)   (13,919)   (1,999)
Non-deductible/non-taxable items   1,499    29,916    34,168    4,908 
Changes in valuation allowance   36,610    (45,098)   11,300    1,622 
Income tax expenses   193,203    159,629    105,243    15,117 

 

The Company did not identify significant unrecognized tax benefits for the years ended December 31, 2017, 2018 and 2019. The Company did not incur any interest and penalties related to potential underpaid income tax expenses.

 

In general, the PRC tax authority has up to five years to conduct examinations of the Company’s tax filings. Accordingly, the PRC subsidiaries’ and VIEs and subsidiaries of the VIEs’ tax years 2015 through 2019 remain open to examination by the taxing jurisdictions. According to PRC tax regulations, the PRC net operating loss can generally carry forward for no longer than five years starting from the year subsequent to the year in which the loss was incurred. Carryback of losses is not permitted. As of December 31, 2019, the Company had net operating losses of RMB194,860 (US$27,990) which will be available to offset future taxable income. If not used, these carryforwards will expire between the year ended December 31, 2022 and 2024.

 

 

 F-48 

 

 

WEIDAI LTD.

 

NOTES TO THE CONSOLIDATED FINANCIAL STATEMENTS

 

(Amounts in thousands of Renminbi (“RMB”) and US dollar (“US$”),

except for number of shares and per share data)

 

 

14.Earnings per share

 

Basic earnings per share for each of the years presented are calculated as follows:

 

   Year ended December 31, 
   2017   2018   2019 
   Ordinary
shares
   Class A   Class B   Class A   Class B 
   RMB   RMB   RMB   RMB   US$   RMB   US$ 
Numerator:                                   
Net income attributable to ordinary shareholders   466,217    338,385    383,234    127,357    18,293    126,253    18,135 
Allocation of net income attributable to preferred shares   (115,555)   (164,830)   -    -    -    -    - 
Numerator for computing basic earnings per share   350,662    173,555    383,234    127,357    18,293    126,253    18,135 
Denominator:                                   
Weighted average number of ordinary shares outstanding - basic   48,392,050    15,882,661    35,071,400    35,378,124    35,378,124    35,071,400    35,071,400 
Earnings per share - basic   7.25    10.93    10.93    3.60    0.52    3.60    0.52 

 

 

 F-49 

 

  

WEIDAI LTD.

 

NOTES TO THE CONSOLIDATED FINANCIAL STATEMENTS

 

(Amounts in thousands of Renminbi (“RMB”) and US dollar (“US$”),

except for number of shares and per share data)

 

 

Diluted earnings per share for each of the years presented are calculated as follows:

 

   Year ended December 31, 
   2017   2018   2019 
   Ordinary shares   Class A   Class B   Class A   Class B 
   RMB   RMB   RMB   RMB   US$   RMB   US$ 
Numerator:                                   
Numerator for computing basic earnings per share   350,662    173,555    383,234    127,357    18,293    126,253    18,135 
Allocation of net income attributable to Series C redeemable convertible preferred shares   22,324    -    -    -    -    -    - 
Numerator for computing diluted earnings per share   372,986    173,555    383,234    127,357    18,293    126,253    18,135 
Denominator:                                   
Weighted average number of ordinary shares outstanding   48,392,050    15,882,661    35,071,400    35,378,124    35,378,124    35,071,400    35,071,400 
Conversion of Series C redeemable convertible preferred shares to ordinary shares   3,074,400    -    -    -    -    -    - 
Weighted average number of ordinary shares outstanding - diluted   51,466,450    15,882,661    35,071,400    35,378,124    35,378,124    35,071,400    35,071,400 
Earnings per share - diluted   7.25    10.93    10.93    3.60    0.52    3.60    0.52 

  

 F-50 

 

 

WEIDAI LTD.

 

NOTES TO THE CONSOLIDATED FINANCIAL STATEMENTS

 

(Amounts in thousands of Renminbi (“RMB”) and US dollar (“US$”),

except for number of shares and per share data)

 

 

15.Share capital

 

Ordinary shares

 

On January 26, 2018, the Company issued 48,392,050 ordinary shares with par value of US$0.000002 to its shareholders in connection with the incorporation of the Company (Note 1). As of December 31, 2017, 24,982,901,300 ordinary shares were authorized and 48,392,050 ordinary shares were issued and outstanding, on a retrospective basis.

 

Pursuant to the Company’s memorandum and articles of association, upon the completion of the IPO, all the outstanding Preferred Shares will automatically be converted into 17,098,700 Class A ordinary shares, and all the outstanding ordinary shares are re-designated into 13,320,650 Class A ordinary shares and 35,071,400 Class B ordinary shares, respectively. The rights of the holders of Class A and Class B ordinary shares are identical, except with respect to voting and conversion rights. Each share of Class A ordinary shares is entitled to one vote per share and is not convertible into Class B ordinary shares under any circumstances. Each share of Class B ordinary shares is entitled to five vote per share and is convertible into one Class A ordinary share at any time by the holder thereof. Upon any transfer of Class B ordinary shares by the holder thereof to any person or entity which is not an affiliate of such holder, such Class B ordinary shares would be automatically converted into equal number of Class A ordinary shares.

 

On November 15, 2018, the Company completed its IPO on the New York Stock Exchange. The Company offered 4,500,000 Class A ordinary shares at US$10.00 per ADS. Additionally, on December 14, 2018, the underwriters exercised their options to purchase an additional 456,427 ADS at US$10.00 per ADS, representing 456,427 Class A ordinary shares, from the Company, respectively. Net proceeds from the IPO including the over-allotment option after deducting underwriting discount were RMB311,931. Deferred IPO costs of RMB25,528 were recorded as a reduction of the proceeds from the IPO in shareholders’ equity.

 

As of December 31, 2018, there were 35,375,777 and 35,071,400 Class A and Class B ordinary shares outstanding respectively. As of December 31, 2019, there were and 35,390,055 and 35,071,400 Class A and Class B ordinary shares outstanding respectively.

 

Dividends

 

On April 14, 2017, the VIE’s Board of Directors declared dividends of RMB32,228 which was 10% of distributable net income of the year ended December 31, 2016 to all the holders of ordinary shares and preferred shares outstanding as of December 31, 2016 proportionately. The dividends per share was RMB0.50 and the aggregate dividends declared for the ordinary shares, Series A, A+, B and C preferred shares was RMB23,624, RMB4,602, RMB920, RMB1,534 and RMB1,548, respectively. The dividends were paid in 2017. No dividend was declared for the years ended December 31, 2018 and 2019.

 

 F-51 

 

 

WEIDAI LTD.

 

NOTES TO THE CONSOLIDATED FINANCIAL STATEMENTS

 

(Amounts in thousands of Renminbi (“RMB”) and US dollar (“US$”),

except for number of shares and per share data)

 

 

16.Related party balances and transactions

 

a) Related parties

 

Name of related parties   Relationship with the Company
Mr. Hong Yao  Founder, chief executive officer and principal shareholder of the Company
Hangzhou Ruituo Technology Co., Ltd.  Entity controlled by Founder
Zhejiang Ruituo Information Technology Co., Ltd.  Entity controlled by Founder
Shanghai Zaohui Finance Lease Co., Ltd.  Entity controlled by Director prior to June 6, 2018
Zhejiang Qunshuo Electronics Co., Ltd.  Entity significantly influenced by Founder prior to October 10, 2017
Beijing Lezhihui Technology Co., Ltd.  Entity significantly influenced by Founder
Hangzhou Qiandaohuyaodage Trading Co., Ltd.  Entity controlled by immediate family members of Founder
Zhejiang Hongrui Investment Management Co., Ltd.  Entity controlled by immediate family members of Founder
Weiyi (Hangzhou) Internet Financial Information Service Co., Ltd.  Entity controlled by immediate family members of Founder prior to May 2018
Chunan Yunxiu Financial Information Advisory Services Partnership (GP) (formerly known as Chunan Yuntong Information Advisory Services Company)  Entity controlled by immediate family members of Director
Chunan Wenbei Financial Information Advisory Services Partnership (GP) (formerly known as Chunan Wencai Information Advisory Services Company)  Entity controlled by immediate family members of Founder
Chunan Wenbing Financial Information Advisory Services Partnership (GP) (formerly known as Chunan Wencai Information Advisory Services Company)  Entity controlled by immediate family members of Founder
Chunan Wenhai Financial Information Advisory Services Partnership (GP) (formerly known as Chunan Wencai Information Advisory Services Company)  Entity controlled by immediate family members of Founder
Chunan Wenjun Financial Information Advisory Services Partnership (GP) (formerly known as Chunan Wencai Information Advisory Services Company)  Entity controlled by immediate family members of Founder
Chunan Wenkang Financial Information Advisory Services Partnership (GP) (formerly known as Chunan Wencai Information Advisory Services Company)  Entity controlled by immediate family members of Founder
Chunan Wenlin Financial Information Advisory Services Partnership (GP) (formerly known as Chunan Wencai Information Advisory Services Company)  Entity controlled by immediate family members of Founder
Chunan Wenrong Financial Information Advisory Services Partnership (GP) (formerly known as Chunan Wencai Information Advisory Services Company)  Entity controlled by immediate family members of Founder

 

 F-52 

 

 

WEIDAI LTD.

 

NOTES TO THE CONSOLIDATED FINANCIAL STATEMENTS

 

(Amounts in thousands of Renminbi (“RMB”) and US dollar (“US$”),

except for number of shares and per share data)

 

 

Chunan Wenshe Financial Information Advisory Services Partnership (GP) (formerly known as Chunan Wencai Information Advisory Services Company)  Entity controlled by immediate family members of Founder
Chunan Wensheng Financial Information Advisory Services Partnership (GP) (formerly known as Chunan Wencai Information Advisory Services Company)  Entity controlled by immediate family members of Founder
Chunan Wenyang Financial Information Advisory Services Partnership (GP) (formerly known as Chunan Wencai Information Advisory Services Company)  Entity controlled by immediate family members of Founder
Chunan Wanglin Financial Information Advisory Services Partnership (GP) (formerly known as Chunan Wangcai Information Advisory Services Company)  Entity controlled by immediate family members of Director
Chunan Wangqi Financial Information Advisory Services Partnership (GP) (formerly known as Chunan Wangcai Information Advisory Services Company)  Entity controlled by immediate family members of Director
Chunan Wangqian Financial Information Advisory Services Partnership (GP) (formerly known as Chunan Wangcai Information Advisory Services Company)  Entity controlled by immediate family members of Director
Chunan Wangqun Financial Information Advisory Services Partnership (GP) (formerly known as Chunan Wangcai Information Advisory Services Company)  Entity controlled by immediate family members of Director
Chunan Wangxia Financial Information Advisory Services Partnership (GP) (formerly known as Chunan Wangcai Information Advisory Services Company)  Entity controlled by immediate family members of Director
Chunan Wanglan Financial Information Advisory Services Partnership (GP) (formerly known as Chunan Wangcai Information Advisory Services Company)  Entity controlled by immediate family members of Director
Chunan Wangzhi Financial Information Advisory Services Partnership (GP)  Entity controlled by immediate family members of Director
Suzhou Weixin Zhonghua Venture Capital Partnership (LLP)  The Company’s shareholder
Zhejiang Zhongbo Finance Lease Co., Ltd.  Entity controlled by Director
Zhejiang Ruituo Non-financing Guarantee Co., Ltd.  Entity controlled by Founder
PT PENDANAAN GOTONG ROYONG  Entity significantly influenced by the Company
Weiwu (Hangzhou) Network Technology Co., Ltd.  Entity controlled by Founder
Deqing Jingxiu Management Consultant Partnership (LLP)  The Company’s shareholder
Key management and their immediate family members  The Company’s key management and their immediate family members

 

 

 F-53 

 

 

WEIDAI LTD.

 

NOTES TO THE CONSOLIDATED FINANCIAL STATEMENTS

 

(Amounts in thousands of Renminbi (“RMB”) and US dollar (“US$”),

except for number of shares and per share data)

 

 

b) The Company had the following related party transactions:

 

   Year ended December 31, 
   2017   2018   2019 
   RMB   RMB   RMB   US$ 
Loan facilitation service fee from:                    
Key management and their immediate family members   851    742    -    - 
Hangzhou Ruituo Technology Co., Ltd.   -    39    -    - 
Loan service fee from:                    
Key management and their immediate family members   -    -    274    39 
Hangzhou Ruituo Technology Co., Ltd.   -    -    32    5 
Total   851    781    306    44 
Other revenues:                    
Beijing Lezhihui Technology Co., Ltd.   3,740    13,362    -    - 
Origination and servicing expenses:                    
Beijing Lezhihui Technology Co., Ltd.   49,377    22,739    -    - 
Chunan Wanglan Financial Information Advisory Services Partnership (GP)   -    18,077    1,729    248 
Chunan Wenjun Financial Information Advisory Services Partnership (GP)   -    11,290    6,927    995 
Chunan Wenkang Financial Information Advisory Services Partnership (GP)   -    9,103    4,518    649 
Chunan Wenhai Financial Information Advisory Services Partnership (GP)   -    8,743    3,518    505 
Chunan Wenbing Financial Information Advisory Services Partnership (GP)   -    8,455    6,228    895 
Chunan Wenlin Financial Information Advisory Services Partnership (GP)   -    8,408    4,693    674 
Chunan Wenrong Financial Information Advisory Services Partnership (GP)   -    8,357    5,902    848 
Chunan Wenshe Financial Information Advisory Services Partnership (GP)   -    8,047    -    - 
Chunan Wenbei Financial Information Advisory Services Partnership (GP)   -    7,717    6,900    991 
Chunan Wensheng Financial Information Advisory Services Partnership (GP)   -    7,600    6,509    935 
Chunan Wenyang Financial Information Advisory Services Partnership (GP)   -    6,924    1,709    245 

 

 

 F-54 

 

 

WEIDAI LTD.

 

NOTES TO THE CONSOLIDATED FINANCIAL STATEMENTS

 

(Amounts in thousands of Renminbi (“RMB”) and US dollar (“US$”),

except for number of shares and per share data)

 

 

Chunan Wangxia Financial Information Advisory Services Partnership (GP)   -    6,761    3,027    435 
Chunan Wanglin Financial Information Advisory Services Partnership (GP)   -    5,133    6,900    991 
Chunan Wangqi Financial Information Advisory Services Partnership (GP)   -    4,969    4,250    610 
Chunan Wangqun Financial Information Advisory Services Partnership (GP)   -    4,948    9,255    1,329 
Chunan Wangqian Financial Information Advisory Services Partnership (GP)   -    2,424    -    - 
Chunan Yunxiu Financial Information Advisory Services Partnership (GP)   -    1,909    943    135 
Chunan Wencai Information Advisory Services Company   99,601    -    -    - 
Chunan Wangcai Information Advisory Services Company   62,496    -    -    - 
Chunan Yuntong Information Advisory Services Company   2,793    -    -    - 
Collecting costs to:                    
Zhejiang Hongrui Investment Management Co., Ltd.   20,469    6,253    -    - 
Zhejiang Ruituo Information Technology Co., Ltd.   -    4,996    -    - 
GPS costs to:                    
Zhejiang Qunshuo Electronics Co., Ltd   25,290    -    -    - 
Total   260,026    162,853    73,008    10,485 
General and administrative expenses:                    
Consulting expenses to:                    
Suzhou Weinxin Zhonghua Venture Capital Partnership (LLP)   20,000    -    -    - 
Welfare expenses to:                    
Hangzhou Qiandaohuyaodage Trading Co., Ltd.   1,387    276    -    - 
Total   21,387    276    -    - 
Sales and marketing expenses:                    
Promotion expenses to:                    
Weiyi (Hangzhou) Internet Financial Information Service Co., Ltd   7,916    9,631    -    - 
Trademark expenses to:                    
Zhejiang Ruituo Information Technology Co., Ltd.   62    -    -    - 
Total   7,978    9,631    -    - 

 

 F-55 

 

 

WEIDAI LTD.

 

NOTES TO THE CONSOLIDATED FINANCIAL STATEMENTS

 

(Amounts in thousands of Renminbi (“RMB”) and US dollar (“US$”),

except for number of shares and per share data)

 

 

c)            The Company had the following related party balances:

 

Amounts due from related parties

 

       As of December 31, 
       2018   2019 
       RMB   RMB   US$ 
Zhejiang Zhongbo Finance Lease Co., Ltd.   (i)    10,010    -    - 
Hangzhou Ruituo Technology Co., Ltd.   (ii)    7,081    7,036    1,011 
Zhejiang Ruituo Non-financing Guarantee Co., Ltd.        2,692    2,679    385 
PT PENDANAAN GOTONG ROYONG        -    1,918    276 
Others        2,014    12,419    1,783 
Total        21,797    24,052    3,455 

 

(i)The balance represents loans provided to Zhejiang Zhongbo Finance Lease Co., Ltd. ("Zhongbo") for the advances of certain type of loan product of the Company as of December 31, 2018.

(ii)The balance mainly represents loans provided to Hangzhou Ruituo Technology Co., Ltd. and receivable from the disposal of vehicle collaterals for overdue loans as of December 31, 2018 and 2019.

 

Amounts due to related parties

 

       As of December 31, 
       2018   2019 
       RMB   RMB   US$ 
Hangzhou Ruituo Technology Co., Ltd.   (iii)    714    23,743    3,410 
Key management and their immediate family members   (iii)    7,626    3,831    550 
Mr. Hong Yao   (iii)    950    328    47 
Zhejiang Zhongbo Finance Lease Co., Ltd.   (iv)    9,471    -    - 
Chunan Wangqi Financial Information Advisory Services Partnership (GP)        1,806    -    - 
Chunan Wangzhi Financial Information Advisory Services Partnership (GP)        1,290    -    - 
Chunan Wangqun Financial Information Advisory Services Partnership (GP)        1,110    -    - 
Other related service center operation partners        4,833    74    11 
Beijing Lezhihui Technology Co., Ltd.        275    275    40 
Others        653    799    115 
Total        28,728    29,050    4,173 

 

(iii)The balance mainly represents investment balance due to related parties who are also investors on the platform.

(iv)The balance represents account balance of Zhongbo on the platform which is borrowed from the Company and used for the advances of certain type of loan product of the Company.

 

 F-56 

 

 

WEIDAI LTD.

 

NOTES TO THE CONSOLIDATED FINANCIAL STATEMENTS

 

(Amounts in thousands of Renminbi (“RMB”) and US dollar (“US$”),

except for number of shares and per share data)

 

 

18.Share-based compensation

 

Restricted shares

 

On January 16, 2018, the Founder granted 131,000 restricted shares in aggregate for nil consideration to certain directors and executives. The restricted shares granted are immediately vested. The Company calculated the estimated fair value of the shares on the respective grant dates using the income approach with assistance from an independent valuation firm. The fair value of the granted shares was RMB134.42 per share as at the grant date. The share-based compensation of RMB17,610 in total was charged to the consolidated statement of comprehensive income for the year ended December 31, 2018.

 

Stock appreciation rights

 

On December 18, 2015, the Board of Directors of the Company approved the plan to issue stock appreciation rights (the “Weimi Share Plan”) for the purpose of providing incentives and rewards to employees and executives who contribute to the success of VIE’s operations. During the years ended December 31, 2017 and 2018, the Company issued a total of 2.72 % and 2.13% of the equity interest of the Company under the Weimi Share Plan. These stock appreciation rights have no exercise price and will be settled in cash at the amount of the fair value of the respective equity interest percentages of the Company on the exercise date over their fair value at the grant date. These stock appreciation rights are exercisable prior to the Company’s successful IPO and are classified as liability awards. Also, at the discretion of the Company, each grantee may receive a certain percentage of annual attributable net profit as annual dividend which is settled in cash. In addition, the grantee has the option to purchase the Company’s shares when the grantee’s accumulated stock appreciation rights granted exceed 0.1% of the Company’s total paid-in-capital (the purchase price will be determined by the Company at the time when such event occurs).

 

These stock appreciation rights are subject to vesting of 33%, 33% and 34% on the second, third and fourth anniversary of the vest commencement date, respectively. The vested stock appreciation rights are exercisable within five years from the grant date. During the years ended December 31, 2017, 2018 and 2019, no dividend was declared to the grantee and none of the grantee’s accumulated stock appreciation rights granted exceeded 0.1% of the Company’s total paid-in-capital.

 

On October 1, 2018, the Company modified the stock appreciation rights by replacing the cash-settlement feature with a net share settlement feature, which converts the award from a liability award to an equity award because the Company no longer has an obligation to transfer cash to settle the arrangement. All of the outstanding vested virtual share options were exchanged for restricted shares of the Company with no other terms or conditions changed. These restricted shares are held by one of the Company’s ordinary shareholders on behalf of the grantees, and are considered outstanding as the shareholder is entitled to dividends if declared.

 

The Company compared the fair value of the instrument immediately before the modification to the fair value of the modified equity award, no incremental compensation cost was noted and recognized. The modified award would be accounted for as an equity award from the date of modification with a fair value of RMB216.43 per share. Therefore, at the modification date, the Company reclassified the liability of RMB106,465 recognized on September 30, 2018, as additional paid-in capital. In addition, the Company also will recognize the remaining compensation expenses over the remaining service requisite period using the accelerated method. The share-based compensation of RMB40,719, RMB88,961 and RMB26,858 (US$3,858) were charged to the consolidated statements of comprehensive income for the year ended December 31, 2017, 2018 and 2019.

 

The Company calculated the estimated fair value of the stock appreciation rights on December 31, 2017 and September 30, 2018 using the Black-Scholes option pricing model with assistance from independent valuation firm. Assumptions used to determine the fair value of the virtual share options granted are summarized as follows:

 

   December 31, 2017   September 30, 2018 
Fair value per ordinary share   134.42    148.37 
Risk-free interest rate   4.35%   4.35%
Dividend yield   nil    nil 
Expected volatility range   61.00%   61.00%
Weighted average expected life (years)   2.92-3.75    2.17-3.75 

 

 F-57 

 

 

WEIDAI LTD.

 

NOTES TO THE CONSOLIDATED FINANCIAL STATEMENTS

 

(Amounts in thousands of Renminbi (“RMB”) and US dollar (“US$”),

except for number of shares and per share data)

 

 

The estimated fair value of the Company’s enterprise value, which was used in calculating the fair value per ordinary shares, as of December 31, 2017 and September 30, 2018 was determined with the assistance of an independent third party valuation firm using the Income Approach. The risk-free interest rate for periods within the contractual life of the options is based on the U.S. Treasury yield curve in effect at the time of grant for a term consistent with the contractual term of the awards. The dividend yield is estimated based on our expected dividend policy over the expected term of the options. Expected volatility is estimated based on the historical volatility ordinary shares of several comparable companies in the same industry. The weighted average expected life was estimated using simplified method for “plain-vanilla” options as the Company considers the options granted to have “plain-vanilla” characteristics.

 

2018 share incentive plan

 

In August 2018, the Company’s board of directors approved 2018 share incentive plan, or the 2018 Plan. The maximum number of ordinary shares that may be issued under the 2018 Plan is 3,300,000 after giving effect to the 50 for 1 share split effected by the Company in September 2018. The 2018 Plan permits the awards of options, restricted shares, restricted share units or any other type of awards that the board of directors or the chairman of the board of directors (the plan administrator) decides, to directors, officers, employees and consultants of the company or any of the Company’s subsidiaries. Unless terminated earlier, the 2018 Plan has a term of ten years. The terms and conditions of the awards, including vesting schedule and the exercise price for each award, will be determined by the plan administrator, and will be stipulated in the award agreement. As of December 31, 2019, the Company has granted 1,972,951 share awards under the 2018 Plan, including 1,901,561 options and 71,390 restricted share units. As of December 31, 2019, nil of option and 14,278 restricted share units were exercised, respectively.

 

The Company calculated the estimated fair value of the stock options on each grant date during the year ended December 31, 2019, using the Black-Scholes option pricing model with the assistance of an independent third party valuation firm. Assumptions used to determine the fair value of the virtual share options granted are summarized as follows:

 

   Each grant date during the year
ended December 31, 2019
 
Fair value per ordinary share   The closing stock price at the grant date 
Risk-free interest rate   2.91%
Dividend yield   nil 
Expected volatility range   54.67%
Weighted average expected life (years)   5.25-6.17 

 

The risk-free interest rate for periods within the contractual life of the stock options is based on the U.S. Treasury yield curve in effect at the time of grant for a term consistent with the contractual term of the awards. The dividend yield is estimated based on our expected dividend policy over the expected term of the stock options. Expected volatility is estimated based on the historical volatility ordinary shares of several comparable companies in the same industry. The weighted average expected life was estimated using simplified method for “plain-vanilla” stock options as the Company considers the stock options granted to have “plain-vanilla” characteristics.

 

 F-58 

 

 

WEIDAI LTD.

 

NOTES TO THE CONSOLIDATED FINANCIAL STATEMENTS

 

(Amounts in thousands of Renminbi (“RMB”) and US dollar (“US$”),

except for number of shares and per share data)

 

 

Restricted shares activities

 

The following table summarizes the Company’s Restricted Shares activity:

 

   Number of shares   Weighted average
grant-date fair
value
 
Outstanding, December 31, 2017   -    - 
Granted   131,000    134.42 
Vested   (131,000)   134.42 
Converted from stock appreciation rights   1,349,367    216.43 
Forfeited   -    - 
Outstanding, December 31, 2018   1,349,367    216.43 
Granted   71,390    64.47 
Vested   -    - 
Converted from stock appreciation rights   -    - 
Forfeited   (465,604)   133.53 
Outstanding, December 31, 2019   955,153    245.48 

 

The weighted average grant-date fair value of Restricted Shares granted during the year ended December 31, 2019 was RMB245.48 per share, which was derived from the fair value of the underlying ordinary shares. As of December 31, 2019, there was RMB 40,445 (US$5,810) of total unrecognized employee share-based compensation expenses related to unvested Restricted Shares expected to vest which are expected to be recognized over a weighted-average period of 0.8 years. Total unrecognized compensation cost may be adjusted for actual forfeitures occurring in the future.

 

Share-based compensation expenses

 

For the years ended December 31, 2017, 2018 and 2019, the Company allocated share-based compensation expenses as follows:

 

   Year ended December 31, 
   2017   2018   2019 
   RMB   RMB   RMB   US$ 
Origination and servicing   -    46,687    21,279    3,056 
General and administrative   35,223    45,104    35,162    5,051 
Research and development   5,496    14,780    8,355    1,200 
Total   40,719    106,571    64,796    9,307 

 

19.Accumulated other comprehensive loss

 

   RMB 
Balance as of December 31, 2017   - 
Foreign currency transaction adjustments   (2,700)
Balance as of December 31, 2018   (2,700)
Foreign currency transaction adjustments   190 
Balance as of December 31, 2019   (2,510)
Balance as of December 31, 2019 (US$)   (361)

 

There has been no reclassification out of accumulated other comprehensive loss to net loss for all the years presented.

 

 F-59 

 

 

WEIDAI LTD.

 

NOTES TO THE CONSOLIDATED FINANCIAL STATEMENTS

 

(Amounts in thousands of Renminbi (“RMB”) and US dollar (“US$”),

except for number of shares and per share data)

 

 

20.Commitments and contingencies

 

Operating lease commitments

 

The Company leases certain office premises under non-cancelable leases. Rental expenses under operating leases for the years ended December 31, 2017, 2018 and 2019 were RMB107,911, RMB131,808 and RMB105,038 (US$15,088), respectively.

 

Future minimum lease payments under non-cancelable operating leases agreements consist of the following as of December 31, 2019:

 

    RMB   US$ 
2020    59,420    8,534 
2021    19,978    2,870 
2022    4,746    682 
2023    272    39 
2024 and thereafter    354    51 
Total    84,770    12,176 

 

Capital and other commitments

 

Future minimum capital commitments, mainly representing renovating expense under non-cancellable agreements, consist of the following as of December 31, 2019:

 

    RMB   US$ 
2020    13,900    1,997 
2021    11,700    1,681 
2022 and thereafter    1,600    229 
Total    27,200    3,907 

 

21.Preferred shares

 

On September 6, 2015, the Company issued 9,146,250 Series A preferred shares to Hangzhou Handing Yuyou Share Investment Partnership (LLP) at a per share purchase price of RMB1.00 for a total cash consideration of RMB18,293.

 

On October 15, 2015, the Company issued 1,829,250 Series A+ preferred shares to Zhejiang Zheshang Lihai Venture Capital Partnership (LLP) and Hangzhou Lihai Hulian Venture Capital Partnership (LLP) for a total cash consideration of RMB3,658.

 

On March 16, 2016, 3,048,800 ordinary shares which were originally issued for a total cash consideration of RMB6,098 were transferred to Zhejiang Handing Yuyou Financial Service Co., Ltd. and redesignated as Series B preferred shares.

 

On October 24, 2016, the Company issued a total of 3,074,400 Series C redeemable convertible preferred shares to Hefei Zhongan Runxin Fund Investment Partnership (LLP), Suzhou Weixin Zhonghua Investment Partnership (LLP) and Wenjing Yisheng Investment Co.,Ltd. for a total cash consideration of RMB240,000. The Series A, A+, B and C preferred shares issued by the Company are collectively referred to as the “Preferred Shares”.

 

The key terms of the Preferred Shares are summarized below:

 

Dividends

 

No dividends may be declared or paid on the ordinary shares or any future series of preferred shares, unless and until a dividend in like amount is declared and paid on each outstanding preferred share on an as-if converted basis. The holders of preferred shares is entitled to receive on a pari passu basis, when as and if declared at the sole discretion of the Board, but only out of funds that are legally available therefor, cash dividends at the rate or in the amount as the Board considers appropriate.

 

 F-60 

 

 

WEIDAI LTD.

 

NOTES TO THE CONSOLIDATED FINANCIAL STATEMENTS

 

(Amounts in thousands of Renminbi (“RMB”) and US dollar (“US$”),

except for number of shares and per share data)

 

For the year ended December 31, 2017, dividends of RMB8,604 have been declared for the Preferred Shares. For the years ended December 31, 2018 and 2019, no dividend was declared for the Preferred Shares.

 

Voting Rights

 

Each preferred shareholder is entitled to the number of votes equal to the number of ordinary shares into which such holder's preferred shares could be converted. Unless otherwise disclosed elsewhere, preferred shareholders will vote together with ordinary shareholders, and not as a separate class or series, on all matters put before the shareholders.

 

Redemption

 

The Series A, A+ and B preferred shares are not entitled to any redemption rights.

 

The Series C redeemable convertible preferred shares become redeemable at the holders’ option if the following event is triggered:

 

(i)the Company fails to complete a qualified IPO before a specified date;

(ii)the Company fails to be acquired by an listed company with a price or valuation exceeding predetermined valuation amount;

(iii)the occurrence of a material breach of the Transaction Documents by any of the Founder or the Company,

(iv)the Company fails to meet certain performance target in the each year of 2015, 2016 and 2017;

(v)the Company fails to follow the custody requirement as discussed in the investment agreement or misuses the proceeds.

 

In the event that the Series C preferred shares are redeemable, the holders of Series C preferred shares can request the founder to purchase or redeem all or portion of its shares subscribed, or request the founder or the Company to redeem all or portion of its shares subscribed by deregistering the share capital at the following redemption price, which is the greater of:

 

(i)100% of Series C preferred shares original issuance price, together with a 15% annual simple return plus all declared but unpaid dividends, and minus all dividends that have been paid on such shares;

(ii)Series C preferred shares original issuance price x (150%) N;

(iii)Series C shareholders’ portion of the net assets of the VIE (as indicated in the audited financial statements ending on the last month immediately prior to the above redeemable trigger event).

 

N = a fraction, the numerator of which is the number of calendar days between the date the holder of the preferred share acquired the preferred share and the date on which such preferred share is redeemed and the denominator of which is 365.

 

On March 23, 2018, the terms of Series C preferred shares were amended such that upon certain redemption trigger events, the Series C preferred shares will be redeemable by the founder and will no longer be redeemable by the Company. The Series C preferred shares continued to be classified as mezzanine equity subsequent to the modification due to its deemed liquidation rights. However, the previously recorded accretion charge to the redemption value of Series C preferred shares of RMB 120,000 was reversed during the year ended December 31, 2018 due to the amendments to the contingent redemption provisions. The amendment is accounted for as a modification as the fair value of Series C preferred share immediately after the amendment is decreased, but not significantly different from its fair value immediately before the amendment. Modifications that result in a decrease in the fair value are not recognized.

 

 F-61 

 

 

WEIDAI LTD.

 

NOTES TO THE CONSOLIDATED FINANCIAL STATEMENTS

 

(Amounts in thousands of Renminbi (“RMB”) and US dollar (“US$”),

except for number of shares and per share data)

 

 

Liquidation Preference

 

The holders of Series A, A+ and B preferred shares are not entitled to any liquidation preference upon the initial issuance and are subsequently modified to be entitled to liquidation preference upon the issuance of Series C preferred shares on September 9, 2016.

 

In the event of liquidation, dissolution or winding up of the Company or any deemed liquidation event as defined in the preferred shares agreements, the assets of the Company available for distribution will be made as follows:

 

The holders of Series C preferred shares are entitled to receive an amount equal to the greater of (a) original issuance price together with an annual simple return rate of fifteen percent (15%) plus all declared but unpaid dividends and distributions, (b) original issuance price x (150%)N, and (c) the holder of Series C preferred shares’ portion of net assets of the Company, in preference to all other classes or series of Preferred Shares and the ordinary shareholders of the Company.

 

N = a fraction, the numerator of which is the number of calendar days between the date the holder of the preferred share acquired the preferred share and the date on which such preferred share is redeemed and the denominator of which is 365.

 

After distribution or payment in full to the holders of Series C preferred shares, the holders of Series A, A+ and B shares are entitled to receive, on a pari passu basis, for each outstanding share held, an amount equal to each share’s original issuance price plus all declared but unpaid dividends and distributions, in preference to any distribution to the ordinary shareholders of the Company.

 

After payment has been made to the holders of the Preferred Shares in accordance with the above, the remaining assets of the Company available for distribution to shareholders shall be distributed ratably among the holders of ordinary shares and Preferred Shares based on the number of ordinary shares into which such Preferred Shares are convertible.

 

The liquidation preference amount for Series A, A+, B and C preferred shares was RMB18,293, RMB3,658, RMB6,098 and RMB360,000, respectively, as of December 31, 2017. On April 10, 2018, holders of Series A are further modified to be not entitled to liquidation preference. After payment has been made to the holders of Series A+, B and C preferred shares in accordance with the liquidation preference amount mentioned above, the remaining asset of the Company available for distribution to shareholders shall be distributed ratably among the holders of ordinary shares and the Preferred Shares (including Series A preferred shares) based on the number of ordinary shares into which such Preferred Shares are convertible.

 

Conversion rights

 

The Series A, A+ and B preferred shares are not entitled to any conversion rights at their initial issuance. The holders of Series C preferred shares have the rights, at each holder’s discretion, to convert at any time and from time to time, all or any portion of the Series C preferred shares into ordinary shares. The initial conversion ratio shall be on a one for one basis, subject to certain anti-dilution adjustments.

 

Starting April 10, 2018, the holders of the Series A, A+ and B preferred shares are given the rights, at each holder’s discretion, to convert at any time and from time to time, all or any portion of the Series A, A+ and B preferred shares into ordinary share, at the initial conversion ratio on a one for one basis, subject to certain general anti-dilution adjustments.

 

In addition, all the Preferred Shares are automatically converted into ordinary shares on the then-effective conversion price applicable to such Preferred Shares upon the earlier of (i) election in writing by the holders of at least a majority of the then issued and outstanding Preferred Shares with respect to the conversion of the respective class; or (ii) the closing of an initial public offering.

 

Upon completion of the IPO on November 19, 2018, each convertible preferred share automatically converted into Class A ordinary share. 17,098,700 Class A ordinary shares were issued upon conversion of all outstanding convertible preferred shares.

 

 F-62 

 

 

WEIDAI LTD.

 

NOTES TO THE CONSOLIDATED FINANCIAL STATEMENTS

 

(Amounts in thousands of Renminbi (“RMB”) and US dollar (“US$”),

except for number of shares and per share data)

 

 

Accounting for Preferred Shares

 

Series A, A+ and B preferred shares

 

The Series A, A+ and B preferred shares are initially classified as permanent equity and measured at fair value as they are not redeemable. On September 9, 2016, when Series C preferred shares are issued, Series A, A+ and B preferred shareholders are entitled to the liquidation preference upon deemed liquidation events as mentioned above. The Company concluded that the amendment is accounted for as a modification as the fair value of each related series of preferred share immediately after the amendment is not significantly different from its fair value immediately before the amendment. and an RMB861 was recorded as deemed dividend to the preferred shareholders for the year ended December 31, 2016. Upon the modification, Series A, A+ and B preferred shares are classified as mezzanine equity as they may be redeemed at the option of the holders upon a deemed liquidation event.

 

Series C preferred shares

 

The Series C preferred shares are classified as mezzanine equity as they may be redeemed at the option of the holders on or after an agreed upon date outside the sole control of the Company or upon a deemed liquidation event. The Series C preferred shares are initially measured at fair value. The holders of the Series C preferred shares have the ability to convert the instrument into the Company’s ordinary shares. The Company evaluated the embedded conversion option in the Series C preferred shares to determine if there were any embedded derivatives requiring bifurcation and to determine if there were any beneficial conversion features. There were no embedded derivatives that are required to be bifurcated. The conversion option of the Series C preferred shares is not bifurcated because the conversion option is clearly and closely related to the host equity instrument. The contingent redemption options of the Series C preferred shares are not bifurcated because the underlying ordinary shares are not settable since they were neither publicly traded nor readily convertible into cash.

 

Beneficial conversion features (“BCF”) exist when the conversion price of the Preferred Shares is lower than the fair value of the ordinary shares at the commitment date, which is the issuance date of the respective series of Preferred Shares. When a BCF exists as of the commitment date, its intrinsic value is bifurcated from the carrying value of the Preferred Shares as a contribution to additional paid-in capital. On the commitment date of the Series C preferred shares, the most favorable conversion price used to measure the beneficial conversion feature was RMB79.12. No beneficial conversion feature was recognized for the Series C preferred shares as the fair value per ordinary share at the commitment date were RMB73.80, which was less than the most favorable conversion price. The Company determined the fair value of ordinary shares with the assistance of an independent third party valuation firm.

 

The contingent conversion price adjustment is accounted for as a contingent BCF. In accordance with ASC paragraph 470-20-35-1, changes to the conversion terms that would be triggered by future events not controlled by the issuer should be accounted as contingent conversions, and the intrinsic value of such conversion options would not be recognized until and unless a triggering event occurred. No contingent BCF was recognized for any of the Preferred Shares for the years ended December 31, 2016 and 2017.

 

The Company concluded that the Series C preferred shares are not currently redeemable, but it is probable that they will become redeemable. The Company chose to recognize changes in the redemption value immediately as they occur and adjusted the carrying value of the Series C preferred shares to equal the redemption value at the end of each reporting period.

 

The Series A, A+ and B preferred shares amendments are accounted for as modifications as the fair values of Series A, A+, and B preferred shares immediately after the amendment are not significantly different from their respective fair values immediately before the amendment. The Series A preferred shares fair value decreased subsequent to the amendment and are not recognized. The incremental fair values of Series A+ and B preferred shares as a result of the modification are immaterial.

 

 

 F-63 

 

 

WEIDAI LTD.

 

NOTES TO THE CONSOLIDATED FINANCIAL STATEMENTS

 

(Amounts in thousands of Renminbi (“RMB”) and US dollar (“US$”),

except for number of shares and per share data)

 

 

The movement in the carrying value of the Preferred Shares is as follows:

 

   Series A   Series A+   Series B   Series C   Total 
   RMB   RMB   RMB   RMB   RMB 
Balance as of December 31, 2016   18,856    3,771    6,283    360,000    388,910 
Dividends declared   4,602    920    1,534    1,548    8,604 
Dividends paid   (4,602)   (920)   (1,534)   (1,548)   (8,604)
Balance as of December 31, 2017   18,856    3,771    6,283    360,000    388,910 
Reversal of accretion on Series C preferred shares   -    -    -    (120,000)   (120,000)
Conversion of preferred shares to Class A ordinary shares   (18,856)   (3,771)   (6,283)   (240,000)   (268,910)
Balance as of December 31, 2018 and 2019   -    -    -    -    - 
Balance as of December 31, 2018 and 2019 (US$)   -    -    -    -    - 

 

22.Business combination

 

On May 24, 2018, the Company acquired a 70% equity interest in Hangzhou Jiujiu Financial Information Services Limited for the expansion into the finance information service market for a total consideration of RMB4,500. The acquisition was accounted for as a business combination. Goodwill representing the expected synergies from the acquisition of RMB3,067 was recognized which is not tax deductible.

 

On June 6, 2018, the Company acquired 100% equity interest in Rymo Technology Industry Limited which is engaged in the provision of collateral registration services through its wholly owned subsidiary, Shanghai Zaohui Finance Lease Co., Ltd., for nil consideration. The acquisition was accounted for as a business combination. Goodwill representing the expected synergies from the acquisition of RMB2,745 was recognized which is not tax deductible.

 

The results of the purchase price allocation for these acquisitions are based on valuation determined by the Company with the assistance of an independent third party valuation firm. The purchase price allocations and the actual results of operations after the acquisition date have not been presented because the effects of these acquisitions were insignificant, either individually or in aggregate.

 

The changes in carrying amount of goodwill for each reporting unit from December 31, 2017 to December 31, 2019 were as follow:

 

   RMB 
Balance at December 31, 2017  - 
Goodwill acquired   5,812 
Goodwill disposed   - 
Balance at December 31, 2018   5,812 
Goodwill acquired   - 
Goodwill disposed   - 
Balance at December 31, 2019   5,812 
Balance at December 31, 2019 (US$)   835 

 

No impairment losses were recognized for the years ended December 31, 2017, 2018 and 2019.

 

 F-64 

 

 

WEIDAI LTD.

 

NOTES TO THE CONSOLIDATED FINANCIAL STATEMENTS

 

(Amounts in thousands of Renminbi (“RMB”) and US dollar (“US$”),

except for number of shares and per share data)

 

 

23.Restricted net assets

 

The Company’s ability to pay dividends is primarily dependent on the Company receiving distributions of funds from its subsidiaries. Relevant PRC statutory laws and regulations permit payments of dividends by the VIE and subsidiaries of the VIE incorporated in PRC only out of their retained earnings, if any, as determined in accordance with PRC accounting standards and regulations. The consolidated results of operations reflected in the consolidated financial statements prepared in accordance with U.S. GAAP differ from those reflected in the statutory financial statements of the Company’s subsidiaries.

 

Under PRC law, the Company’s subsidiaries, VIE and the subsidiaries of the VIE located in the PRC (collectively referred as the “PRC entities”) are required to provide for certain statutory reserves, namely a general reserve, an enterprise expansion fund and a staff welfare and bonus fund. The PRC entities are required to allocate at least 10% of their after tax profits on an individual company basis as determined under PRC accounting standards to the statutory reserve and has the right to discontinue allocations to the statutory reserve if such reserve has reached 50% of registered capital on an individual company basis. In addition, the registered capital of the PRC entities is also restricted.

 

Appropriations to the enterprise expansion fund and staff welfare and bonus fund are at the discretion of the Board of Directors of the subsidiary. The PRC entities are also subject to similar statutory reserve requirements. These reserves can only be used for specific purposes and are not transferable to the Company in the form of loans, advances or cash dividends. Amounts restricted that include paid-in capital and statutory reserve funds, as determined pursuant to PRC GAAP, were RMB246,236 and RMB263,182 (US$37,804) as of December 31, 2018 and 2019, respectively.

 

24.Subsequent events

 

Change of Business Operations

 

The Company used to attract funds from online investors, however, in response to the increasingly stringent regulatory environment and deteriorating macro-economy, the Company has ceased to offer new investment products to online investors since February 2020. The Company has informed all online investors on the platforms and will repay principals to existing online investors when the loans they fund through previous Investment Programs are due. The Company plan to use institutional funding partners as the primary funding source and will also facilitate loans through the Company’s micro credit company. Investors of existing Investment Programs now directly fund the underlying loans they used to invest in through Investment Programs and will receive repayment of principle when the respective underlying loans become due.

 

In April 2020, in an effort to reinforce investor confidence and accelerate their investment return, the Company entered into collaboration agreements with certain companies providing asset management services, pursuant to which the online investors have the option to transfer their rights to loans on platform to third-party companies and receive repayment of principals and interests in 18 months. The Company facilitates this arrangement by providing financial guarantees to the online investors who opt to participate in the arrangement. The Company has informed all online investors on the platforms of these changes in the business. For all online investors who do not opt for the asset management arrangement as of June 9, 2020, the Company may offer supplement arrangement for repayment.

 

On May 31, 2020, the Company released an announcement and plan that the Company will exit online lending information intermediary industry and cease to provide online lending information intermediary service before June 30, 2020. The Company is still evaluating the financial effect of the business change.

 

Impact of COVID-19

 

The recent outbreak of a novel strain of coronavirus, now named as COVID-19, has spread rapidly to many parts of the world. The epidemic has resulted in quarantines, travel restrictions, and the temporary closure of stores and facilities in China and many other countries for the past few months. In March 2020, the World Health Organization declared the COVID-19 a pandemic.

 

In response to this pandemic since December 2019, China and many other countries and jurisdictions have taken, and may adopt additional, restrictive measures to contain the virus’ spread, such as quarantines, travel restrictions and home office policies. These measures could slow down the development of the Chinese economy and adversely affect the global economic conditions and financial markets.

 

 F-65 

 

 

WEIDAI LTD.

 

NOTES TO THE CONSOLIDATED FINANCIAL STATEMENTS

 

(Amounts in thousands of Renminbi (“RMB”) and US dollar (“US$”),

except for number of shares and per share data)

 

 

Substantially all of the Company’s operations are located in China and all of the revenue is sourced from China. Since the outbreak of COVID-19, the Company’s business and operation have been adversely affected. The collection activities are significantly limited due to various temporary measures. Moreover, most of the borrowers are small and micro enterprise owners, who are vulnerable in face of economic depression. If their financial situation deteriorate, it may be difficult for them to repay loans on the platform. In addition, the Company’s business operations could be disrupted if any of employees is suspected of contacting the COVID-19 or any other epidemic disease, since the Company’s employees could be quarantined and/or the Company’s offices be shut down for disinfection.

 

 

The COVID-19 has caused wide-ranging business disruptions and traffic declines in China in the first quarter of 2020, and with its growing spread globally, the virus’ adverse impact on business activities and travels is expected to continue in the foreseeable future. The extent to which the COVID-19 impacts the Company’s results remains uncertain, and the Company is closely monitoring its impact.

 

 

 F-66